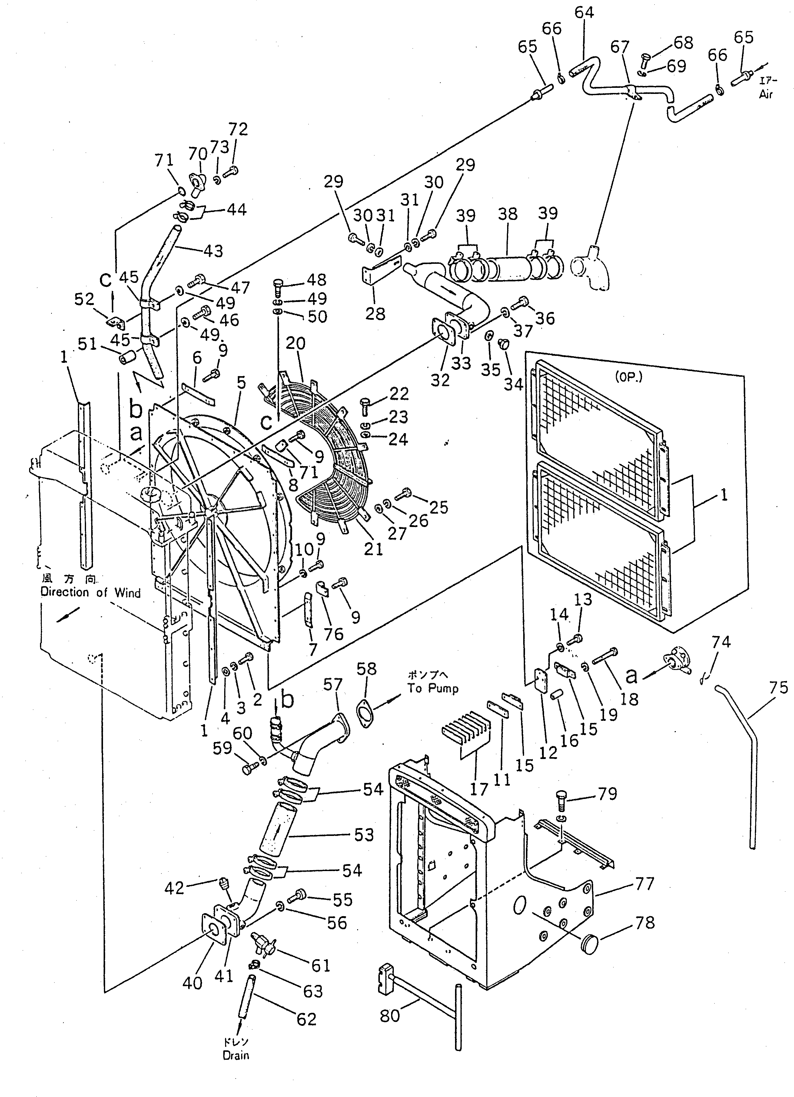
Запчасти Komatsu D155S-1 ЗАЩИТА РАДИАТОРА AND СИСТЕМА ОХЛАЖДЕНИЯ(ДЛЯ РЕВЕРСИВНЫЙ ВЕНТИЛЯТОР УСТАНОВКА) ОПЦИОННЫЕ КОМПОНЕНТЫ

Схема запчастей Komatsu D155S-1 - ЗАЩИТА РАДИАТОРА AND СИСТЕМА ОХЛАЖДЕНИЯ                (ДЛЯ РЕВЕРСИВНЫЙ ВЕНТИЛЯТОР УСТАНОВКА) ОПЦИОННЫЕ КОМПОНЕНТЫ
FIT
1:1
100%

Артикул

Название

Примечание

Количество

1

178-03-11150

GUARD

SN: 1001-UP

2шт.

|1

178-03-18110

PROTECTOR (OP)

SN: 1001-UP

2шт.

2

01010-31030

BOLT

SN: 1001-UP

12шт.

3

01602-01030

WASHER,SPRING

SN: 1001-UP

12шт.

4

01643-31032

WASHER

SN: 1001-UP

12шт.

5

178-03-11163

GUARD

SN: 1001-UP

1шт.

6

155-03-11261

WASHER,LOCK

SN: 1001-UP

1шт.

7

175-03-31440

WASHER,LOCK

SN: 1001-UP

4шт.

8

175-03-31451

WASHER,LOCK

SN: 1001-UP

2шт.

9

01010-31250

BOLT

SN: 1001-UP

23шт.

10

01602-01236

WASHER,SPRING

SN: 1001-UP

7шт.

11

178-03-11570

SPACER

SN: 1001-UP

2шт.

12

178-03-11580

PLATE

SN: 1001-UP

2шт.

13

01010-31235

BOLT

SN: 1001-UP

6шт.

14

01602-01236

WASHER,SPRING

SN: 1001-UP

6шт.

15

170-03-13120

CUSHION

SN: 1001-UP

4шт.

16

170-03-13130

SPACER

SN: 1001-UP

4шт.

17

195-03-00060

SHIM ASS'Y

SN: 1001-UP

2шт.

|17

0

SHIM¤ 0.5MM

SN: 1001-UP

2шт.

|17

0

SHIM¤ 1.0MM

SN: 1001-UP

5шт.

18

01010-31275

BOLT

SN: 1001-UP

4шт.

19

01602-01236

WASHER,SPRING

SN: 1001-UP

4шт.

20

175-03-31287

NET

SN: 1001-UP

1шт.

21

175-03-31295

NET

SN: 1001-UP

1шт.

22

01010-31235

BOLT

SN: 1001-UP

2шт.

23

01602-01236

WASHER,SPRING

SN: 1001-UP

2шт.

24

01643-31232

WASHER

SN: 1001-UP

2шт.

25

01010-31235

BOLT

SN: 1001-UP

8шт.

26

01602-01236

WASHER,SPRING

SN: 1001-UP

8шт.

27

01643-31232

WASHER

SN: 1001-UP

8шт.

28

175-03-32180

BRACKET

SN: 1001-UP

1шт.

29

01010-31630

BOLT

SN: 1001-UP

3шт.

30

01602-01648

WASHER,SPRING

SN: 1001-UP

3шт.

31

01643-01645

WASHER

SN: 1001-UP

3шт.

32

195-03-11340

GASKET

SN: 1001-UP

1шт.

|33

175-03-00241

INLET TUBE ASS'Y

SN: 1001-UP

1шт.

33

0

TUBE

SN: 1001-UP

1шт.

34

07040-11612

PLUG

SN: 1001-UP

1шт.

35

07005-01612

GASKET

SN: 1001-UP

1шт.

36

01010-31230

BOLT

SN: 1001-UP

4шт.

37

01602-01236

WASHER,SPRING

SN: 1001-UP

4шт.

38

175-03-31511

HOSE

SN: 1001-UP

1шт.

39

20D-09-11130

CLAMP

SN: 1225-UP

4шт.

|39

0

CLAMP

SN: 1001-1224

4шт.

40

178-03-11540

GASKET

SN: 1001-UP

1шт.

41

178-03-11211

TUBE

SN: 1001-UP

1шт.

42

07042-00617

PLUG

SN: 1001-UP

1шт.

43

175-03-31523

HOSE

SN: 1001-UP

1шт.

44

07280-03826

CLAMP

SN: 1001-UP

4шт.

45

195-03-11511

CLIP

SN: 1001-UP

2шт.

46

01011-31260

BOLT

SN: 1001-UP

1шт.

47

01010-31225

BOLT

SN: 1001-UP

1шт.

48

01010-31235

BOLT

SN: 1001-UP

1шт.

49

01602-01236

WASHER,SPRING

SN: 1001-UP

3шт.

50

01640-21223

WASHER

SN: 1001-UP

1шт.

51

178-03-11610

COLLAR

SN: 1001-UP

1шт.

52

178-03-11590

BRACKET

SN: 1001-UP

1шт.

53

175-03-31511

HOSE

SN: 1001-UP

1шт.

54

20D-09-11130

CLAMP

SN: 1225-UP

4шт.

|54

0

CLAMP

SN: 1001-1224

4шт.

55

01010-31235

BOLT

SN: 1001-UP

4шт.

56

01602-01236

WASHER,SPRING

SN: 1001-UP

4шт.

57

178-03-11412

TUBE

SN: 1001-UP

1шт.

58

175-03-32130

GASKET

SN: 1001-UP

1шт.

59

01010-31240

BOLT

SN: 1001-UP

2шт.

60

01602-01236

WASHER,SPRING

SN: 1001-UP

2шт.

61

195-03-13241

VALVE

SN: 1001-UP

1шт.

62

175-03-31530

HOSE

SN: 1001-UP

1шт.

63

04059-01016

WIRE

SN: 1001-UP

1шт.

64

175-03-32161

HOSE

SN: 1001-UP

1шт.

65

195-03-11530

NIPPLE

SN: 1001-UP

2шт.

66

195-03-13250

CLAMP

SN: 1001-UP

2шт.

67

195-03-11580

CLIP

SN: 1001-UP

1шт.

68

01010-31020

BOLT

SN: 1001-UP

1шт.

69

01602-01030

WASHER,SPRING

SN: 1001-UP

1шт.

70

195-03-11992

TUBE

SN: 1001-UP

1шт.

71

195-03-11980

GASKET

SN: 1001-UP

1шт.

72

01010-31030

BOLT

SN: 1001-UP

2шт.

73

01602-01030

WASHER,SPRING

SN: 1001-UP

2шт.

74

04059-01010

WIRE,LOCK

SN: 1001-UP

1шт.

75

154-03-11510

TUBE

SN: 1001-UP

1шт.

76

195-03-11690

CLIP

SN: 1001-UP

3шт.

77

178-54-11112

GUARD

SN: 1001-UP

1шт.

78

09415-05022

CAP

SN: 1001-UP

1шт.

79

01010-31020

BOLT

SN: 1001-UP

4шт.

80

175-900-3910

LEVER ASS'Y

SN: 1001-UP

1шт.

Выбрано товаров: 86