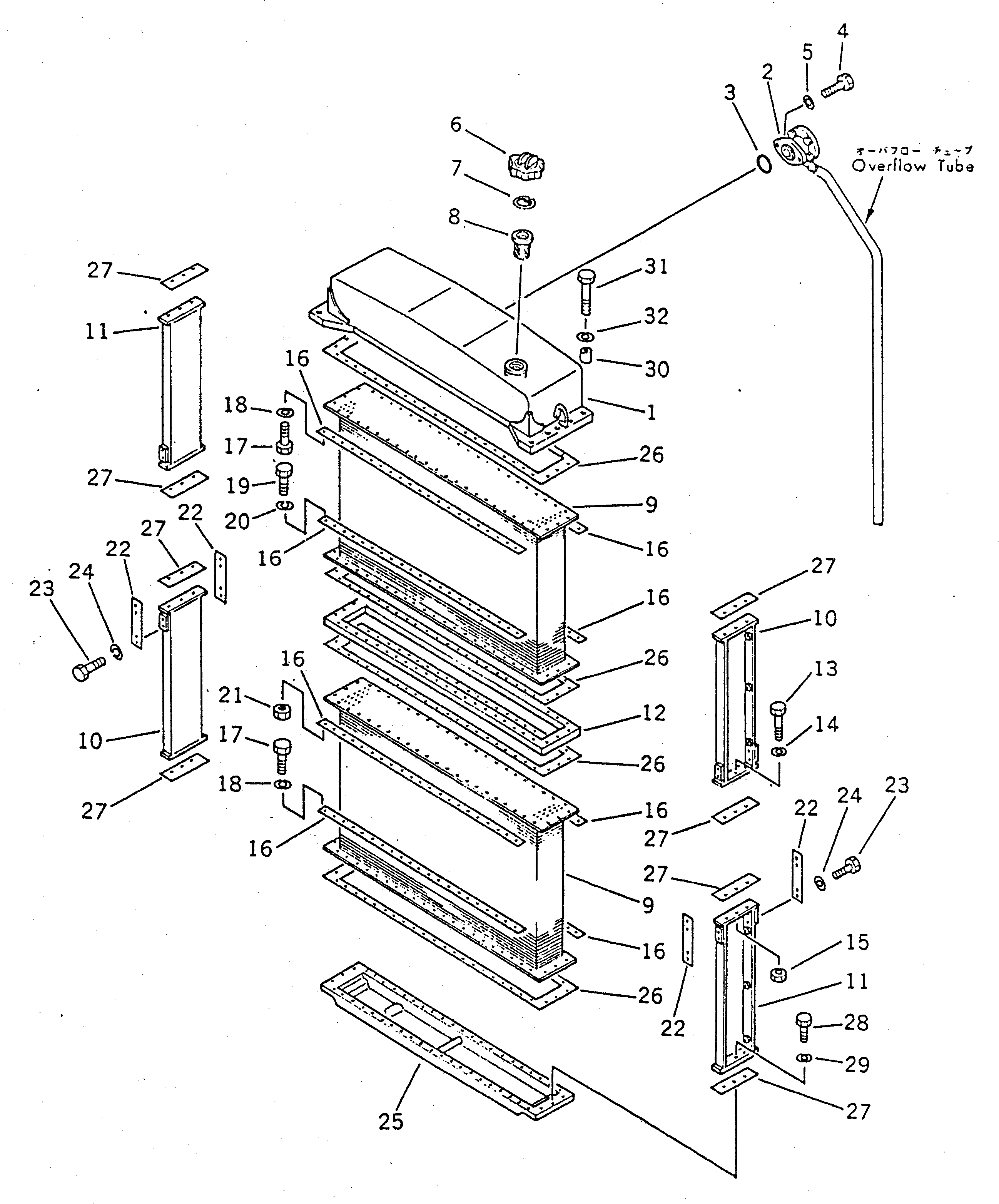
Запчасти Komatsu D155S-1 РАДИАТОР (ДЛЯ РЕВЕРСИВНЫЙ ВЕНТИЛЯТОР УСТАНОВКА) ОПЦИОННЫЕ КОМПОНЕНТЫ

Схема запчастей Komatsu D155S-1 - РАДИАТОР (ДЛЯ РЕВЕРСИВНЫЙ ВЕНТИЛЯТОР УСТАНОВКА) ОПЦИОННЫЕ КОМПОНЕНТЫ
FIT
1:1
100%

Артикул

Название

Примечание

Количество

|1

178-03-00011

RADIATOR ASS'Y

SN: 1001-UP

1шт.

|1

178-03-00021

UPPER TANK ASS'Y

SN: 1001-UP

1шт.

1

178-03-11111

TANK,UPPER

SN: 1001-UP

1шт.

2

154-03-11682

VALVE

SN: 1001-UP

1шт.

3

07000-03045

O-RING

SN: 1001-UP

1шт.

4

01010-31025

BOLT

SN: 1001-UP

2шт.

5

01602-01030

WASHER,SPRING

SN: 1001-UP

2шт.

6

07053-10000

CAP

SN: 1001-UP

1шт.

7

07057-03271

RING,SNAP

SN: 1001-UP

1шт.

8

07056-00048

STRAINER

SN: 1001-UP

1шт.

9

178-03-11310

CORE

SN: 1001-UP

2шт.

10

178-03-11320

SUPPORT

SN: 1001-UP

2шт.

11

178-03-11330

SUPPORT

SN: 1001-UP

2шт.

12

178-03-11340

SPACER

SN: 1001-UP

1шт.

13

01010-31275

BOLT

SN: 1001-UP

6шт.

14

01602-01236

WASHER,SPRING

SN: 1001-UP

6шт.

15

01580-01210

NUT

SN: 1001-UP

6шт.

16

175-03-31180

PLATE

SN: 1001-UP

8шт.

17

01010-31030

BOLT

SN: 1001-UP

84шт.

18

01602-01030

WASHER,SPRING

SN: 1001-UP

84шт.

19

01010-31060

BOLT

SN: 1001-UP

42шт.

20

01602-01030

WASHER,SPRING

SN: 1001-UP

42шт.

21

01580-01008

NUT

SN: 1001-UP

42шт.

22

178-03-11350

PLATE

SN: 1001-UP

4шт.

23

01010-31230

BOLT

SN: 1001-UP

16шт.

24

01602-01236

WASHER,SPRING

SN: 1001-UP

16шт.

25

178-03-11530

TANK

SN: 1001-UP

1шт.

26

175-03-31150

GASKET

SN: 1001-UP

4шт.

27

178-03-00190

SHIM ASS'Y

SN: 1001-UP

8шт.

|27

0

SHIM¤ 0.5MM

SN: 1001-UP

2шт.

|27

0

SHIM¤ 1.0MM

SN: 1001-UP

3шт.

28

01010-31235

BOLT

SN: 1001-UP

12шт.

29

01602-01236

WASHER,SPRING

SN: 1001-UP

12шт.

30

178-03-11290

COLLAR

SN: 1001-UP

4шт.

31

01011-31820

BOLT

SN: 1001-UP

4шт.

32

01602-01854

WASHER,SPRING

SN: 1001-UP

4шт.

Выбрано товаров: 36