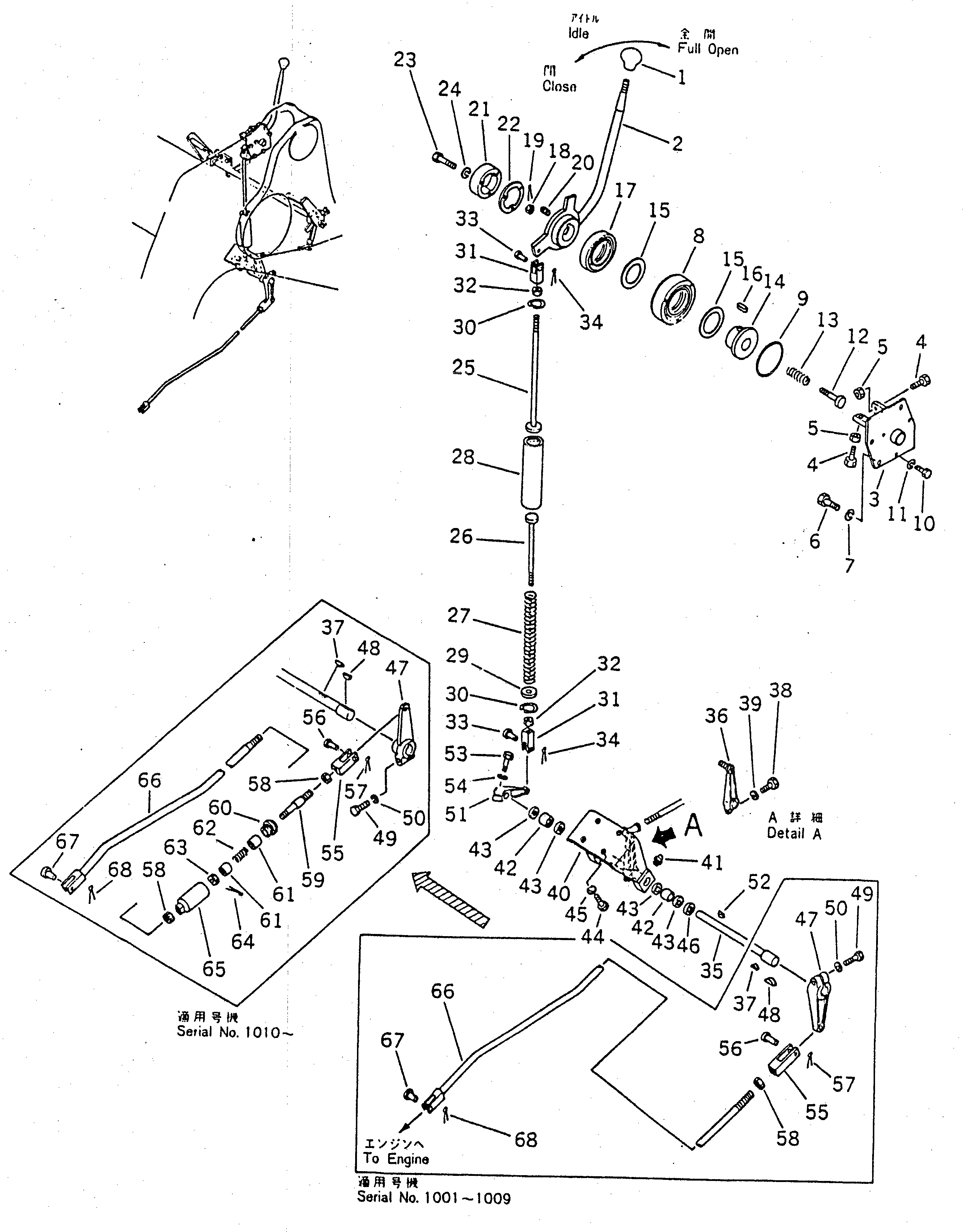
Запчасти Komatsu D155S-1 АКСЕЛЕРАТОР РЫЧАГ КОМПОНЕНТЫ ДВИГАТЕЛЯ И ЭЛЕКТРИКА

Схема запчастей Komatsu D155S-1 - АКСЕЛЕРАТОР РЫЧАГ КОМПОНЕНТЫ ДВИГАТЕЛЯ И ЭЛЕКТРИКА
FIT
1:1
100%

Артикул

Название

Примечание

Количество

1

09304-01250

KNOB

SN: 1001-UP

1шт.

2

178-43-13110

LEVER

SN: 1001-UP

1шт.

3

178-43-13120

BRACKET

SN: 1001-UP

1шт.

4

01016-30830

BOLT

SN: 1001-UP

2шт.

5

01580-00806

NUT

SN: 1001-UP

2шт.

6

01010-31230

BOLT

SN: 1001-UP

3шт.

7

01602-01236

WASHER,SPRING

SN: 1001-UP

3шт.

8

175-43-34130

CAGE

SN: 1001-UP

1шт.

9

07000-02085

O-RING

SN: 1001-UP

1шт.

10

01010-30616

BOLT

SN: 1001-UP

3шт.

11

01602-00619

WASHER,SPRING

SN: 1001-UP

3шт.

12

175-43-34160

BOLT

SN: 1001-UP

1шт.

13

178-43-13130

SPRING

SN: 1001-UP

1шт.

14

131-43-28130

CAP

SN: 1001-UP

1шт.

15

110-43-15171

PLATE

SN: 1001-UP

2шт.

16

04000-00512

KEY

SN: 1001-UP

1шт.

17

07012-00075

SEAL,OIL

SN: 1001-UP

1шт.

18

01592-01012

NUT

SN: 1001-UP

1шт.

19

04050-02018

PIN,COTTER

SN: 1001-UP

1шт.

20

07042-00108

PLUG

SN: 1001-UP

1шт.

21

175-43-34170

COVER

SN: 1001-UP

1шт.

22

175-43-34180

GASKET

SN: 1001-UP

1шт.

23

01010-30635

BOLT

SN: 1001-UP

3шт.

24

01602-00619

WASHER,SPRING

SN: 1001-UP

3шт.

25

178-43-13142

ROD

SN: 1010-UP

1шт.

|25

178-43-13141

ROD

SN: 1001-1009

1шт.

26

178-43-13160

ROD

SN: 1001-UP

1шт.

27

178-43-13151

SPRING

SN: 1001-UP

1шт.

28

135-43-15810

GUIDE

SN: 1001-UP

1шт.

29

135-43-15830

PLATE

SN: 1001-UP

1шт.

30

04065-03815

RING,SNAP

SN: 1001-UP

2шт.

31

04210-01040

YOKE

SN: 1001-UP

2шт.

32

01582-01008

NUT

SN: 1001-UP

2шт.

33

04205-01028

PIN

SN: 1001-UP

2шт.

34

04050-03015

PIN,COTTER

SN: 1001-UP

2шт.

35

178-43-13172

SHAFT

SN: 1010-UP

1шт.

|35

178-43-13171

SHAFT

SN: 1001-1009

1шт.

36

178-43-13350

LEVER

SN: 1001-UP

1шт.

37

04010-00519

KEY

SN: 1001-UP

1шт.

38

01010-30830

BOLT

SN: 1001-UP

1шт.

39

01602-00825

WASHER,SPRING

SN: 1001-UP

1шт.

|40

178-43-00031

BRACKET ASS'Y

SN: 1010-UP

1шт.

|40

178-43-00030

BRACKET ASS'Y

SN: 1001-1009

1шт.

40

0

BRACKET

SN: 1010-UP

1шт.

|40

0

BRACKET

SN: 1001-1009

1шт.

41

07020-00000

FITTING,GREASE

SN: 1001-UP

2шт.

42

06120-02016

BEARING

SN: 1001-UP

2шт.

43

06122-02004

SEAL

SN: 1001-UP

4шт.

44

01010-31230

BOLT

SN: 1001-UP

4шт.

45

01602-01236

WASHER,SPRING

SN: 1001-UP

4шт.

46

01643-02045

WASHER

SN: 1001-UP

1шт.

47

178-43-13370

LEVER

SN: 1010-UP

1шт.

|47

04240-12211

LEVER

SN: 1001-1009

1шт.

48

04010-00732

KEY

SN: 1001-UP

1шт.

49

01010-31245

BOLT

SN: 1001-UP

1шт.

50

01602-01236

WASHER,SPRING

SN: 1001-UP

1шт.

51

04240-10203

LEVER

SN: 1001-UP

1шт.

52

04010-00519

KEY

SN: 1001-UP

1шт.

53

01010-30830

BOLT

SN: 1001-UP

1шт.

54

01602-00825

WASHER,SPRING

SN: 1001-UP

1шт.

55

04211-01055

YOKE

SN: 1010-UP

1шт.

|55

04211-01266

YOKE

SN: 1001-1009

1шт.

56

04205-01035

PIN

SN: 1010-UP

1шт.

|56

04205-01235

PIN

SN: 1001-1009

1шт.

57

04050-03015

PIN,COTTER

SN: 1010-UP

1шт.

|57

04050-03020

PIN,COTTER

SN: 1001-1009

1шт.

58

01582-01008

NUT

SN: 1010-UP

2шт.

|58

01582-01210

NUT

SN: 1001-1009

1шт.

|59

175-43-34500

ABSORBER ASS'Y

SN: 1010-UP

1шт.

59

175-43-34520

ROD

SN: 1010-UP

1шт.

60

09290-10020

BOLT

SN: 1010-UP

1шт.

61

09290-10040

LINER

SN: 1010-UP

2шт.

62

09290-10050

SPRING

SN: 1010-UP

1шт.

63

01590-00809

NUT

SN: 1010-UP

1шт.

64

04050-02015

PIN,COTTER

SN: 1010-UP

1шт.

65

175-43-34510

GUIDE

SN: 1010-UP

1шт.

66

178-43-13181

ROD

SN: 1010-UP

1шт.

|66

178-43-13180

ROD

SN: 1001-1009

1шт.

67

04205-00822

PIN

SN: 1001-UP

1шт.

68

04050-02012

PIN,COTTER

SN: 1001-UP

1шт.

Выбрано товаров: 80