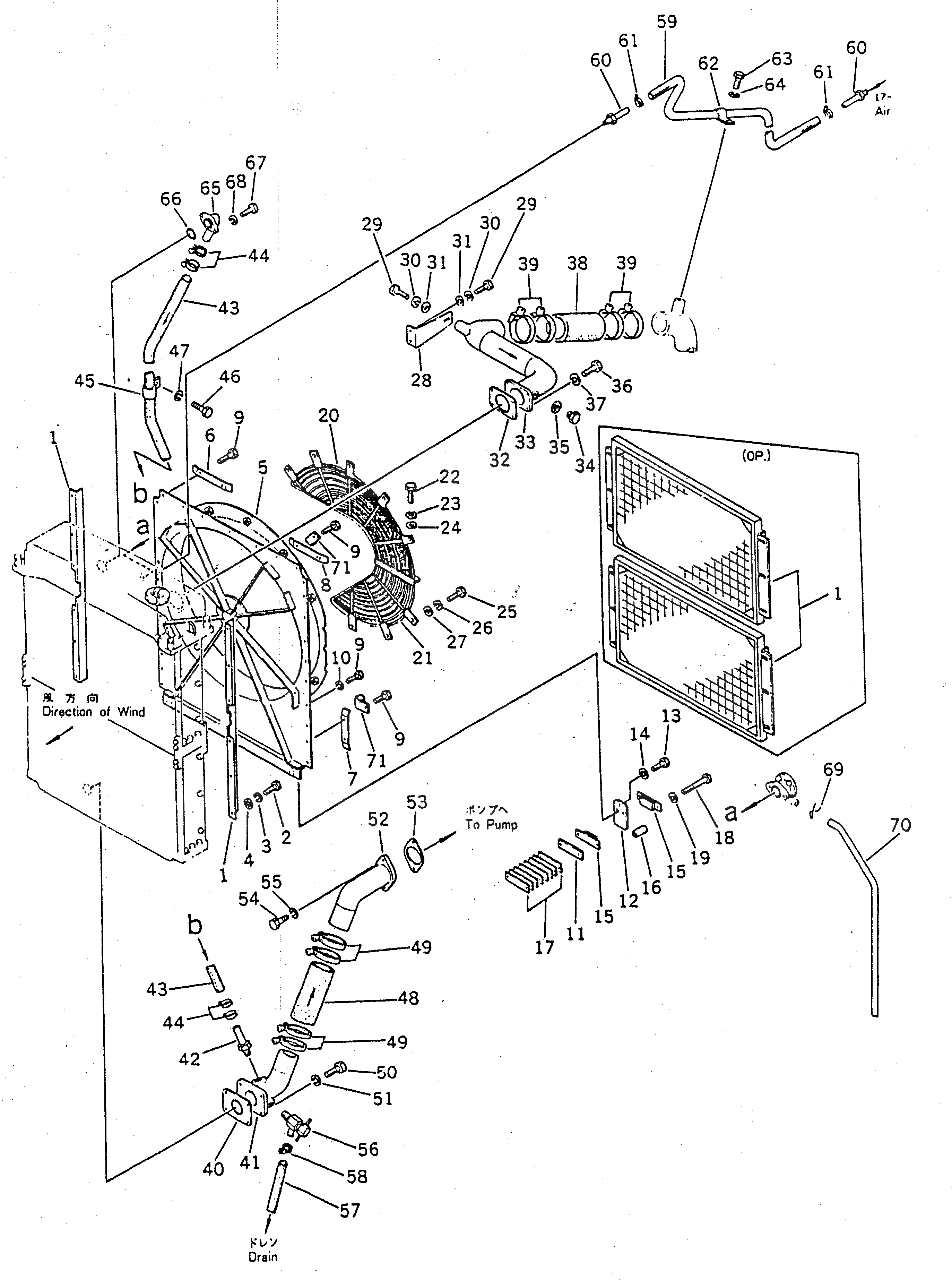
Запчасти Komatsu D155S-1 СИСТЕМА ОХЛАЖДЕНИЯ КОМПОНЕНТЫ ДВИГАТЕЛЯ И ЭЛЕКТРИКА

Схема запчастей Komatsu D155S-1 - СИСТЕМА ОХЛАЖДЕНИЯ КОМПОНЕНТЫ ДВИГАТЕЛЯ И ЭЛЕКТРИКА
FIT
1:1
100%

Артикул

Название

Примечание

Количество

1

178-03-11150

GUARD,RADIATOR

SN: 1001-UP

2шт.

|1

178-03-18110

PROTECTOR (OP)

SN: 1001-UP

2шт.

2

01010-31030

BOLT

SN: 1001-UP

12шт.

3

01602-01030

WASHER,SPRING

SN: 1001-UP

12шт.

4

01643-31032

WASHER

SN: 1001-UP

12шт.

5

178-03-11162

GUARD,RADIATOR

SN: 1057-UP

1шт.

|5

0

GUARD,RADIATOR

SN: 1001-1056

1шт.

6

155-03-11261

WASHER,LOCK

SN: 1001-UP

1шт.

7

175-03-31440

WASHER,LOCK

SN: 1001-UP

4шт.

8

175-03-31451

WASHER,LOCK

SN: 1001-UP

2шт.

9

01010-31230

BOLT

SN: 1001-UP

27шт.

10

01602-01236

WASHER,SPRING

SN: 1001-UP

13шт.

11

178-03-11570

SPACER

SN: 1001-UP

2шт.

12

178-03-11580

PLATE

SN: 1010-UP

2шт.

|12

0

PLATE

SN: 1001-1009

2шт.

13

01010-31235

BOLT

SN: 1001-UP

6шт.

14

01602-01236

WASHER,SPRING

SN: 1001-UP

6шт.

15

170-03-13120

CUSHION

SN: 1001-UP

4шт.

16

170-03-13130

SPACER

SN: 1001-UP

4шт.

17

195-03-00060

SHIM ASS'Y

SN: 1001-UP

2шт.

|17

0

SHIM¤ 0.5MM

SN: 1001-UP

2шт.

|17

0

SHIM¤ 1.0MM

SN: 1001-UP

5шт.

18

01010-31275

BOLT

SN: 1001-UP

4шт.

19

01602-01236

WASHER,SPRING

SN: 1001-UP

4шт.

20

178-03-11171

NET,WIRE

SN: 1007-UP

1шт.

|20

0

NET,WIRE

SN: 1001-1006

1шт.

21

178-03-11181

NET,WIRE

SN: 1007-UP

1шт.

|21

0

NET,WIRE

SN: 1001-1006

1шт.

22

01010-31230

BOLT

SN: 1001-UP

2шт.

23

01602-01236

WASHER,SPRING

SN: 1001-UP

2шт.

24

01643-31232

WASHER

SN: 1001-UP

2шт.

25

01010-31230

BOLT

SN: 1001-UP

8шт.

26

01602-01236

WASHER,SPRING

SN: 1001-UP

8шт.

27

01643-31232

WASHER

SN: 1001-UP

8шт.

28

175-03-32180

BRACKET

SN: 1001-UP

1шт.

29

01010-31630

BOLT

SN: 1001-UP

3шт.

30

01602-01648

WASHER,SPRING

SN: 1001-UP

3шт.

31

01643-01645

WASHER

SN: 1001-UP

3шт.

32

195-03-11340

GASKET

SN: 1001-UP

1шт.

|33

175-03-00241

INLET TUBE ASS'Y

SN: 1001-UP

1шт.

33

175-03-32113

TUBE,INLET

SN: 1001-UP

1шт.

34

07040-11612

PLUG

SN: 1001-UP

1шт.

35

07005-01612

GASKET

SN: 1001-UP

1шт.

36

01010-31230

BOLT

SN: 1001-UP

4шт.

37

01602-01236

WASHER,SPRING

SN: 1001-UP

4шт.

38

175-03-31511

HOSE

SN: 1001-UP

1шт.

39

07281-01029

CLAMP

SN: 1001-UP

4шт.

40

178-03-11540

GASKET

SN: 1001-UP

1шт.

41

178-03-11211

TUBE,OUTLET

SN: 1001-UP

1шт.

42

195-03-11521

NIPPLE

SN: 1001-UP

1шт.

43

178-03-11550

HOSE

SN: 1007-UP

1шт.

|43

0

HOSE

SN: 1001-1006

1шт.

|$$53

(178-03-11550(1){07280-03826(4)¤}

-1шт.

|$$54

195-03-1151(1))

-1шт.

44

07280-03826

CLAMP

SN: 1007-UP

4шт.

|44

07280-04126

CLAMP

SN: 1001-1006

4шт.

45

195-03-11511

CLIP

SN: 1007-UP

1шт.

|45

195-03-11510

CLIP

SN: 1001-1006

1шт.

46

01010-31220

BOLT

SN: 1001-UP

1шт.

47

01602-01236

WASHER,SPRING

SN: 1001-UP

1шт.

48

175-03-31511

HOSE

SN: 1001-UP

1шт.

49

07281-01029

CLAMP

SN: 1001-UP

4шт.

50

01010-31235

BOLT

SN: 1001-UP

4шт.

51

01602-01236

WASHER,SPRING

SN: 1001-UP

4шт.

52

178-03-11411

TUBE,OUTLET

SN: 1007-UP

1шт.

|52

0

TUBE,OUTLET

SN: 1001-1006

1шт.

53

175-03-32130

GASKET

SN: 1001-UP

1шт.

54

01010-31240

BOLT

SN: 1001-UP

2шт.

55

01602-01236

WASHER,SPRING

SN: 1001-UP

2шт.

56

195-03-13241

VALVE,DRAIN

SN: 1001-UP

1шт.

57

175-03-31530

HOSE,DRAIN

SN: 1001-UP

1шт.

|57

175-803-3150

HOSE,DRAIN (FOR SLAG HANDLING)

SN: 1001-UP

1шт.

58

04059-01016

WIRE,LOCK

SN: 1001-UP

1шт.

59

195-03-11912

HOSE

SN: 1001-UP

1шт.

60

195-03-11530

NIPPLE

SN: 1001-UP

2шт.

61

195-03-13250

CLAMP

SN: 1001-UP

2шт.

62

195-03-11580

CLIP

SN: 1001-UP

1шт.

63

01010-31020

BOLT

SN: 1001-UP

1шт.

64

01602-01030

WASHER,SPRING

SN: 1001-UP

1шт.

65

175-03-31550

TUBE

SN: 1001-UP

1шт.

66

07000-03035

O-RING

SN: 1001-UP

1шт.

67

01010-31030

BOLT

SN: 1001-UP

2шт.

68

01602-01030

WASHER,SPRING

SN: 1001-UP

2шт.

69

04059-01010

WIRE,LOCK

SN: 1001-UP

1шт.

70

154-03-11510

TUBE,OVERFLOW

SN: 1001-UP

1шт.

71

195-03-11690

CLIP

SN: 1001-UP

3шт.

Выбрано товаров: 86