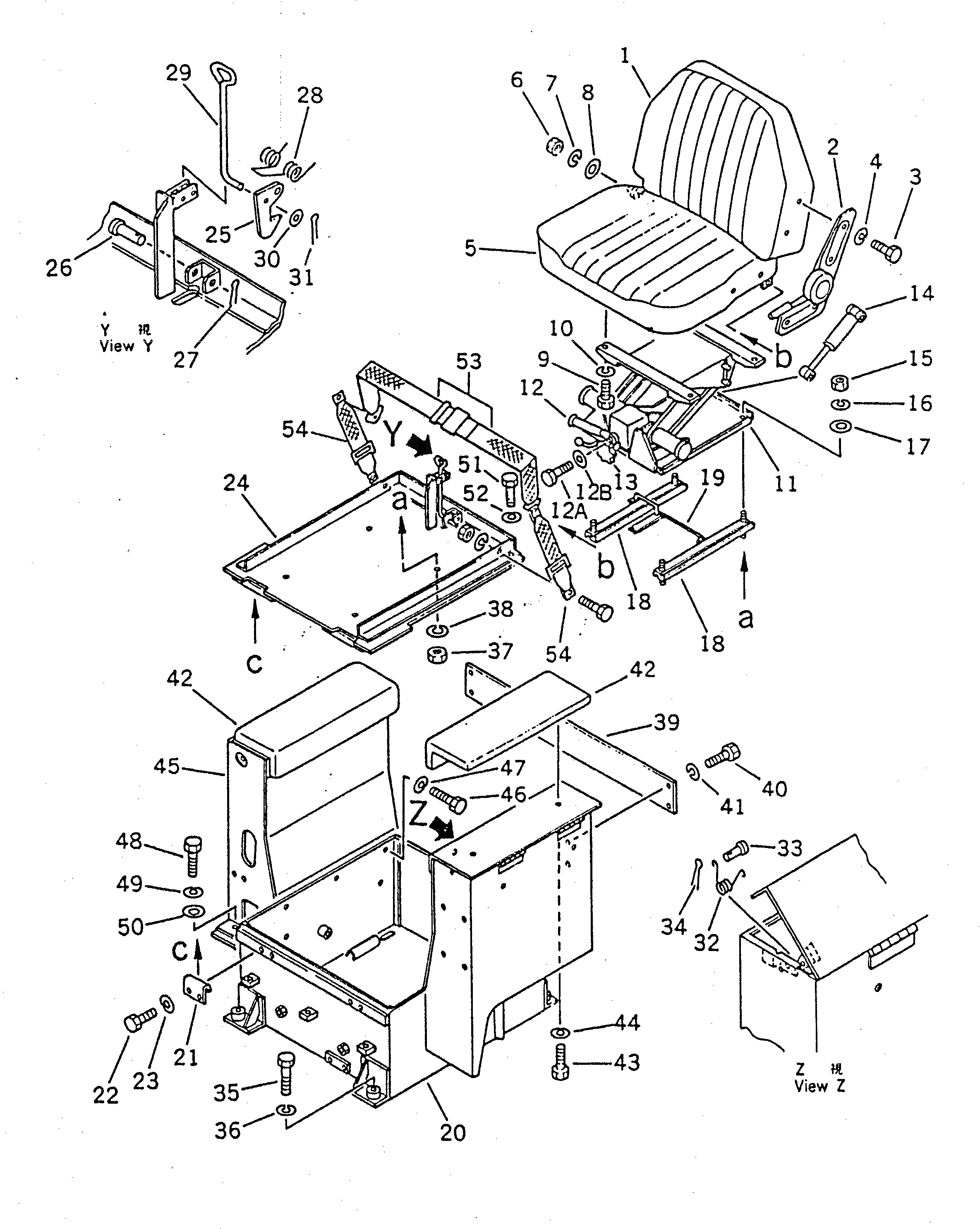
Запчасти Komatsu D155S-1 СИДЕНЬЕ ОПЕРАТОРА(№-) ЧАСТИ КОРПУСА

Схема запчастей Komatsu D155S-1 - СИДЕНЬЕ ОПЕРАТОРА(№-) ЧАСТИ КОРПУСА
FIT
1:1
100%

Артикул

Название

Примечание

Количество

|$0

155-57-12104

OPERATOR'S SEAT A.

SN: 1056-UP

1шт.

|$1

0

OPERATOR'S SEAT A.

SN: 1026-1055

1шт.

1

155-57-12171

CUSHION

SN: 1026-UP

1шт.

2

155-57-12181

LEVER,L.H.

SN: 1026-UP

1шт.

3

07372-01030

BOLT

SN: 1026-UP

4шт.

4

01602-01030

WASHER,SPRING

SN: 1026-UP

4шт.

5

198-57-11620

CUSHION

SN: 1056-UP

1шт.

5

0

CUSHION ASS'Y

SN: 1026-1055

1шт.

6

01580-01008

NUT

SN: 1026-UP

1шт.

7

01602-01030

WASHER,SPRING

SN: 1026-UP

1шт.

8

01643-31032

WASHER

SN: 1026-UP

1шт.

9

01010-31020

BOLT

SN: 1001-UP

4шт.

10

01602-01030

WASHER,SPRING

SN: 1001-UP

4шт.

11

155-57-12142

SUSPENSION ASS'Y

SN: 1056-UP

1шт.

11

0

SUSPENSION ASS'Y

SN: 1026-1055

1шт.

12

155-57-12210

HANDLE ASS'Y

SN: 1001-UP

1шт.

12A

01010-30612

BOLT

SN: 1001-UP

1шт.

12B

01640-00610

WASHER

SN: 1001-UP

1шт.

13

155-57-12221

KNOB

SN: 1056-UP

1шт.

13

0

KNOB

SN: 1001-1055

1шт.

14

155-57-12250

DAMPER

SN: 1001-UP

1шт.

15

01580-01210

NUT

SN: 1001-UP

4шт.

16

01602-01236

WASHER,SPRING

SN: 1001-UP

4шт.

17

01640-21223

WASHER

SN: 1001-UP

4шт.

18

155-57-12150

ADJUSTER

SN: 1001-UP

2шт.

19

155-57-12260

LATCH WIRE ASS'Y

SN: 1026-UP

1шт.

|$26

178-57-00011

BATTERY CASE ASS'Y

SN: 1026-UP

1шт.

20

178-57-11111

CASE

SN: 1026-UP

1шт.

21

140-57-12190

PLATE

SN: 1001-UP

2шт.

22

01010-31225

BOLT

SN: 1001-UP

4шт.

23

01602-01236

WASHER,SPRING

SN: 1001-UP

4шт.

24

178-57-11121

PLATE

SN: 1026-UP

1шт.

25

178-57-11261

PLATE

SN: 1026-UP

1шт.

26

178-57-11250

PIN

SN: 1026-UP

1шт.

27

04050-03015

PIN,COTTER

SN: 1001-UP

1шт.

28

178-57-11240

SPRING

SN: 1026-UP

1шт.

29

178-57-11270

ROD

SN: 1026-UP

1шт.

30

01640-20610

WASHER

SN: 1001-UP

1шт.

31

04050-01618

PIN,COTTER

SN: 1001-UP

1шт.

32

131-54-11150

SPRING

SN: 1001-UP

1шт.

33

04205-00616

PIN

SN: 1001-UP

2шт.

34

04050-01610

PIN,COTTER

SN: 1001-UP

2шт.

35

01010-31660

BOLT

SN: 1001-UP

4шт.

36

01602-01648

WASHER,SPRING

SN: 1001-UP

4шт.

37

01580-01210

NUT

SN: 1001-UP

4шт.

38

01602-01236

WASHER,SPRING

SN: 1001-UP

4шт.

39

178-57-11230

PLATE

SN: 1001-UP

1шт.

40

01010-31230

BOLT

SN: 1001-UP

4шт.

41

01602-01236

WASHER,SPRING

SN: 1001-UP

4шт.

42

144-57-11150

REST

SN: 1001-UP

2шт.

43

01010-30820

BOLT

SN: 1001-UP

8шт.

44

01602-00825

WASHER,SPRING

SN: 1001-UP

8шт.

45

178-57-11210

CASE

SN: 1001-UP

1шт.

46

01010-31235

BOLT

SN: 1001-UP

5шт.

47

01602-01236

WASHER,SPRING

SN: 1001-UP

5шт.

48

01010-31230

BOLT

SN: 1001-UP

1шт.

49

01602-01236

WASHER,SPRING

SN: 1001-UP

1шт.

50

01640-21223

WASHER

SN: 1001-UP

1шт.

51

01010-31230

BOLT

SN: 1026-UP

2шт.

52

01602-01236

WASHER,SPRING

SN: 1026-UP

2шт.

53

195-57-13150

BELT, LAP

SN: 1026-UP

1шт.

54

195-57-13160

BELT, TETHER

SN: 1026-UP

2шт.

55

195-98-12990

PLATE, CAUTION,(NOT SHOWN)

SN: 1026-UP

1шт.

Выбрано товаров: 63