Запчасти Komatsu D155S-1 МАРКИРОВКА(№-) ЧАСТИ КОРПУСА

Схема запчастей Komatsu D155S-1 - МАРКИРОВКА(№-) ЧАСТИ КОРПУСА
FIT
1:1
100%

Артикул

Название

Примечание

Количество

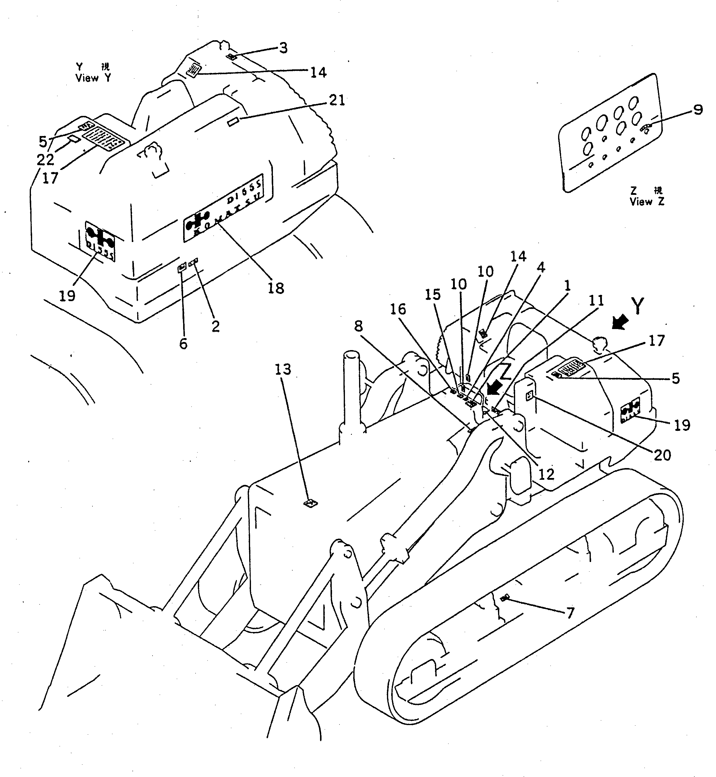
1

09649-00300

PLATE, INSTRUCTION

SN: 1020-@

1шт.

1

0

PLATE, INSTRUCTION

SN: 1001-1019

1шт.

2

09652-00101

PLATE, CAUTION

SN: 1001-@

1шт.

3

09653-00080

PLATE, SAFETY

SN: 1001-1062

1шт.

4

09654-00060

PLATE, SAFETY

SN: 1001-1062

1шт.

5

09655-00120

PLATE, INSTRUCTION

SN: 1001-@

1шт.

6

09656-00080

PLATE, INSTRUCTION

SN: 1001-@

1шт.

7

09657-00125

PLATE, SAFETY

SN: 1001-1062

2шт.

8

09682-00021

PLATE, OPERATING

SN: 1001-@

1шт.

9

09683-00050

PLATE, NAME

SN: 1001-@

1шт.

10

09685-00001

PLATE, OPERATING

SN: 1001-@

2шт.

11

09602-01643

PLATE, NAME

SN: 1001-@

1шт.

12

01220-60408

SCREW

SN: 1001-@

4шт.

13

09650-00101

PLATE, INSTRUCTION

SN: 1001-@

1шт.

14

09674-38070

PLATE, OPERATING

SN: 1001-@

1шт.

14

0

PLATE, NAME

SN: 1001-1019

1шт.

15

155-98-12170

PLATE, CAUTION

SN: 1001-@

1шт.

16

175-900-2240

PLATE, CAUTION

SN: 1001-@

1шт.

17

178-98-12111

CHART

SN: 1010-@

1шт.

17

178-98-12110

CHART

SN: 1001-1009

1шт.

18

178-98-12120

MARK

SN: 1001-@

1шт.

19

178-98-12130

MARK

SN: 1001-@

1шт.

20

178-98-12140

PLATE

SN: 1001-@

1шт.

21

178-98-12160

PLATE, CAUTION

SN: 1010-@

1шт.

22

09633-00125

PLATE, INSTRUCTION

SN: 1010-@

1шт.

Выбрано товаров: 0