Запчасти Komatsu D155S-1 ГИДРОЦИЛИНДР КОВША ТРУБЫ(№-) УПРАВЛ-Е РАБОЧИМ ОБОРУДОВАНИЕМ

Схема запчастей Komatsu D155S-1 - ГИДРОЦИЛИНДР КОВША ТРУБЫ(№-) УПРАВЛ-Е РАБОЧИМ ОБОРУДОВАНИЕМ
FIT
1:1
100%

Артикул

Название

Примечание

Количество

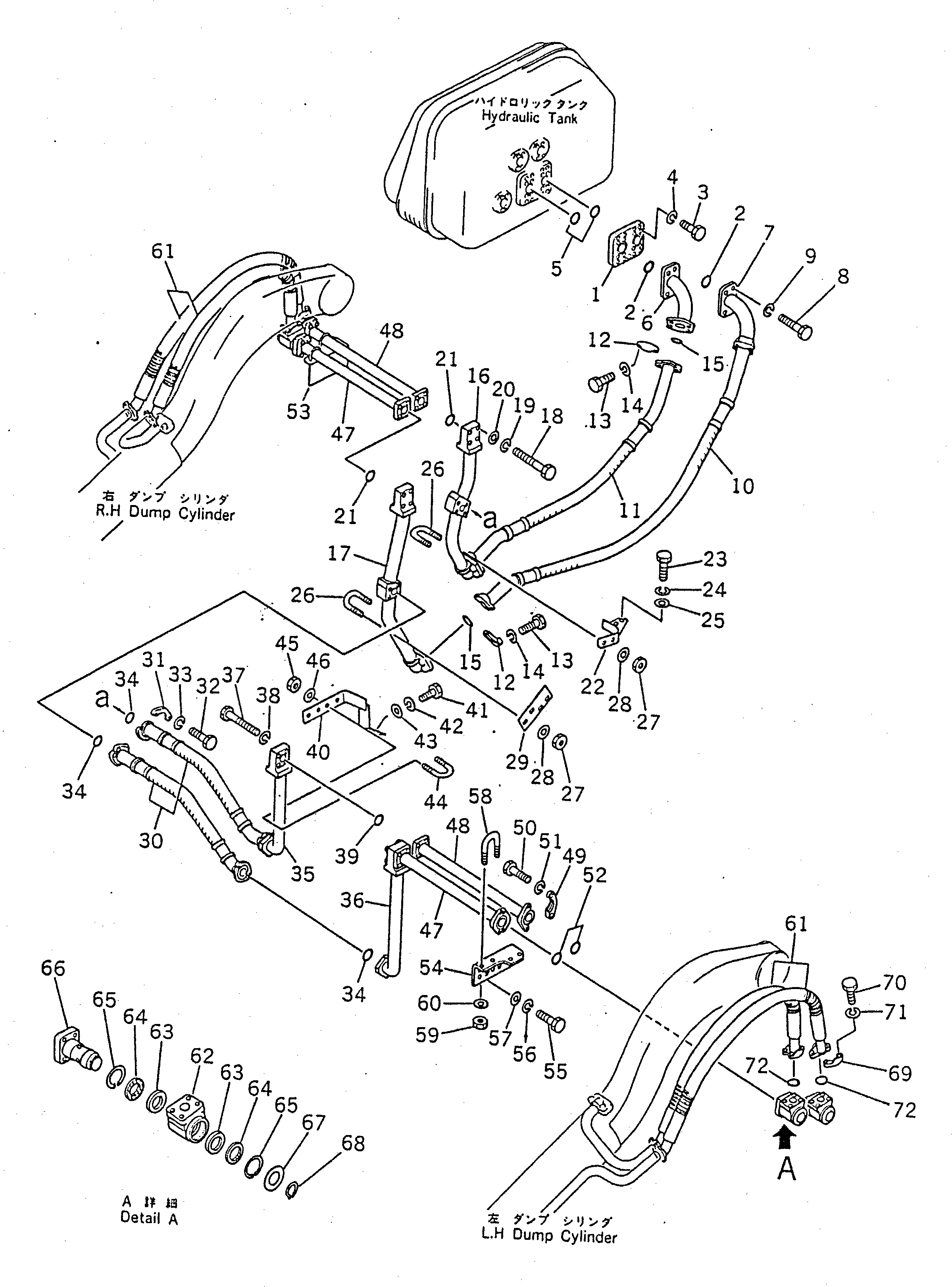
1

178-61-13280

SPACER

SN: 1056-UP

1шт.

2

07000-23045

O-RING

SN: 1056-UP

2шт.

3

01252-31235

BOLT

SN: 1056-UP

9шт.

4

01602-01236

WASHER,SPRING

SN: 1056-UP

9шт.

5

07000-23045

O-RING

SN: 1056-UP

2шт.

6

178-61-13222

TUBE

SN: 1142-UP

1шт.

7

178-61-13242

TUBE

SN: 1142-UP

1шт.

8

01010-31245

BOLT

SN: 1142-UP

8шт.

9

01602-01236

WASHER,SPRING

SN: 1142-UP

8шт.

10

178-61-13252

HOSE

SN: 1056-UP

1шт.

11

178-61-13232

HOSE

SN: 1056-UP

1шт.

12

07371-02076

FLANGE

SN: 1023-UP

8шт.

13

07372-01240

BOLT

SN: 1023-UP

16шт.

14

01602-01236

WASHER,SPRING

SN: 1001-UP

16шт.

15

07000-22060

O-RING

SN: 1001-UP

4шт.

16

178-61-13152

TUBE

SN: 1142-UP

1шт.

17

178-61-13162

TUBE

SN: 1142-UP

1шт.

18

01010-31295

BOLT

SN: 1001-UP

8шт.

19

01602-01236

WASHER,SPRING

SN: 1001-UP

8шт.

20

01643-31232

WASHER

SN: 1056-UP

8шт.

21

07000-23048

O-RING

SN: 1056-UP

2шт.

22

178-61-13372

BRACKET

SN: 1142-UP

1шт.

23

01010-31230

BOLT

SN: 1001-UP

2шт.

24

01602-01236

WASHER,SPRING

SN: 1001-UP

2шт.

25

01643-31232

WASHER

SN: 1001-UP

2шт.

26

178-61-11370

CLIP

SN: 1056-UP

3шт.

27

01599-01011

NUT

SN: 1056-UP

6шт.

28

01643-31032

WASHER

SN: 1056-UP

6шт.

29

178-61-13271

PLATE

SN: 1142-UP

1шт.

30

07114-01408

HOSE

SN: 1001-UP

2шт.

31

07371-01465

FLANGE

SN: 1023-UP

8шт.

32

07372-01240

BOLT

SN: 1023-UP

16шт.

33

01602-01236

WASHER,SPRING

SN: 1001-UP

16шт.

34

07000-23048

O-RING

SN: 1001-UP

4шт.

35

178-61-13170

TUBE

SN: 1001-UP

1шт.

36

178-61-13180

TUBE

SN: 1001-UP

1шт.

37

01010-31295

BOLT

SN: 1001-UP

8шт.

38

01602-01236

WASHER,SPRING

SN: 1001-UP

8шт.

39

07000-22070

O-RING

SN: 1001-UP

2шт.

40

178-61-13380

BRACKET

SN: 1001-UP

1шт.

41

01010-31230

BOLT

SN: 1001-UP

2шт.

42

01602-01236

WASHER,SPRING

SN: 1001-UP

2шт.

43

01643-31232

WASHER

SN: 1001-UP

2шт.

44

07283-04346

CLIP

SN: 1001-UP

2шт.

45

01599-01011

NUT

SN: 1001-UP

4шт.

46

01643-01032

WASHER

SN: 1001-UP

4шт.

47

178-61-13311

TUBE

SN: 1142-UP

2шт.

48

178-61-13321

TUBE

SN: 1142-UP

2шт.

49

07371-01465

FLANGE

SN: 1023-UP

8шт.

50

07372-01240

BOLT

SN: 1023-UP

16шт.

51

01602-01236

WASHER,SPRING

SN: 1001-UP

16шт.

52

07000-23048

O-RING

SN: 1001-UP

4шт.

53

178-61-13390

BRACKET

SN: 1001-UP

1шт.

54

178-61-13340

BRACKET

SN: 1001-UP

1шт.

55

01010-31240

BOLT

SN: 1001-UP

6шт.

56

01602-01236

WASHER,SPRING

SN: 1001-UP

6шт.

57

01643-31232

WASHER

SN: 1001-UP

6шт.

58

07283-04346

CLIP

SN: 1001-UP

4шт.

59

01599-01011

NUT

SN: 1001-UP

8шт.

60

01643-31032

WASHER

SN: 1001-UP

8шт.

61

07115-01414

HOSE

SN: 1001-UP

4шт.

61

178-61-13510

HOSE,(FOR SLAG HANDLING)

SN: 1001-UP

4шт.

|$62

178-61-13400

SWIVEL JOINT ASS'Y

SN: 1001-UP

4шт.

62

0

BODY

SN: 1001-UP

1шт.

63

0

PACKING

SN: 1001-UP

2шт.

64

0

SEAL

SN: 1001-UP

2шт.

65

0

RING,SNAP

SN: 1001-UP

2шт.

66

178-61-13420

SLEEVE

SN: 1001-UP

1шт.

67

178-61-13430

SPACER

SN: 1001-UP

1шт.

68

178-61-13470

RING,SNAP

SN: 1001-UP

1шт.

69

07371-01465

FLANGE

SN: 1023-UP

16шт.

70

07372-01240

BOLT

SN: 1023-UP

32шт.

71

01602-01236

WASHER,SPRING

SN: 1001-UP

32шт.

72

07000-23048

O-RING

SN: 1001-UP

8шт.

Выбрано товаров: 74