Запчасти Komatsu D155S-1 CHANGE РЫЧАГ И МЕХАНИЗМ (/) ГИДРОТРАНСФОРМАТОР И ТРАНСМИССИЯ

Схема запчастей Komatsu D155S-1 - CHANGE РЫЧАГ И МЕХАНИЗМ (/) ГИДРОТРАНСФОРМАТОР И ТРАНСМИССИЯ
FIT
1:1
100%

Артикул

Название

Примечание

Количество

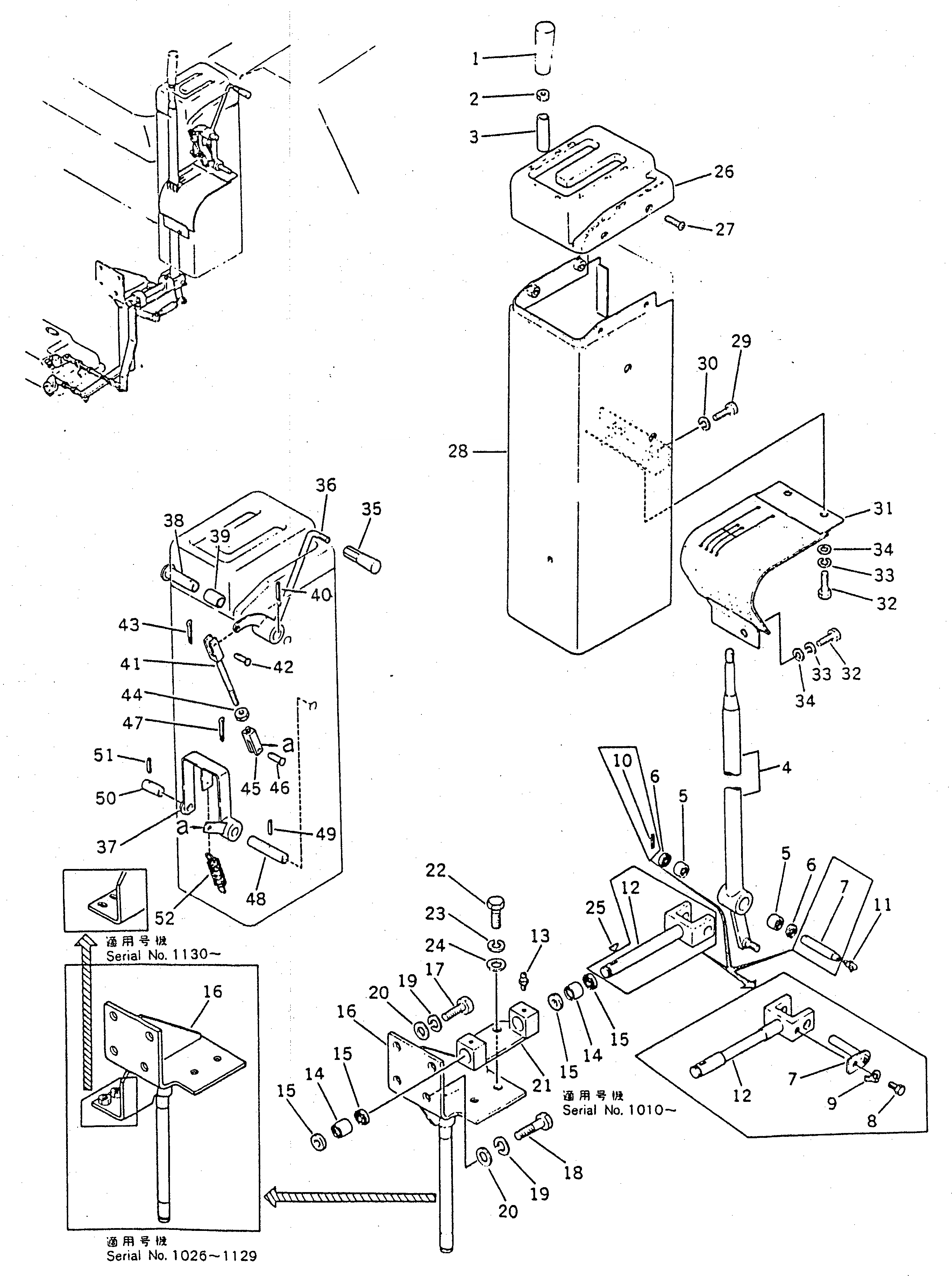
1

09304-01240

KNOB

SN: 1007-UP

1шт.

1

0

KNOB

SN: 1001-1006

1шт.

2

09361-31210

NUT

SN: 1001-UP

1шт.

3

09361-01460

BUSHING

SN: 1001-UP

1шт.

4

178-43-12111

LEVER,CHANGE

SN: 1001-UP

1шт.

5

06120-01612

BEARING

SN: 1001-UP

2шт.

6

06122-01603

SEAL,DUST

SN: 1001-UP

2шт.

7

155-43-13360

PIN

SN: 1010-UP

1шт.

7

175-15-26380

SHAFT

SN: 1001-1009

1шт.

8

01010-30816

BOLT

SN: 1010-UP

1шт.

9

01650-00808

WASHER

SN: 1010-UP

1шт.

10

04025-00432

PIN,SPRING

SN: 1001-1009

1шт.

11

07020-00675

FITTING,GREASE

SN: 1001-UP

1шт.

12

155-43-13122

YOKE

SN: 1010-UP

1шт.

12

178-43-12120

YOKE

SN: 1001-1009

1шт.

13

07020-00000

FITTING,GREASE

SN: 1001-UP

2шт.

14

06120-02016

BEARING

SN: 1001-UP

2шт.

15

06122-02004

SEAL

SN: 1001-UP

4шт.

16

178-43-12132

BRACKET

SN: 1130-UP

1шт.

16

0

BRACKET

SN: 1026-1129

1шт.

|$$21

(178-43-12132,178-06-12340)

-1шт.

16

0

BRACKET

SN: 1001-1025

1шт.

17

01010-31225

BOLT

SN: 1001-UP

2шт.

18

01010-31230

BOLT

SN: 1001-UP

2шт.

19

01602-01236

WASHER,SPRING

SN: 1001-UP

4шт.

20

01643-01232

WASHER

SN: 1001-UP

4шт.

21

178-43-12141

BRACKET

SN: 1010-UP

1шт.

21

178-43-12140

BRACKET

SN: 1001-1009

1шт.

22

01010-31230

BOLT

SN: 1001-UP

2шт.

23

01602-01236

WASHER,SPRING

SN: 1001-UP

2шт.

24

01643-01232

WASHER

SN: 1001-UP

2шт.

25

04010-00516

KEY

SN: 1001-UP

1шт.

26

175-43-38260

GUIDE

SN: 1001-UP

1шт.

27

01225-30816

SCREW

SN: 1001-UP

4шт.

28

178-43-12210

CASE

SN: 1001-UP

1шт.

29

01010-31220

BOLT

SN: 1001-UP

5шт.

30

01602-01236

WASHER,SPRING

SN: 1001-UP

5шт.

31

178-43-12220

COVER,DUST

SN: 1001-UP

1шт.

32

01010-31020

BOLT

SN: 1001-UP

3шт.

33

01602-01030

WASHER,SPRING

SN: 1001-UP

3шт.

34

01643-01032

WASHER

SN: 1001-UP

3шт.

35

09305-00800

KNOB,LOCK LEVER

SN: 1001-UP

1шт.

36

178-43-12230

LEVER,LOCK

SN: 1001-UP

1шт.

37

154-44-22441

STOPPER

SN: 1001-UP

1шт.

38

154-44-22430

SHAFT

SN: 1001-UP

1шт.

39

170-33-11330

BUSHING

SN: 1001-UP

1шт.

40

04025-00532

PIN,SPRING

SN: 1001-UP

1шт.

41

04244-10812

ROD

SN: 1001-UP

1шт.

42

04205-00822

PIN

SN: 1001-UP

1шт.

43

04050-02012

PIN,COTTER

SN: 1001-UP

1шт.

44

01580-00806

NUT

SN: 1001-UP

1шт.

45

04211-00844

YOKE

SN: 1001-UP

1шт.

46

04205-00822

PIN

SN: 1001-UP

1шт.

47

04050-02012

PIN,COTTER

SN: 1001-UP

1шт.

48

175-43-38280

SHAFT

SN: 1010-UP

1шт.

48

0

SHAFT

SN: 1001-1009

1шт.

49

04025-00532

PIN,SPRING

SN: 1001-UP

1шт.

50

154-44-22470

SHAFT

SN: 1001-UP

1шт.

51

04025-00532

PIN,SPRING

SN: 1001-UP

1шт.

52

155-44-12460

SPRING

SN: 1001-UP

1шт.

Выбрано товаров: 60