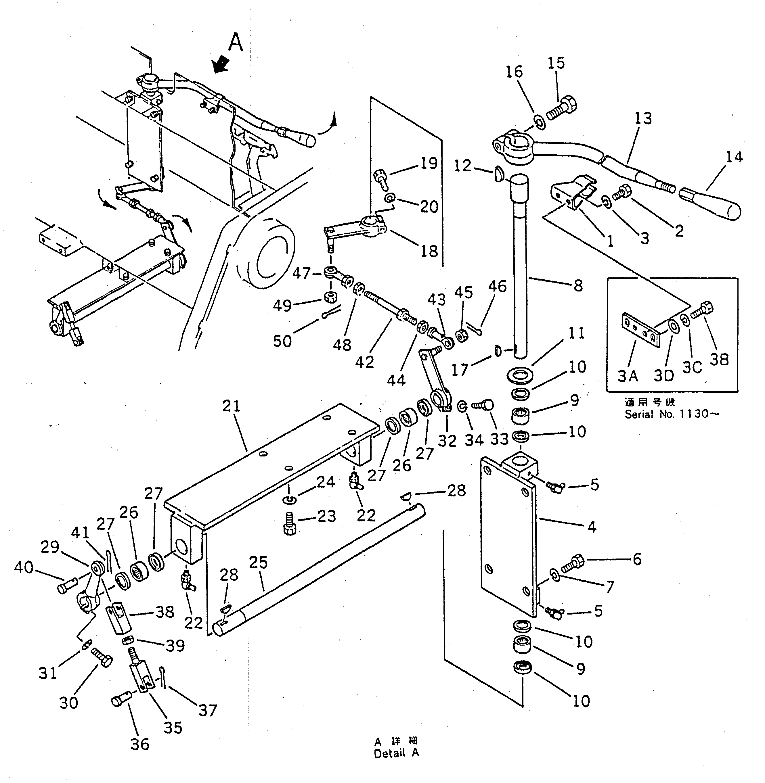
Запчасти Komatsu D155S-1 РЫЧАГ СБРОСА ДАВЛЕНИЯ КОМПОНЕНТЫ ДВИГАТЕЛЯ И ЭЛЕКТРИКА

Схема запчастей Komatsu D155S-1 - РЫЧАГ СБРОСА ДАВЛЕНИЯ КОМПОНЕНТЫ ДВИГАТЕЛЯ И ЭЛЕКТРИКА
FIT
1:1
100%

Артикул

Название

Примечание

Количество

1

195-43-18360

SPRING

SN: 1001-UP

1шт.

2

01010-31016

BOLT

SN: 1130-UP

2шт.

2

01010-31020

BOLT

SN: 1001-1129

2шт.

3

01602-01030

WASHER,SPRING

SN: 1001-UP

2шт.

3A

178-43-13410

PLATE

SN: 1130-UP

1шт.

3B

01010-31030

BOLT

SN: 1130-UP

2шт.

3C

01602-01030

WASHER,SPRING

SN: 1130-UP

2шт.

3D

01643-31032

WASHER

SN: 1130-UP

2шт.

|$8

178-43-00050

BRACKET ASS'Y

SN: 1001-UP

1шт.

4

0

BRACKET

SN: 1001-UP

1шт.

5

07020-00900

FITTING

SN: 1001-UP

2шт.

6

01010-31225

BOLT

SN: 1001-UP

4шт.

7

01602-01236

WASHER,SPRING

SN: 1001-UP

4шт.

8

178-43-13331

SHAFT

SN: 1001-UP

1шт.

9

06120-02016

BEARING

SN: 1001-UP

2шт.

10

06122-02004

SEAL

SN: 1001-UP

4шт.

11

01643-02045

WASHER

SN: 1001-UP

1шт.

12

04010-00732

KEY

SN: 1001-UP

1шт.

13

178-43-13341

LEVER

SN: 1001-UP

1шт.

14

09305-11400

KNOB

SN: 1001-UP

1шт.

15

01010-31245

BOLT

SN: 1001-UP

1шт.

16

01602-01236

WASHER,SPRING

SN: 1001-UP

1шт.

17

04010-00519

KEY

SN: 1001-UP

1шт.

18

178-43-13310

LEVER

SN: 1001-UP

1шт.

19

01010-30830

BOLT

SN: 1001-UP

1шт.

20

01602-00825

WASHER,SPRING

SN: 1001-UP

1шт.

|$26

178-43-00060

BRACKET ASS'Y

SN: 1001-UP

1шт.

21

0

BRACKET

SN: 1001-UP

1шт.

22

07020-00900

FITTING

SN: 1001-UP

2шт.

23

01010-31225

BOLT

SN: 1001-UP

4шт.

24

01602-01236

WASHER,SPRING

SN: 1001-UP

4шт.

25

178-43-13290

SHAFT

SN: 1001-UP

1шт.

26

06120-02016

BEARING

SN: 1001-UP

2шт.

27

06122-02004

SEAL

SN: 1001-UP

4шт.

28

04010-00519

KEY

SN: 1001-UP

2шт.

29

04240-10205

LEVER

SN: 1001-UP

1шт.

30

01010-30830

BOLT

SN: 1001-UP

1шт.

31

01602-00825

WASHER,SPRING

SN: 1001-UP

1шт.

32

178-43-13310

LEVER

SN: 1001-UP

1шт.

33

01010-30830

BOLT

SN: 1001-UP

1шт.

34

01602-00825

WASHER,SPRING

SN: 1001-UP

1шт.

35

178-43-13270

ROD

SN: 1001-UP

1шт.

36

04205-00822

PIN

SN: 1001-UP

1шт.

37

04050-02012

PIN,COTTER

SN: 1001-UP

1шт.

38

04211-01055

YOKE

SN: 1001-UP

1шт.

39

01582-01008

NUT

SN: 1001-UP

1шт.

40

04205-01028

PIN

SN: 1001-UP

1шт.

41

04050-03015

PIN,COTTER

SN: 1001-UP

1шт.

42

04248-11012

ROD

SN: 1001-UP

1шт.

43

04250-41056

END

SN: 1001-UP

1шт.

44

01582-01008

NUT

SN: 1001-UP

1шт.

45

01593-01008

NUT

SN: 1001-UP

1шт.

46

04050-02018

PIN,COTTER

SN: 1001-UP

1шт.

47

04250-61056

END,L.H. THREAD

SN: 1001-UP

1шт.

48

01508-11006

NUT, L.H. THREAD,L.H. THREAD

SN: 1001-UP

1шт.

49

01593-01008

NUT

SN: 1001-UP

1шт.

50

04050-02018

PIN,COTTER

SN: 1001-UP

1шт.

Выбрано товаров: 57