Запчасти Komatsu D155S-1 РУЛЕВ. УПРАВЛЕНИЕ И ПЕДАЛЬ ТОРМОЗА МЕХАНИЗМ СИСТЕМАУПРАВЛЕНИЯ ПОВОРОТОМ И КОНЕЧНАЯ ПЕРЕДАЧА

Схема запчастей Komatsu D155S-1 - РУЛЕВ. УПРАВЛЕНИЕ И ПЕДАЛЬ ТОРМОЗА МЕХАНИЗМ СИСТЕМАУПРАВЛЕНИЯ ПОВОРОТОМ И КОНЕЧНАЯ ПЕРЕДАЧА
FIT
1:1
100%

Артикул

Название

Примечание

Количество

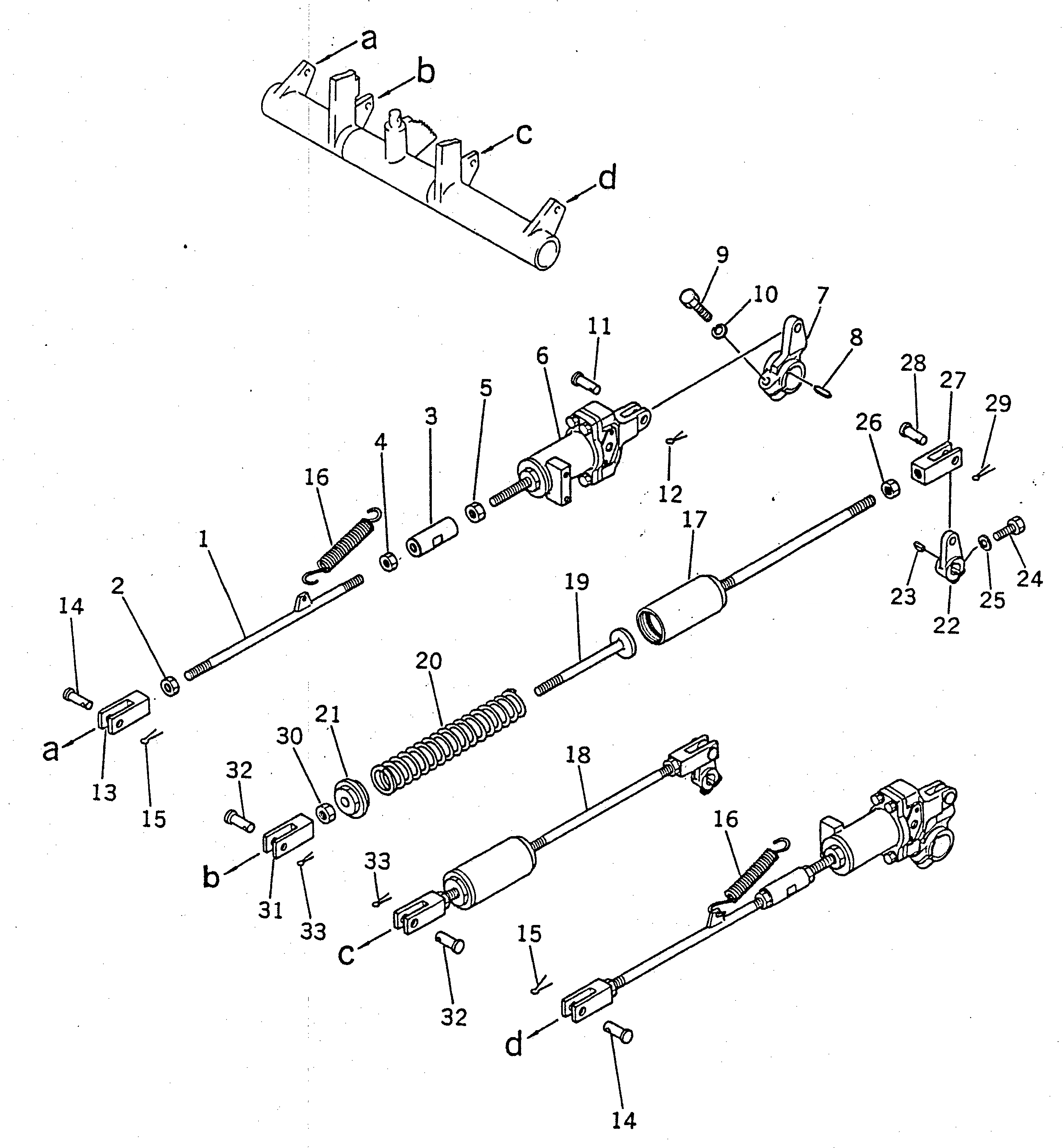
1

178-43-11190

ROD

SN: 1001-UP

2шт.

2

01582-01411

NUT

SN: 1001-UP

2шт.

3

154-44-21650

BUCKLE

SN: 1001-UP

2шт.

4

01582-01411

NUT

SN: 1001-UP

2шт.

5

01508-01408

NUT, L.H. THREAD,L.H. THREAD

SN: 1001-UP

2шт.

6

178-43-17200

VALVE ASS'Y

SN: 1001-UP

2шт.

7

178-43-11210

LEVER \

SN: 1001-UP

2шт.

8

04000-01030

KEY

SN: 1001-UP

2шт.

9

01010-31245

BOLT

SN: 1001-UP

2шт.

10

01602-01236

WASHER,SPRING

SN: 1001-UP

2шт.

11

04205-01235

PIN

SN: 1001-UP

2шт.

12

04050-03020

PIN,COTTER

SN: 1001-UP

2шт.

13

04211-01478

YOKE

SN: 1001-UP

2шт.

14

04205-01438

PIN

SN: 1001-UP

2шт.

15

04050-04022

PIN,COTTER

SN: 1001-UP

2шт.

16

178-43-11220

SPRING

SN: 1001-UP

2шт.

17

178-43-11310

HOLDER,R.H.

SN: 1001-UP

1шт.

18

178-43-11320

HOLDER,L.H.

SN: 1001-UP

1шт.

19

178-43-11250

ROD

SN: 1001-UP

2шт.

20

178-43-11263

SPRING

SN: 1026-UP

2шт.

20

0

SPRING

SN: 1007-1025

2шт.

20

0

SPRING

SN: 1001-1006

2шт.

21

178-43-11240

PLUG

SN: 1001-UP

2шт.

22

145-40-31280

LEVER

SN: 1001-UP

2шт.

23

04010-00519

KEY

SN: 1001-UP

2шт.

24

01010-30830

BOLT

SN: 1001-UP

2шт.

25

01602-00825

WASHER,SPRING

SN: 1001-UP

2шт.

26

01582-01210

NUT

SN: 1001-UP

4шт.

27

04211-01266

YOKE

SN: 1001-UP

4шт.

28

04205-01235

PIN

SN: 1001-UP

2шт.

29

04050-03020

PIN,COTTER

SN: 1001-UP

2шт.

30

01582-01411

NUT

SN: 1001-UP

2шт.

31

04211-01478

YOKE

SN: 1001-UP

2шт.

32

04205-01438

PIN

SN: 1001-UP

2шт.

33

04050-04022

PIN,COTTER

SN: 1001-UP

2шт.

Выбрано товаров: 35