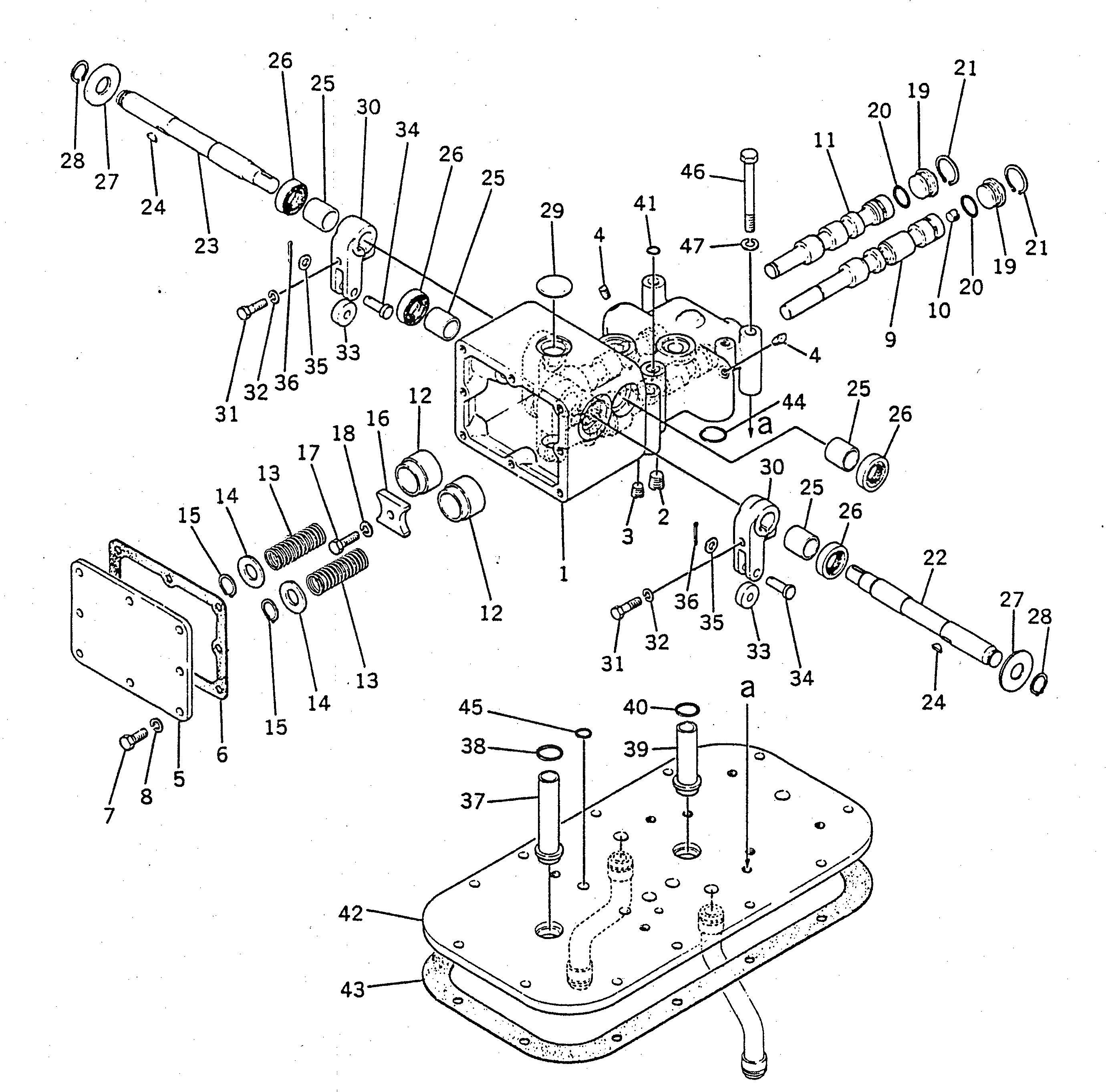
Запчасти Komatsu D155S-1 КЛАПАН УПРАВЛЕНИЯ ПОВОРОТОМ (/) СИСТЕМАУПРАВЛЕНИЯ ПОВОРОТОМ И КОНЕЧНАЯ ПЕРЕДАЧА

Схема запчастей Komatsu D155S-1 - КЛАПАН УПРАВЛЕНИЯ ПОВОРОТОМ (/) СИСТЕМАУПРАВЛЕНИЯ ПОВОРОТОМ И КОНЕЧНАЯ ПЕРЕДАЧА
FIT
1:1
100%

Артикул

Название

Примечание

Количество

|$0

178-40-00011

CONTROL VALVE ASS'Y

SN: 1010-UP

1шт.

|$1

0

CONTROL VALVE ASS'Y

SN: 1001-1009

1шт.

1

178-40-11130

HOUSING

SN: 1001-UP

1шт.

2

07043-00415

PLUG

SN: 1001-UP

1шт.

3

07043-00312

PLUG

SN: 1001-UP

3шт.

4

07043-00108

PLUG

SN: 1001-UP

2шт.

5

175-43-12140

COVER,FRONT

SN: 1001-UP

1шт.

6

175-43-12150

GASKET

SN: 1001-UP

1шт.

7

01010-31025

BOLT

SN: 1001-UP

8шт.

8

01602-01030

WASHER,SPRING

SN: 1001-UP

8шт.

9

178-40-11161

SPOOL,L.H.

SN: 1010-UP

1шт.

9

178-40-11160

SPOOL,L.H.

SN: 1001-1009

1шт.

10

155-40-11281

PLUG

SN: 1010-UP

1шт.

10

178-40-11170

PLUG

SN: 1001-1009

1шт.

11

155-40-11131

SPOOL,R.H.

SN: 1001-UP

1шт.

12

155-40-11180

BUSHING

SN: 1001-UP

2шт.

13

178-40-11220

SPRING

SN: 1001-UP

2шт.

14

155-40-11190

WASHER

SN: 1001-UP

2шт.

15

04064-02012

RING,SNAP

SN: 1001-UP

2шт.

16

175-40-11330

PLATE,RETAINER

SN: 1001-UP

1шт.

17

01010-31030

BOLT

SN: 1001-UP

1шт.

18

01602-01030

WASHER,SPRING

SN: 1001-UP

1шт.

19

155-40-11260

STOPPER

SN: 1001-UP

2шт.

20

07000-03025

O-RING

SN: 1001-UP

2шт.

21

04065-03515

RING,SNAP

SN: 1001-UP

2шт.

22

155-40-11152

SHAFT

SN: 1001-UP

1шт.

23

155-40-11162

SHAFT

SN: 1001-UP

1шт.

24

04010-00522

KEY

SN: 1001-UP

2шт.

25

170-43-12360

BUSHING

SN: 1001-UP

4шт.

26

07011-00025

SEAL,OIL

SN: 1001-UP

4шт.

27

155-40-11251

WASHER

SN: 1001-UP

2шт.

28

04064-02212

RING,SNAP

SN: 1001-UP

2шт.

29

07046-04520

PLUG

SN: 1001-UP

1шт.

30

170-43-12321

LEVER

SN: 1001-UP

2шт.

31

01010-31250

BOLT

SN: 1001-UP

2шт.

32

01602-01236

WASHER,SPRING

SN: 1001-UP

2шт.

33

170-43-12330

ROLLER

SN: 1001-UP

2шт.

34

04205-01238

PIN

SN: 1001-UP

2шт.

35

01641-21223

WASHER

SN: 1001-UP

2шт.

36

04050-03020

PIN,COTTER

SN: 1001-UP

2шт.

37

170-43-12120

TUBE

SN: 1001-UP

1шт.

38

07000-03028

O-RING

SN: 1001-UP

1шт.

39

155-40-11270

TUBE

SN: 1001-UP

1шт.

40

07000-03025

O-RING

SN: 1001-UP

1шт.

41

07000-02014

O-RING

SN: 1001-UP

2шт.

42

178-40-11140

SEAT

SN: 1001-UP

1шт.

43

178-40-11180

GASKET

SN: 1001-UP

1шт.

44

07000-03028

O-RING

SN: 1001-UP

2шт.

45

07000-02016

O-RING

SN: 1001-UP

2шт.

46

01011-31200

BOLT

SN: 1001-UP

1шт.

47

01602-01236

WASHER,SPRING

SN: 1001-UP

1шт.

Выбрано товаров: 51