Запчасти Komatsu D155S-1 ГУСЕНИЦЫ (СО СЦЕПНЫМ ПАЛЬЦЕМ)(№-.) ГУСЕНИЦЫ

Схема запчастей Komatsu D155S-1 - ГУСЕНИЦЫ (СО СЦЕПНЫМ ПАЛЬЦЕМ)(№-.) ГУСЕНИЦЫ
FIT
1:1
100%

Артикул

Название

Примечание

Количество

1

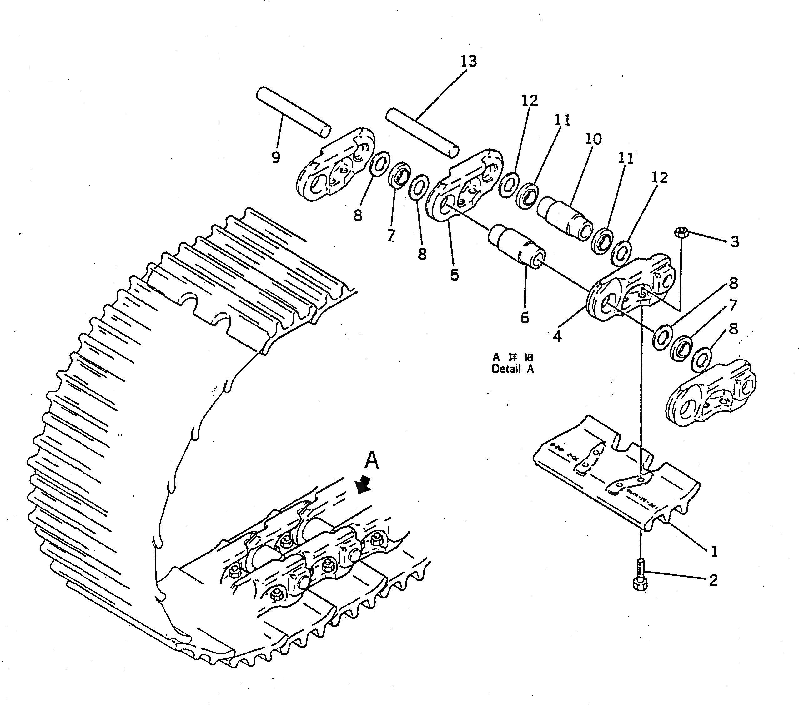
178-32-01005

TRACK SHOE ASS'Y

SN: 1001-*

1шт.

1

178-32-01005

TRACK SHOE ASS'Y

SN: ..-...

1шт.

1

0

TRACK SHOE ASS'Y

SN: .-..

1шт.

1

0

TRACK SHOE ASS'Y

SN: 1087-.

1шт.

1

0

TRACK SHOE ASS'Y

SN: 1020-1086

1шт.

1

0

TRACK SHOE ASS'Y

SN: 1010-1019

1шт.

1

0

TRACK SHOE ASS'Y

SN: 1001-1009

1шт.

1

178-32-11290

SHOE

SN: 1001-.

90шт.

2

176-32-11210

BOLT, SHOE (KIT)

SN: 1001-.

360шт.

3

178-32-11220

NUT, SHOE (KIT)

SN: 1001-.

360шт.

3

178-32-00015

TRACK LINK ASS'Y

SN: .-.

1шт.

3

0

TRACK LINK ASS'Y

SN: .-.

1шт.

3

0

TRACK LINK ASS'Y

SN: 1087-.

1шт.

3

0

TRACK LINK ASS'Y

SN: 1020-1086

1шт.

3

0

TRACK LINK ASS'Y

SN: 1010-1019

1шт.

3

0

TRACK LINK ASS'Y

SN: 1001-1009

1шт.

4

178-32-11121

LINK

SN: 1087-.

90шт.

4

0

LINK

SN: 1001-1086

90шт.

5

178-32-11131

LINK

SN: 1087-.

90шт.

5

0

LINK

SN: 1001-1086

90шт.

6

176-32-11142

BUSHING

SN: 1010-.

86шт.

6

0

BUSHING

SN: 1001-1009

86шт.

7

176-32-11281

SPACER

SN: 1001-.

172шт.

8

176-32-11291

WASHER

SN: 1001-.

344шт.

9

176-32-11151

PIN

SN: .-.

86шт.

9

0

PIN

SN: 1001-.

86шт.

10

176-32-11172

BUSHING

SN: .-.

4шт.

10

0

BUSHING

SN: 1001-1009

4шт.

11

176-32-11331

SPACER

SN: 1001-.

8шт.

12

176-32-11291

WASHER

SN: 1001-.

8шт.

13

176-32-11192

PIN

SN: .-.

4шт.

13

0

PIN

SN: 1020-.

4шт.

13

0

PIN

SN: 1001-1019

4шт.

|$$34

SERVICE KIT

-1шт.

2

178-32-05000

SHOE BOLT AND NUT K.

SN: 1001-.

1шт.

2

176-32-11210

BOLT, SHOE

SN: 1001-.

30шт.

3

178-32-11220

NUT, SHOE

SN: 1001-.

30шт.

|$$38

OVERSIZE PARTS

-1шт.

|$$39

0.10MM OVERSIZE

-1шт.

6

176-98-09071

BUSHING

SN: 1010-.

-2шт.

6

0

BUSHING,REGULAR

SN: 1001-1009

-2шт.

9

176-98-09011

PIN

SN: 1010-.

-2шт.

9

0

PIN,REGULAR

SN: 1001-.

-2шт.

10

176-98-09111

BUSHING

SN: 1010-.

-2шт.

10

0

BUSHING,MASTER

SN: 1001-1009

-2шт.

13

176-98-09042

PIN

SN: .-.

-2шт.

13

0

PIN,MASTER

SN: 1020-.

-2шт.

13

0

PIN,MASTER

SN: 1001-1019

-2шт.

|$$49

0.15MM OVERSIZE

-1шт.

6

176-98-09081

BUSHING,REGULAR

SN: 1010-1086

-2шт.

6

0

BUSHING,REGULAR

SN: 1001-1009

-2шт.

9

176-98-09020

PIN,REGULAR

SN: 1010-1086

-2шт.

10

176-98-09121

BUSHING,MASTER

SN: 1010-1086

-2шт.

10

0

BUSHING,MASTER

SN: 1001-1009

-2шт.

13

176-98-09051

PIN,MASTER

SN: 1010-1086

-2шт.

13

0

PIN,MASTER

SN: 1001-1019

-2шт.

|$$57

0.18MM OVERSIZE

-1шт.

6

176-98-09091

BUSHING

SN: 1010-.

-2шт.

6

0

BUSHING,REGULAR

SN: 1001-1009

-2шт.

9

176-98-09031

PIN,REGULAR

SN: .-.

-2шт.

9

0

PIN,REGULAR

SN: 1001-.

-2шт.

10

176-98-09131

BUSHING,MASTER

SN: 1010-.

-2шт.

10

0

BUSHING,MASTER

SN: 1001-1009

-2шт.

13

176-98-09062

PIN,MASTER

SN: .-.

-2шт.

13

0

PIN

SN: 1020-.

-2шт.

13

0

PIN,MASTER

SN: 1001-1019

-2шт.

|$$67

SEMI-DOUBLE 560MM

-1шт.

1

178-32-01205

TRACK SHOE ASS'Y

SN: .-.

1шт.

1

178-32-01204

TRACK SHOE ASS'Y

SN: .-.

1шт.

1

0

TRACK SHOE ASS'Y

SN: 1087-.

1шт.

1

0

TRACK SHOE ASS'Y

SN: 1020-1086

1шт.

1

0

TRACK SHOE ASS'Y

SN: 1010-1019

1шт.

1

0

TRACK SHOE ASS'Y

SN: 1001-1009

1шт.

1

178-32-11110

SHOE

SN: 1001-.

90шт.

2

176-32-11210

BOLT, SHOE

SN: 1001-.

360шт.

3

178-32-11220

NUT, SHOE

SN: 1001-.

360шт.

4

178-32-00015

TRACK LINK ASS'Y

SN: .-.

1шт.

4

0

TRACK LINK ASS'Y

SN: .-.

1шт.

4

0

TRACK LINK ASS'Y

SN: 1087-.

1шт.

4

0

TRACK LINK ASS'Y

SN: 1020-1086

1шт.

4

0

TRACK LINK ASS'Y

SN: 1010-1019

1шт.

4

0

TRACK LINK ASS'Y

SN: 1001-1009

1шт.

Выбрано товаров: 82