Запчасти Komatsu S6D155-4E МАСЛЯНЫЙ ПОДДОН(№7-) БЛОК ЦИЛИНДРОВ

Схема запчастей Komatsu S6D155-4E - МАСЛЯНЫЙ ПОДДОН(№7-) БЛОК ЦИЛИНДРОВ
FIT
1:1
100%

Артикул

Название

Примечание

Количество

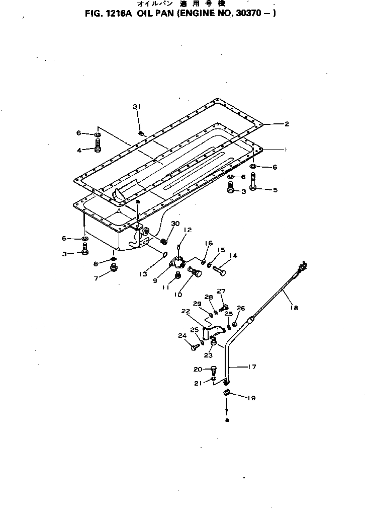
1

6127-21-5251

PAN

SN: 30370-UP

1шт.

2

6127-21-5811

GASKET (K2)

SN: 15182-UP

1шт.

3

01010-31030

BOLT

SN: 15182-UP

11шт.

4

01010-31035

BOLT

SN: 15182-UP

31шт.

5

01010-31085

BOLT

SN: 22782-UP

5шт.

6

01602-01030

WASHER

SN: 15182-UP

47шт.

7

07044-13620

PLUG

SN: 15182-UP

1шт.

8

07000-03032

O-RING (K2)

SN: 15182-UP

1шт.

|$8

6693-22-5600

VALVE ASS'Y

SN: 15182-UP

1шт.

9

6693-22-5610

BODY

SN: 15182-UP

1шт.

10

6693-22-5620

VALVE

SN: 15182-UP

1шт.

11

07040-02412

PLUG

SN: 15182-UP

1шт.

12

04400-00310

RIVET

SN: 15182-UP

1шт.

13

07000-63028

O-RING

SN: 15182-UP

1шт.

14

01010-31025

BOLT

SN: 15182-UP

2шт.

15

01602-01030

WASHER

SN: 15182-UP

2шт.

16

01640-21016

WASHER

SN: 15182-UP

2шт.

17

6127-21-5660

GUIDE

SN: 30370-UP

1шт.

18

6128-21-5400

GAUGE

SN: 15182-UP

1шт.

19

6127-21-5550

GASKET (K2)

SN: 30370-UP

1шт.

20

01010-30825

BOLT

SN: 30370-UP

2шт.

21

01602-00825

WASHER

SN: 30370-UP

2шт.

22

6127-21-7343

BRACKET

SN: 30370-UP

1шт.

23

6127-21-5670

CLIP

SN: 30370-UP

1шт.

24

01010-31035

BOLT

SN: 30370-UP

1шт.

25

01640-21016

WASHER

SN: 30370-UP

2шт.

26

01580-01008

NUT

SN: 15182-UP

1шт.

27

01010-31240

BOLT,(SEE FIG.1405)

SN: 15182-UP

2шт.

28

01602-01236

WASHER,(SEE FIG.1405)

SN: 15182-UP

2шт.

29

01643-31232

WASHER,(SEE FIG.1405)

SN: 15182-UP

2шт.

30

02720-11616

PLUG

SN: 30370-UP

2шт.

31

02720-20607

PLUG

SN: 15182-UP

1шт.

1

6127-21-5251

PAN

SN: 30370-UP

1шт.

2

6127-21-5811

GASKET (K2)

SN: 15182-UP

1шт.

3

01010-31030

BOLT

SN: 15182-UP

11шт.

4

01010-31035

BOLT

SN: 15182-UP

31шт.

5

01010-31085

BOLT

SN: 22782-UP

5шт.

6

01602-01030

WASHER

SN: 15182-UP

47шт.

7

07044-13620

PLUG

SN: 15182-UP

1шт.

8

07000-03032

O-RING (K2)

SN: 15182-UP

1шт.

|$8

6693-22-5600

VALVE ASS'Y

SN: 15182-UP

1шт.

9

6693-22-5610

BODY

SN: 15182-UP

1шт.

10

6693-22-5620

VALVE

SN: 15182-UP

1шт.

11

07040-02412

PLUG

SN: 15182-UP

1шт.

12

04400-00310

RIVET

SN: 15182-UP

1шт.

13

07000-63028

O-RING

SN: 15182-UP

1шт.

14

01010-31025

BOLT

SN: 15182-UP

2шт.

15

01602-01030

WASHER

SN: 15182-UP

2шт.

16

01640-21016

WASHER

SN: 15182-UP

2шт.

17

6127-21-5660

GUIDE

SN: 30370-UP

1шт.

18

6128-21-5400

GAUGE

SN: 15182-UP

1шт.

19

6127-21-5550

GASKET (K2)

SN: 30370-UP

1шт.

20

01010-30825

BOLT

SN: 30370-UP

2шт.

21

01602-00825

WASHER

SN: 30370-UP

2шт.

22

6127-21-7343

BRACKET

SN: 30370-UP

1шт.

23

6127-21-5670

CLIP

SN: 30370-UP

1шт.

24

01010-31035

BOLT

SN: 30370-UP

1шт.

25

01640-21016

WASHER

SN: 30370-UP

2шт.

26

01580-01008

NUT

SN: 15182-UP

1шт.

27

01010-31240

BOLT,(SEE FIG.1405)

SN: 15182-UP

2шт.

28

01602-01236

WASHER,(SEE FIG.1405)

SN: 15182-UP

2шт.

29

01643-31232

WASHER,(SEE FIG.1405)

SN: 15182-UP

2шт.

30

02720-11616

PLUG

SN: 30370-UP

2шт.

31

02720-20607

PLUG

SN: 15182-UP

1шт.

Выбрано товаров: 64