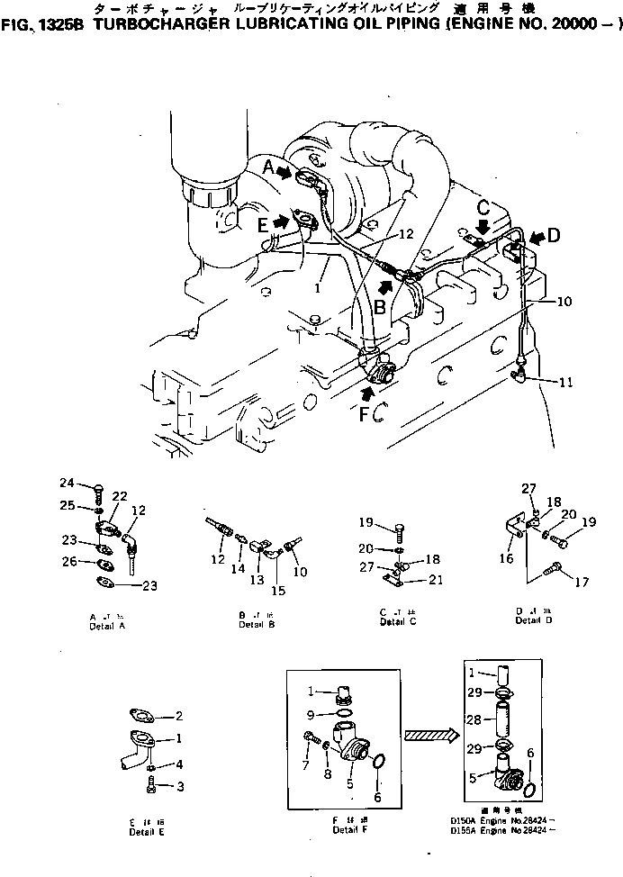
Запчасти Komatsu S6D155-4E ЛИНИЯ СМАЗКИ ТУРБОНАГНЕТАТЕЛЯ(№-) СИСТЕМА СМАЗКИ МАСЛ. СИСТЕМА

Схема запчастей Komatsu S6D155-4E - ЛИНИЯ СМАЗКИ ТУРБОНАГНЕТАТЕЛЯ(№-) СИСТЕМА СМАЗКИ МАСЛ. СИСТЕМА
FIT
1:1
100%

Артикул

Название

Примечание

Количество

1

6127-51-8440

PIPE

SN: 28424-UP

1шт.

1

6127-51-8112

PIPE

SN: 28014-28423

1шт.

1

6127-51-8111

PIPE

SN: 15182-28103

1шт.

2

6127-51-6821

GASKET (K1)

SN: 28104-UP

1шт.

2

0

GASKET (K1)

SN: 15182-28103

1шт.

3

01050-31030

BOLT

SN: 20000-UP

2шт.

4

01602-01030

WASHER

SN: 15182-UP

2шт.

5

6127-51-8450

CONNECTOR

SN: 28424-UP

1шт.

5

6128-51-8180

CONNECTOR

SN: 15182-28423

1шт.

6

07000-63032

O-RING (K1)

SN: 15182-UP

1шт.

7

01010-31050

BOLT

SN: 15182-UP

2шт.

8

01602-01030

WASHER

SN: 15182-UP

2шт.

9

07000-63035

O-RING (K1)

SN: 20000-28423

1шт.

10

6127-51-8321

PIPE

SN: 20000-UP

1шт.

11

07217-51013

ELBOW

SN: 20000-UP

1шт.

12

6127-51-8310

HOSE

SN: 20000-UP

1шт.

13

6127-51-8340

JOINT

SN: 20000-UP

1шт.

14

07214-50813

CONNECTOR

SN: 20000-UP

1шт.

15

07217-51013

ELBOW

SN: 20000-UP

1шт.

16

6127-51-8250

BRACKET

SN: 20000-UP

1шт.

17

01010-31290

BOLT

SN: 20000-UP

1шт.

18

6127-51-8381

CLAMP

SN: 24583-UP

1шт.

18

6127-51-8381

CLAMP

SN: 20000-24582

2шт.

19

01010-30810

BOLT

SN: 24583-UP

1шт.

19

01010-30810

BOLT

SN: 20000-24582

2шт.

20

01602-00825

WASHER

SN: 24583-UP

1шт.

20

01602-00825

WASHER

SN: 20000-24582

2шт.

21

6127-51-8371

BRACKET

SN: 20006-UP

1шт.

22

6127-51-8330

FLANGE

SN: 20000-UP

1шт.

23

6128-51-8151

GASKET (K1)

SN: 28104-UP

1шт.

23

0

GASKET (K1)

SN: 20000-28103

1шт.

24

01010-30835

BOLT

SN: 20000-UP

2шт.

25

01602-00825

WASHER

SN: 20000-UP

2шт.

27

6127-51-8390

RUBBER

SN: 24583-UP

1шт.

27

6127-51-8390

RUBBER

SN: 20006-24582

2шт.

28

6127-51-8470

HOSE

SN: 28424-UP

1шт.

29

07281-00489

CLAMP

SN: 28424-UP

2шт.

1

6127-51-8440

PIPE

SN: 28424-UP

1шт.

1

6127-51-8112

PIPE

SN: 28014-28423

1шт.

1

6127-51-8111

PIPE

SN: 15182-28103

1шт.

2

6127-51-6821

GASKET (K1)

SN: 28104-UP

1шт.

2

0

GASKET (K1)

SN: 15182-28103

1шт.

3

01050-31030

BOLT

SN: 20000-UP

2шт.

4

01602-01030

WASHER

SN: 15182-UP

2шт.

5

6127-51-8450

CONNECTOR

SN: 28424-UP

1шт.

5

6128-51-8180

CONNECTOR

SN: 15182-28423

1шт.

6

07000-63032

O-RING (K1)

SN: 15182-UP

1шт.

7

01010-31050

BOLT

SN: 15182-UP

2шт.

8

01602-01030

WASHER

SN: 15182-UP

2шт.

9

07000-63035

O-RING (K1)

SN: 20000-28423

1шт.

10

6127-51-8321

PIPE

SN: 20000-UP

1шт.

11

07217-51013

ELBOW

SN: 20000-UP

1шт.

12

6127-51-8310

HOSE

SN: 20000-UP

1шт.

13

6127-51-8340

JOINT

SN: 20000-UP

1шт.

14

07214-50813

CONNECTOR

SN: 20000-UP

1шт.

15

07217-51013

ELBOW

SN: 20000-UP

1шт.

16

6127-51-8250

BRACKET

SN: 20000-UP

1шт.

17

01010-31290

BOLT

SN: 20000-UP

1шт.

18

6127-51-8381

CLAMP

SN: 24583-UP

1шт.

18

6127-51-8381

CLAMP

SN: 20000-24582

2шт.

19

01010-30810

BOLT

SN: 24583-UP

1шт.

19

01010-30810

BOLT

SN: 20000-24582

2шт.

20

01602-00825

WASHER

SN: 24583-UP

1шт.

20

01602-00825

WASHER

SN: 20000-24582

2шт.

21

6127-51-8371

BRACKET

SN: 20006-UP

1шт.

22

6127-51-8330

FLANGE

SN: 20000-UP

1шт.

23

6128-51-8151

GASKET (K1)

SN: 28104-UP

1шт.

23

0

GASKET (K1)

SN: 20000-28103

1шт.

24

01010-30835

BOLT

SN: 20000-UP

2шт.

25

01602-00825

WASHER

SN: 20000-UP

2шт.

27

6127-51-8390

RUBBER

SN: 24583-UP

1шт.

27

6127-51-8390

RUBBER

SN: 20006-24582

2шт.

28

6127-51-8470

HOSE

SN: 28424-UP

1шт.

29

07281-00489

CLAMP

SN: 28424-UP

2шт.

Выбрано товаров: 74