Запчасти Komatsu S6D155-4E МАСЛ. ФИЛЬТР И КРЕПЛЕНИЕ(№8-) СИСТЕМА СМАЗКИ МАСЛ. СИСТЕМА

Схема запчастей Komatsu S6D155-4E - МАСЛ. ФИЛЬТР И КРЕПЛЕНИЕ(№8-) СИСТЕМА СМАЗКИ МАСЛ. СИСТЕМА
FIT
1:1
100%

Артикул

Название

Примечание

Количество

|1

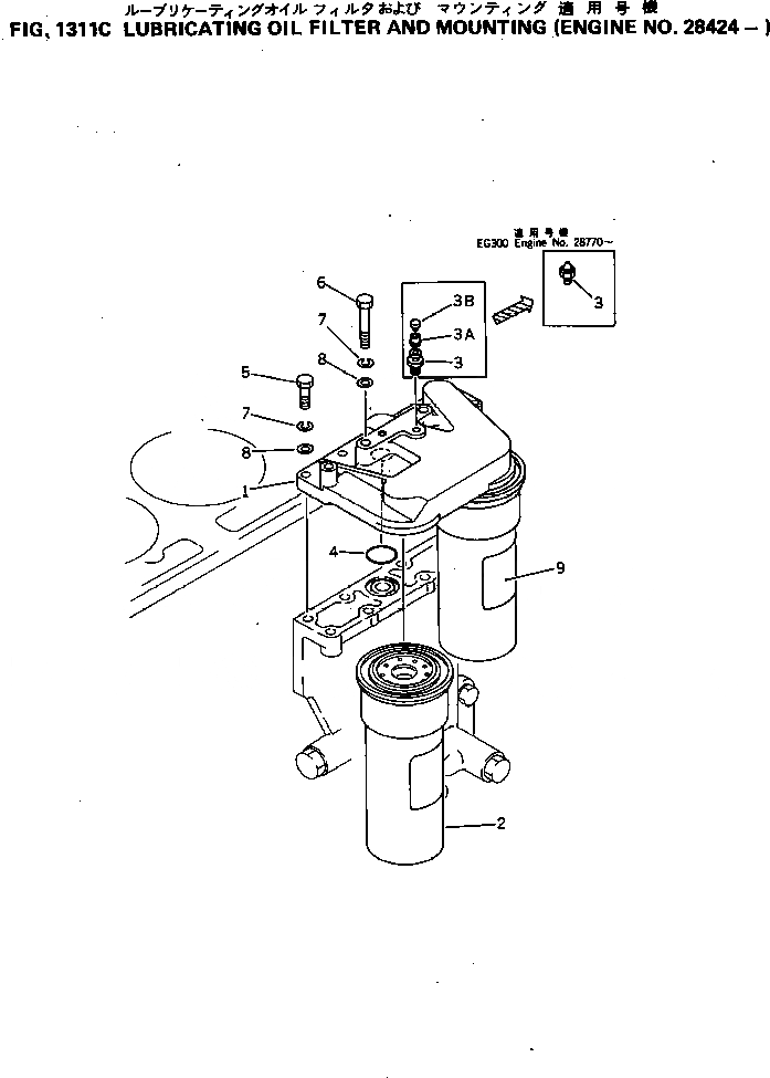
6127-51-5403

OIL FILTER ASS'Y

SN: 28424-UP

1шт.

1

6127-51-5413

COVER

SN: 28424-UP

1шт.

2

600-211-1230

CARTRIDGE

SN: 25484-UP

2шт.

3

07213-50510

CONNECTOR

SN: 20000-UP

1шт.

4

07000-65055

O-RING (K2)

SN: 20000-UP

2шт.

5

01010-31240

BOLT

SN: 20000-UP

5шт.

6

01010-31285

BOLT

SN: 20000-UP

3шт.

7

01602-01236

WASHER

SN: 20000-UP

8шт.

8

01640-21223

WASHER

SN: 20000-UP

8шт.

|1

6127-51-5403

OIL FILTER ASS'Y

SN: 28424-UP

1шт.

1

6127-51-5413

COVER

SN: 28424-UP

1шт.

2

600-211-1230

CARTRIDGE

SN: 25484-UP

2шт.

3

07213-50510

CONNECTOR

SN: 20000-UP

1шт.

4

07000-65055

O-RING (K2)

SN: 20000-UP

2шт.

5

01010-31240

BOLT

SN: 20000-UP

5шт.

6

01010-31285

BOLT

SN: 20000-UP

3шт.

7

01602-01236

WASHER

SN: 20000-UP

8шт.

8

01640-21223

WASHER

SN: 20000-UP

8шт.

Выбрано товаров: 18