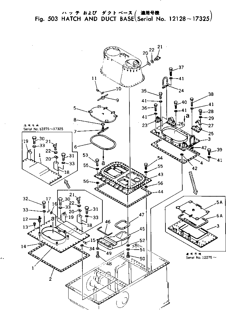
Запчасти Komatsu D155W-1 ЛЮК И ВОЗДУХОВОДЫ ОСНОВ.(№8-7) ЧАСТИ КОРПУСА

Схема запчастей Komatsu D155W-1 - ЛЮК И ВОЗДУХОВОДЫ ОСНОВ.(№8-7) ЧАСТИ КОРПУСА
FIT
1:1
100%

Артикул

Название

Примечание

Количество

1

177-54-13275

COVER

SN: 12275-17325

1шт.

1

177-54-13274

COVER

SN: 12128-12274

1шт.

2

177-54-13282

GASKET

SN: 12128-@

1шт.

3

177-54-13254

COVER

SN: 12275-@

1шт.

3

177-54-13253

COVER

SN: 12128-12274

1шт.

4

177-54-13262

GASKET

SN: 12128-@

1шт.

5

175-894-3584

COVER

SN: 12275-@

1шт.

5

175-894-3583

COVER

SN: 12128-12274

2шт.

5A

177-54-14480

COVER

SN: 12275-@

1шт.

6

175-894-3642

PACKING

SN: 12275-@

1шт.

6

175-894-3641

PACKING

SN: 12128-12274

2шт.

6A

177-54-14490

PACKING

SN: 12275-@

1шт.

7

175-894-3613

HOLDER

SN: 12128-@

2шт.

8

07000-03028

O-RING

SN: 12128-@

2шт.

9

175-894-3620

LEVER

SN: 12128-@

2шт.

10

175-894-3631

LOCK

SN: 12128-@

2шт.

11

04025-00532

PIN

SN: 12128-@

2шт.

12

175-894-4442

BOLT ASS'Y

SN: 12128-17325

8шт.

13

04205-01650

PIN

SN: 12128-@

8шт.

14

175-892-8180

PIN

SN: 13344-@

8шт.

14

0

PIN

SN: 12128-13343

8шт.

15

175-894-4430

PIN

SN: 12128-@

4шт.

16

01641-21626

WASHER

SN: 12128-@

4шт.

17

175-892-8180

PIN

SN: 13344-@

4шт.

17

0

PIN

SN: 12128-13343

4шт.

18

177-54-13852

BRACKET,L.H.

SN: 12275-17325

1шт.

18

177-54-13851

BRACKET,L.H.

SN: 12128-12274

1шт.

19

177-54-13862

BRACKET,R.H.

SN: 12275-17325

1шт.

19

177-54-13861

BRACKET,R.H.

SN: 12128-12274

1шт.

20

175-894-4250

PLATE

SN: 12128-17325

4шт.

21

175-894-4260

BOLT

SN: 12128-17325

4шт.

22

01602-21236

WASHER

SN: 12128-17325

4шт.

23

175-894-1793

BRACKET

SN: 12128-@

2шт.

24

177-54-14380

HANDRAIL

SN: 12128-@

2шт.

25

177-54-14350

PLATE,L.H.

SN: 12128-@

1шт.

26

177-54-14360

PLATE,R.H.

SN: 12128-@

1шт.

27

177-54-14370

CLAMP

SN: 12128-@

2шт.

28

01010-51225

BOLT

SN: 12128-@

4шт.

29

01602-21236

WASHER

SN: 12128-@

4шт.

30

01010-51640

BOLT

SN: 12128-@

9шт.

31

01010-51645

BOLT

SN: 12128-@

4шт.

32

01010-51650

BOLT

SN: 12128-@

37шт.

33

01602-21648

WASHER

SN: 12128-@

50шт.

34

177-54-13310

WASHER

SN: 12128-@

50шт.

35

01010-51645

BOLT

SN: 12128-@

4шт.

36

01010-51650

BOLT

SN: 12128-@

4шт.

37

01010-51660

BOLT

SN: 12128-@

4шт.

38

01010-51660

BOLT

SN: 12128-@

8шт.

39

01010-31640

BOLT

SN: 12128-@

13шт.

40

01010-31650

BOLT

SN: 12128-@

15шт.

41

01602-01648

WASHER

SN: 12128-@

48шт.

42

177-54-13310

WASHER

SN: 12128-@

44шт.

43

177-54-13812

COVER

SN: 12128-@

1шт.

44

177-54-13821

GASKET

SN: 12128-@

1шт.

45

177-54-14131

DUCT

SN: 12128-@

1шт.

46

177-54-13972

SEAT

SN: 12128-@

1шт.

47

177-54-13961

SEAT

SN: 12128-@

1шт.

48

01010-51225

BOLT

SN: 12128-@

2шт.

49

01602-21236

WASHER

SN: 12128-@

2шт.

50

01010-51235

BOLT

SN: 12128-@

4шт.

51

01602-21236

WASHER

SN: 12128-@

4шт.

52

01641-21223

WASHER

SN: 12128-@

4шт.

53

01010-51640

BOLT

SN: 12128-@

30шт.

54

01010-51650

BOLT

SN: 12128-@

26шт.

55

01602-21648

WASHER

SN: 12128-@

56шт.

56

177-54-13310

WASHER

SN: 12128-@

56шт.

Выбрано товаров: 66