Запчасти Komatsu D155W-1 ТОПЛ. БАК И ТОПЛИВОПРОВОД(№8-9) КОМПОНЕНТЫ ДВИГАТЕЛЯ И ЭЛЕКТРИКА

Схема запчастей Komatsu D155W-1 - ТОПЛ. БАК И ТОПЛИВОПРОВОД(№8-9) КОМПОНЕНТЫ ДВИГАТЕЛЯ И ЭЛЕКТРИКА
FIT
1:1
100%

Артикул

Название

Примечание

Количество

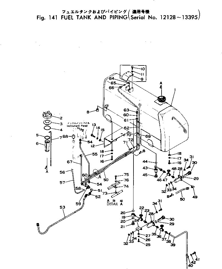
1

177-04-11111

TANK,FUEL

SN: 12128-13395

1шт.

2

175-894-1142

CAP

SN: 12128-@

1шт.

3

175-894-1131

CAP

SN: 12128-@

1шт.

4

07000-05110

O-RING

SN: 12128-@

1шт.

5

110-04-11120

RING

SN: 12128-@

1шт.

6

131-04-41120

STRAINER

SN: 12128-@

1шт.

7

175-04-22111

GAUGE,FUEL LEVEL

SN: 12128-@

1шт.

8

177-04-11220

PLUG

SN: 12128-@

1шт.

9

175-894-1180

COVER

SN: 12128-13395

1шт.

10

01010-51020

BOLT

SN: 12128-13395

4шт.

11

01602-21030

WASHER

SN: 12128-13395

4шт.

12

175-04-25221

BRACKET

SN: 12128-@

1шт.

13

01010-52065

BOLT

SN: 12128-@

6шт.

14

01602-22060

WASHER

SN: 12128-@

6шт.

15

01643-32060

WASHER

SN: 12128-@

6шт.

16

01010-82470

BOLT

SN: 12128-@

6шт.

17

01602-22472

WASHER

SN: 12128-@

6шт.

18

01643-32460

WASHER

SN: 12128-@

6шт.

19

195-04-11230

JOINT

SN: 12128-@

1шт.

20

07000-03035

O-RING

SN: 12128-@

2шт.

21

195-04-11280

BOLT

SN: 12128-@

1шт.

22

177-04-11180

VALVE

SN: 12128-@

1шт.

23

154-04-11150

NIPPLE

SN: 12128-@

1шт.

24

177-04-11170

PLATE

SN: 12128-13395

1шт.

25

01010-51025

BOLT

SN: 12128-13395

2шт.

26

01602-21030

WASHER

SN: 12128-13395

2шт.

27

01643-31032

WASHER

SN: 12128-13395

2шт.

|$27

154-04-00073

STRAINER ASS'Y

SN: 12128-@

2шт.

28

154-04-12510

CASE

SN: 12128-@

1шт.

29

07000-03040

O-RING

SN: 12128-@

1шт.

30

154-04-12531

STRAINER

SN: 12128-@

1шт.

31

01010-50830

BOLT

SN: 12128-13395

4шт.

32

01580-10806

NUT

SN: 12128-13395

4шт.

33

01602-20825

WASHER

SN: 12128-13395

4шт.

34

01641-20812

WASHER

SN: 12128-13395

8шт.

35

154-04-11150

NIPPLE

SN: 12128-13395

1шт.

36

177-04-11180

VALVE

SN: 12128-@

1шт.

37

154-04-12480

NIPPLE

SN: 12128-13395

1шт.

38

175-04-25180

CLIP

SN: 12128-@

1шт.

39

07270-01295

TUBE

SN: 12128-@

1шт.

40

131-04-21130

CLIP

SN: 12128-@

1шт.

41

01010-51220

BOLT

SN: 12128-@

1шт.

42

01602-21236

WASHER

SN: 12128-@

1шт.

43

177-04-11210

TUBE

SN: 12128-13395

1шт.

44

07000-03035

O-RING

SN: 12128-@

2шт.

45

195-04-11280

BOLT

SN: 12128-@

1шт.

46

07213-61521

CONNECTOR

SN: 12128-13395

1шт.

47

177-04-11180

VALVE

SN: 12128-@

1шт.

48

154-04-11150

NIPPLE

SN: 12128-@

1шт.

49

195-04-12280

ELBOW

SN: 12128-@

1шт.

50

07100-20419

HOSE

SN: 12128-@

1шт.

51

195-04-12280

ELBOW

SN: 12128-@

1шт.

52

177-02-11811

NIPPLE

SN: 12128-@

1шт.

53

07100-20418

HOSE

SN: 12128-@

1шт.

54

07213-50510

CONNECTOR

SN: 12128-@

2шт.

55

195-06-13560

TUBE

SN: 12128-@

1шт.

56

04059-01016

WIRE

SN: 12128-@

1шт.

57

177-04-11150

TUBE

SN: 12128-13395

1шт.

58

175-04-25180

CLIP

SN: 12128-@

1шт.

59

07834-00410

ELBOW

SN: 12128-@

1шт.

60

07831-00411

SLEEVE

SN: 12128-@

2шт.

61

07832-00410

NUT

SN: 12128-@

2шт.

62

07822-00435

TUBE

SN: 12128-@

1шт.

63

07836-00410

CONNECTOR

SN: 12128-@

1шт.

64

07834-00617

ELBOW

SN: 12128-@

2шт.

65

07831-00612

SLEEVE

SN: 12128-@

2шт.

66

07832-00614

NUT

SN: 12128-@

2шт.

67

07822-00640

TUBE

SN: 12128-@

1шт.

68

07030-00252

BREATHER

SN: 12128-@

1шт.

69

08036-11214

CLIP

SN: 12128-@

3шт.

70

08036-10810

CLIP

SN: 12128-@

3шт.

71

01010-50816

BOLT

SN: 12128-@

3шт.

72

01602-20825

WASHER

SN: 12128-@

3шт.

73

08036-02514

CLIP

SN: 12128-@

2шт.

74

08036-11214

CLIP

SN: 12128-@

2шт.

75

01010-51220

BOLT

SN: 12128-@

2шт.

76

01602-21236

WASHER

SN: 12128-@

2шт.

Выбрано товаров: 77