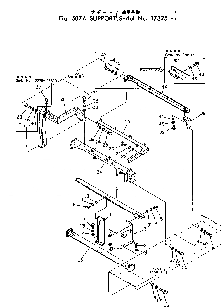
Запчасти Komatsu D155W-1 СУППОРТ(№7-) ЧАСТИ КОРПУСА

Схема запчастей Komatsu D155W-1 - СУППОРТ(№7-) ЧАСТИ КОРПУСА
FIT
1:1
100%

Артикул

Название

Примечание

Количество

1

177-54-11762

BRACKET

SN: 17325-UP

1шт.

2

01010-51450

BOLT

SN: 17325-UP

4шт.

3

01643-31445

WASHER

SN: 23891-UP

4шт.

3

01602-21442

WASHER

SN: 17325-23890

4шт.

4

177-54-11731

BRACKET

SN: 17325-UP

1шт.

5

01010-51230

BOLT

SN: 12128-UP

4шт.

6

01602-21236

WASHER

SN: 12128-23890

4шт.

7

01643-31232

WASHER

SN: 12128-UP

4шт.

8

01010-51230

BOLT

SN: 17325-UP

2шт.

9

01602-21236

WASHER

SN: 17325-23890

2шт.

10

01643-31232

WASHER

SN: 17325-UP

2шт.

11

177-54-11392

BRACKET

SN: 17325-UP

1шт.

12

01010-51235

BOLT

SN: 17325-UP

2шт.

13

01602-21236

WASHER

SN: 17325-23890

2шт.

14

01643-31232

WASHER

SN: 17325-UP

2шт.

15

177-54-11382

SUPPORT

SN: 17325-UP

1шт.

16

01010-51645

BOLT

SN: 23891-UP

8шт.

16

01010-51650

BOLT

SN: 12128-23890

8шт.

17

01602-21648

WASHER

SN: 12128-23890

8шт.

18

01643-31645

WASHER

SN: 12128-UP

8шт.

19

177-54-11750

BRACKET

SN: 12128-UP

1шт.

20

01010-51230

BOLT

SN: 12128-UP

4шт.

21

01602-21236

WASHER

SN: 12128-23890

4шт.

22

01643-31232

WASHER

SN: 12128-UP

4шт.

23

01010-51235

BOLT

SN: 12128-UP

2шт.

24

01602-21236

WASHER

SN: 12128-UP

2шт.

25

01643-31232

WASHER

SN: 12128-23890

2шт.

26

177-54-11740

BRACKET

SN: 12128-UP

1шт.

27

177-54-14420

LOCK ASS'Y

SN: 12128-23890

1шт.

28

01010-51645

BOLT

SN: 12128-23890

7шт.

29

01602-21648

WASHER

SN: 12128-23890

7шт.

30

01643-31645

WASHER

SN: 12128-23890

7шт.

31

01010-51635

BOLT

SN: 23891-UP

2шт.

31

01010-51640

BOLT

SN: 12128-23890

2шт.

32

01602-21648

WASHER

SN: 12128-23890

2шт.

33

01643-31645

WASHER

SN: 12128-UP

2шт.

34

177-54-11353

SUPPORT

SN: 12128-UP

1шт.

35

01010-51645

BOLT

SN: 23891-UP

6шт.

35

01010-51650

BOLT

SN: 12128-23890

6шт.

36

01602-21648

WASHER

SN: 12128-23890

6шт.

37

01643-31645

WASHER

SN: 12128-UP

6шт.

38

175-54-22272

BRACKET

SN: 12128-UP

1шт.

39

01010-51235

BOLT

SN: 23891-UP

4шт.

39

01010-51240

BOLT

SN: 12128-23890

4шт.

40

01602-21236

WASHER

SN: 12128-UP

4шт.

41

01643-31232

WASHER

SN: 12128-UP

4шт.

42

177-54-11660

STAY

SN: 23891-UP

1шт.

42

175-54-22194

STAY

SN: 12128-23890

1шт.

43

01010-51240

BOLT

SN: 12128-UP

2шт.

44

01602-21236

WASHER

SN: 12128-23890

2шт.

45

01643-31232

WASHER

SN: 12128-UP

2шт.

Выбрано товаров: 51