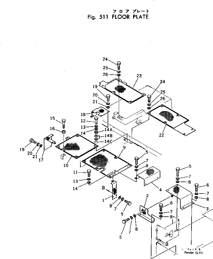
Запчасти Komatsu D155W-1 ПОЛ КАБИНЫ ЧАСТИ КОРПУСА

Схема запчастей Komatsu D155W-1 - ПОЛ КАБИНЫ ЧАСТИ КОРПУСА
FIT
1:1
100%

Артикул

Название

Примечание

Количество

1

177-54-11810

PLATE

SN: 12128-UP

1шт.

2

177-54-11791

PLATE

SN: 17325-UP

1шт.

2

177-54-11790

PLATE

SN: 12128-17324

1шт.

3

177-54-11781

COVER

SN: 17325-UP

1шт.

3

177-54-11780

COVER

SN: 12128-17324

1шт.

4

177-54-11771

COVER

SN: 17325-UP

1шт.

4

177-54-11770

COVER

SN: 12128-17324

1шт.

5

01020-01230

BOLT

SN: 13395-UP

10шт.

5

0

BOLT

SN: 12128-13394

10шт.

6

01020-01235

BOLT

SN: 13395-UP

4шт.

6

0

BOLT

SN: 12128-13394

4шт.

7

01602-21236

WASHER

SN: 12128-23891

14шт.

8

01643-31232

WASHER

SN: 12128-UP

14шт.

9

177-54-11454

FLOOR

SN: 23891-UP

1шт.

9

177-54-11453

FLOOR

SN: 18071-23890

1шт.

9

177-54-11452

FLOOR

SN: 12128-18070

1шт.

10

177-54-11463

FLOOR

SN: 23891-UP

1шт.

10

177-54-11462

FLOOR

SN: 18071-23890

1шт.

10

177-54-11461

FLOOR

SN: 12128-18070

1шт.

11

01020-01230

BOLT

SN: 20080-UP

1шт.

11

01020-01230

BOLT

SN: 13395-20079

6шт.

11

01020-01230

BOLT

SN: .-13394

7шт.

11

0

BOLT

SN: 12128-.

7шт.

12

01020-01235

BOLT

SN: 20080-UP

10шт.

12

01020-01230

BOLT

SN: 13395-20079

4шт.

12

0

BOLT

SN: 12128-13394

4шт.

13

01602-21236

WASHER

SN: 13395-20079

10шт.

13

01602-21236

WASHER

SN: 12128-13394

11шт.

14

01643-31232

WASHER

SN: 20080-UP

11шт.

14

01643-31232

WASHER

SN: 13395-20079

10шт.

14

01643-31232

WASHER

SN: 12128-13394

11шт.

14A

175-54-27360

COLLAR

SN: 20080-UP

10шт.

14B

175-54-27350

SPRING

SN: 20080-UP

20шт.

14C

175-54-28770

RING

SN: 20080-UP

10шт.

15

01010-51245

BOLT

SN: 12128-20079

1шт.

16

01580-11210

NUT

SN: 12128-20079

1шт.

17

177-54-11591

FLOOR

SN: 12128-UP

1шт.

18

177-54-11581

FLOOR

SN: 12128-UP

1шт.

19

01020-01230

BOLT

SN: 23891-UP

10шт.

19

01020-01230

BOLT

SN: 13395-23890

8шт.

19

0

BOLT

SN: 12128-13394

8шт.

20

01602-21236

WASHER

SN: 12128-23890

8шт.

21

01643-31232

WASHER

SN: 23891-UP

10шт.

21

01643-31232

WASHER

SN: 12128-23890

8шт.

22

177-54-11482

FLOOR

SN: 23891-UP

1шт.

22

177-54-11481

FLOOR

SN: 12128-23890

1шт.

23

177-54-11492

FLOOR

SN: 23891-UP

1шт.

23

177-54-11491

FLOOR

SN: 12128-23890

1шт.

24

01020-01230

BOLT

SN: 13395-UP

12шт.

24

0

BOLT

SN: 12128-13394

12шт.

25

01602-21236

WASHER

SN: 12128-23890

12шт.

26

01643-31232

WASHER

SN: 23891-UP

12шт.

Выбрано товаров: 52