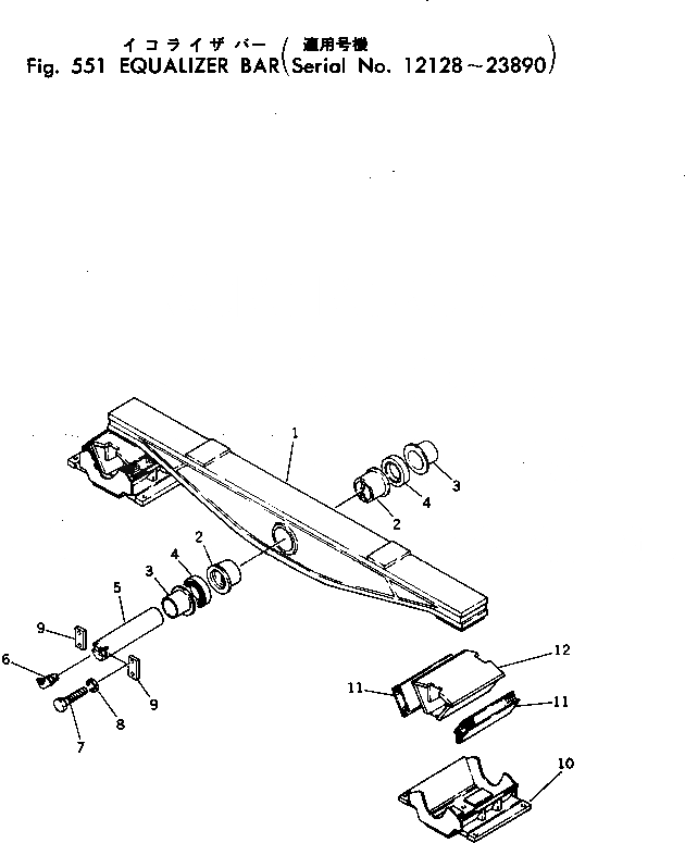
Запчасти Komatsu D155W-1 БАЛКА БАЛАНСИРА(№8-89) ЧАСТИ КОРПУСА

Схема запчастей Komatsu D155W-1 - БАЛКА БАЛАНСИРА(№8-89) ЧАСТИ КОРПУСА
FIT
1:1
100%

Артикул

Название

Примечание

Количество

1

177-50-11141

BAR,EQUALIZER

SN: 12128-@

1шт.

2

177-50-11160

BUSHING

SN: 12128-@

2шт.

3

175-50-31160

BUSHING

SN: 12128-@

2шт.

4

177-50-11170

SEAL

SN: 12128-@

2шт.

5

177-50-11150

PIN

SN: 12128-23890

1шт.

6

07020-00675

FITTING

SN: 12128-23890

1шт.

7

01018-61640

BOLT

SN: 12128-23890

4шт.

8

01602-21648

WASHER

SN: 12128-23890

4шт.

9

04082-00616

LOCK

SN: 12128-@

2шт.

10

175-50-32111

SUPPORT

SN: 12128-@

2шт.

11

170-50-12110

PAD

SN: 12128-@

4шт.

12

175-50-22131

SEAT

SN: 12128-@

2шт.

Выбрано товаров: 12