Запчасти Komatsu D155W-1 БАЛКА БАЛАНСИРА(№89-) ЧАСТИ КОРПУСА

Схема запчастей Komatsu D155W-1 - БАЛКА БАЛАНСИРА(№89-) ЧАСТИ КОРПУСА
FIT
1:1
100%

Артикул

Название

Примечание

Количество

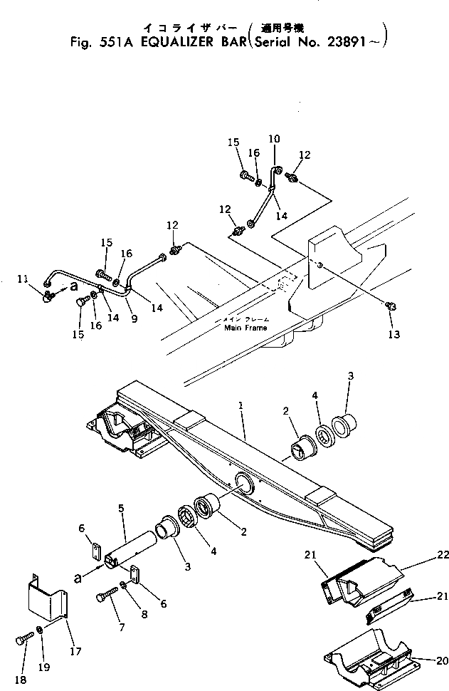
1

177-50-11141

BAR,EQUALIZER

SN: 12128-UP

1шт.

2

177-50-11160

BUSHING

SN: 12128-UP

2шт.

3

175-50-31160

BUSHING

SN: 12128-UP

2шт.

4

177-50-11170

SEAL

SN: 12128-UP

2шт.

5

177-50-11151

PIN

SN: 23891-UP

1шт.

6

04082-00616

LOCK

SN: 12128-UP

2шт.

7

01010-51640

BOLT

SN: 23891-UP

4шт.

8

01643-31645

WASHER

SN: 23891-UP

4шт.

9

177-50-11190

TUBE

SN: 23891-UP

1шт.

10

177-50-11210

TUBE

SN: 23891-UP

1шт.

11

566-35-12260

ELBOW

SN: 23891-UP

1шт.

12

07213-60610

CONNECTOR

SN: 23891-UP

3шт.

13

07020-00000

FITTING

SN: 23891-UP

1шт.

14

08036-10614

CLIP

SN: 23891-UP

3шт.

15

01020-01016

BOLT

SN: 23891-UP

3шт.

16

01643-31032

WASHER

SN: 23891-UP

3шт.

17

177-50-11180

COVER

SN: 23891-UP

1шт.

18

01020-01230

BOLT

SN: 23891-UP

4шт.

19

01643-31232

WASHER

SN: 23891-UP

4шт.

20

175-50-32111

SUPPORT

SN: 12128-UP

2шт.

21

170-50-12110

PAD

SN: 12128-UP

4шт.

22

175-50-22131

SEAT

SN: 12128-UP

2шт.

Выбрано товаров: 22