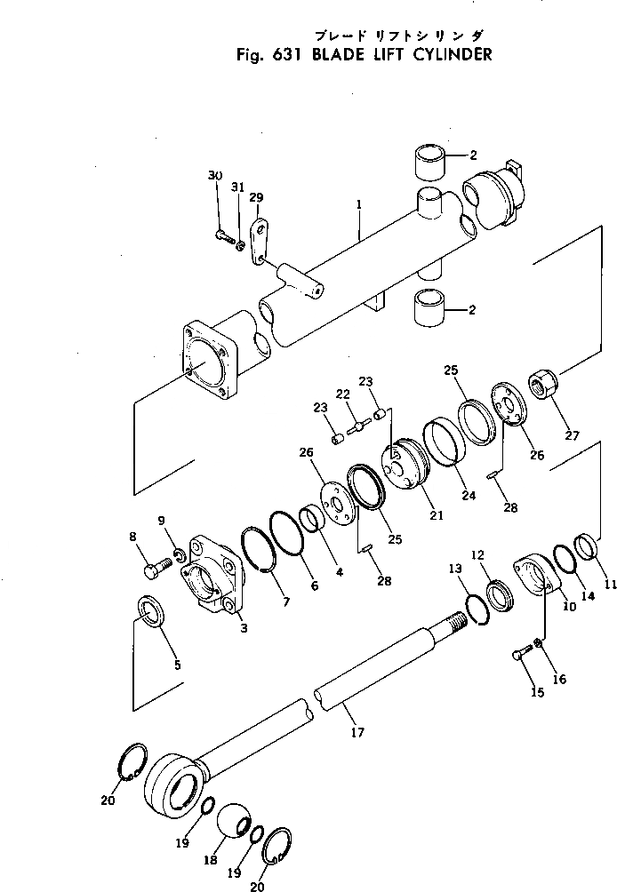
Запчасти Komatsu D155W-1 ЦИЛИНДР ПОДЪЕМА ОТВАЛА УПРАВЛ-Е РАБОЧИМ ОБОРУДОВАНИЕМ

Схема запчастей Komatsu D155W-1 - ЦИЛИНДР ПОДЪЕМА ОТВАЛА УПРАВЛ-Е РАБОЧИМ ОБОРУДОВАНИЕМ
FIT
1:1
100%

Артикул

Название

Примечание

Количество

|$0

177-63-12102

LIFT CYLINDER ASS'Y,L.H.

SN: 23985-UP

1шт.

|$1

0

LIFT CYLINDER ASS'Y,L.H.

SN: 23891-23984

1шт.

|$2

177-63-12202

LIFT CYLINDER ASS'Y,R.H.

SN: 23985-UP

1шт.

|$3

0

LIFT CYLINDER ASS'Y,R.H.

SN: 23891-23984

1шт.

|$4

177-63-12100

LIFT CYLINDER ASS'Y

SN: 12128-23890

2шт.

1

177-63-12140

CYLINDER,TUBE

SN: 12128-UP

1шт.

2

175-63-12540

BUSHING

SN: 12128-UP

2шт.

3

175-63-12130

HEAD,CYLINDER

SN: 12128-UP

1шт.

4

07177-07030

BUSHING

SN: 12128-UP

1шт.

5

707-51-70110

PACKING,ROD (KIT)

SN: 23891-UP

1шт.

5

154-63-42372

U-PACKING,ROD

SN: 12128-23890

1шт.

6

07000-12135

O-RING (KIT)

SN: 12128-UP

1шт.

7

07146-02136

RING,BACK-UP (KIT)

SN: 12128-UP

1шт.

8

01010-52470

BOLT

SN: 12128-UP

4шт.

9

707-88-75410

WASHER

SN: 23985-UP

4шт.

9

0

WASHER

SN: 12128-23984

4шт.

10

175-63-16171

GLAND

SN: 12128-UP

1шт.

11

07177-07015

BUSHING

SN: 12128-UP

1шт.

12

175-63-16280

SEAL,DUST (KIT)

SN: 12128-UP

1шт.

13

707-54-70020

STOPPER

SN: 23985-UP

1шт.

13

175-63-16270

RING,SNAP

SN: 12128-23984

1шт.

14

07000-03090

O-RING (KIT)

SN: 12128-UP

1шт.

15

01010-51670

BOLT

SN: 23985-UP

2шт.

15

01010-51655

BOLT

SN: 12128-23984

2шт.

16

01643-51645

WASHER

SN: 23985-UP

2шт.

16

01602-21648

WASHER

SN: 12128-23984

2шт.

17

177-63-12120

ROD,PISTON

SN: 12128-UP

1шт.

18

175-63-17170

BUSHING

SN: 12128-UP

2шт.

19

07000-03050

O-RING (KIT)

SN: 12128-UP

2шт.

20

175-63-17180

RING,SNAP

SN: 12128-UP

1шт.

|$30

175-63-12982

PISTON ASS'Y

SN: 12128-UP

1шт.

21

175-63-12451

PISTON

SN: 12128-UP

1шт.

22

175-63-12550

VALVE,PISTON

SN: 12128-UP

3шт.

23

175-63-12650

SEAT,VALVE

SN: 12128-UP

6шт.

24

07155-01435

RING,WEAR (KIT)

SN: 12128-UP

1шт.

25

707-42-14012

U-PACKING,PISTON (KIT)

SN: 23891-UP

2шт.

25

145-63-32471

PACKING,PISTON

SN: 12128-23890

2шт.

26

707-40-14030

RETAINER

SN: 23891-UP

2шт.

26

175-63-12351

RETAINER

SN: 12128-23890

2шт.

27

07165-14547

NUT,NYLON

SN: 12128-UP

1шт.

28

04020-00616

PIN

SN: 12128-UP

2шт.

29

175-61-12140

PLATE

SN: 12128-UP

1шт.

30

01010-51245

BOLT

SN: 12128-UP

1шт.

31

01643-51232

WASHER

SN: 23985-UP

1шт.

31

0

WASHER

SN: 12128-23984

1шт.

|$45

707-99-51010

SERVICE KIT

SN: 23891-UP

2шт.

Выбрано товаров: 46