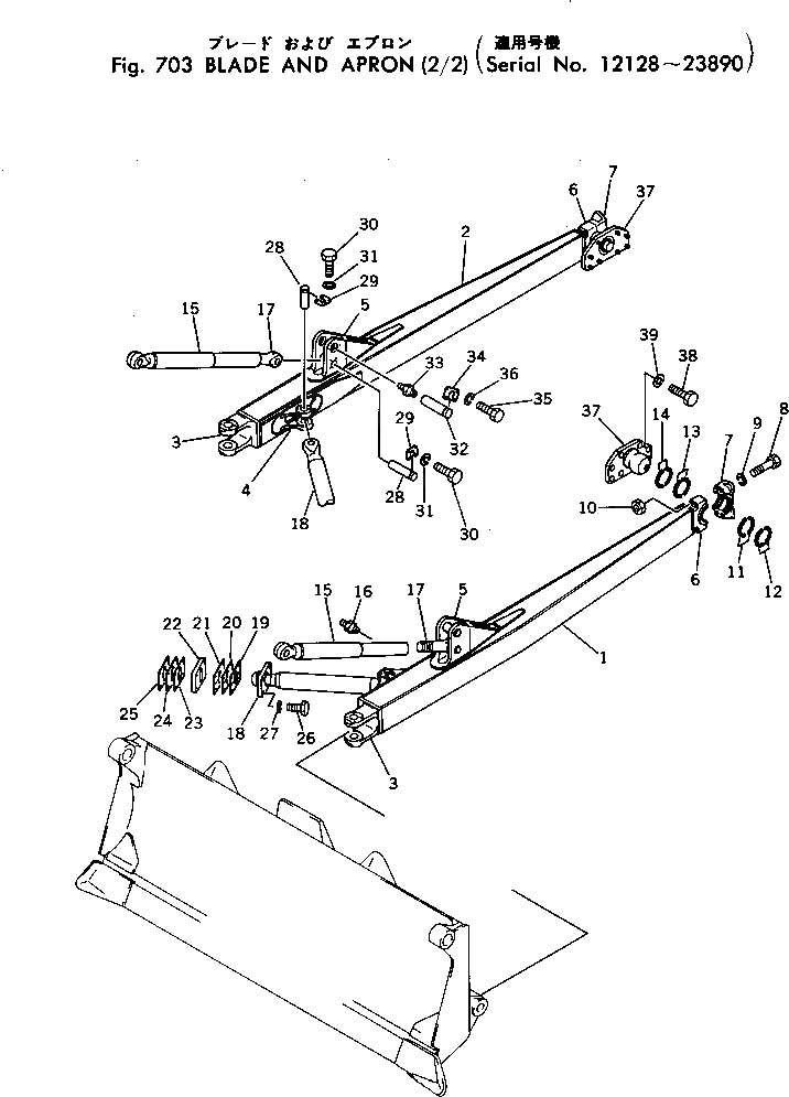
Запчасти Komatsu D155W-1 ОТВАЛ И APRON (/)(№8-89) РАБОЧЕЕ ОБОРУДОВАНИЕ

Схема запчастей Komatsu D155W-1 - ОТВАЛ И APRON (/)(№8-89) РАБОЧЕЕ ОБОРУДОВАНИЕ
FIT
1:1
100%

Артикул

Название

Примечание

Количество

1

177-71-11223

FRAME,L.H.

SN: 12128-23890

1шт.

2

177-71-11233

FRAME,R.H.

SN: 12128-23890

1шт.

3

177-71-11391

BRACKET (WELDED)

SN: 12128-23890

1шт.

4

175-71-27970

BRACKET (WELDED)

SN: 12128-23890

1шт.

5

177-71-11410

BRACKET (WELDED)

SN: 12128-23890

1шт.

6

177-71-11262

BRACKET (WELDED)

SN: 12128-@

1шт.

7

177-71-11471

CAP

SN: 12128-@

2шт.

8

175-71-11491

BOLT

SN: 12128-@

8шт.

9

01602-22268

WASHER

SN: 12128-23890

8шт.

10

175-71-11520

NUT

SN: 12128-@

8шт.

11

177-71-11490

SEAL

SN: 12128-@

4шт.

12

177-71-11510

PLATE

SN: 12128-17324

4шт.

13

177-71-11550

SEAL

SN: 12128-@

4шт.

14

177-71-11560

PLATE

SN: 12128-17324

4шт.

15

177-71-11210

BRACE

SN: 12128-@

2шт.

16

07020-00000

FITTING

SN: 12128-@

2шт.

17

175-71-11280

SCREW

SN: 12128-23890

2шт.

18

177-71-11370

ARM

SN: 12128-@

2шт.

|$18

175-71-00293

SHIM ASS'Y

SN: 12128-@

2шт.

19

0

SHIM, 0.5MM

SN: 12128-@

2шт.

20

0

SHIM, 1.0MM

SN: 12128-@

4шт.

21

0

SHIM, 2.3MM

SN: 12128-@

2шт.

22

175-71-11191

CAP

SN: 12128-@

2шт.

|$23

175-71-00301

SHIM ASS'Y

SN: 12128-@

2шт.

23

0

SHIM, 0.5MM

SN: 12128-@

2шт.

24

0

SHIM, 1.0MM

SN: 12128-@

2шт.

25

0

SHIM, 2.3MM

SN: 12128-@

6шт.

26

0

BOLT

SN: 12128-@

8шт.

27

01602-22783

WASHER

SN: 12128-23890

8шт.

28

154-71-21290

PIN

SN: 12128-23890

4шт.

29

175-71-21330

PLATE

SN: 12128-@

4шт.

30

01010-51435

BOLT

SN: 12128-@

16шт.

31

01602-01442

WASHER

SN: 12128-23890

16шт.

32

177-71-11590

PIN

SN: 17325-23890

2шт.

32

177-71-11360

PIN

SN: 12128-17324

2шт.

33

07020-00000

FITTING

SN: 12128-23890

2шт.

34

177-71-11440

LOCK

SN: 12128-@

2шт.

35

01010-51435

BOLT

SN: 12128-@

8шт.

36

01602-21442

WASHER

SN: 12128-23890

8шт.

37

175-70-23133

TRUNNION

SN: 12128-@

2шт.

38

01010-52450

BOLT

SN: 12128-@

16шт.

39

01602-22472

WASHER

SN: 12128-23890

16шт.

Выбрано товаров: 42