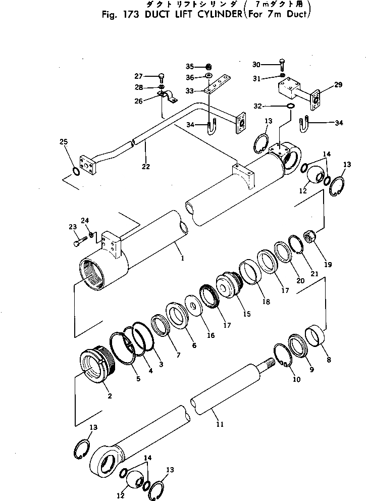
Запчасти Komatsu D155W-1 ВОЗДУХОВОДЫ ГИДРОЦИЛИНДР ПОДЪЕМА (ДЛЯ 7M ВОЗДУХОВОДЫ) КОМПОНЕНТЫ ДВИГАТЕЛЯ И ЭЛЕКТРИКА

Схема запчастей Komatsu D155W-1 - ВОЗДУХОВОДЫ ГИДРОЦИЛИНДР ПОДЪЕМА (ДЛЯ 7M ВОЗДУХОВОДЫ) КОМПОНЕНТЫ ДВИГАТЕЛЯ И ЭЛЕКТРИКА
FIT
1:1
100%

Артикул

Название

Примечание

Количество

|$0

177-63-83103

CYLINDER ASS'Y

SN: 23985-UP

1шт.

|$1

0

CYLINDER ASS'Y,L.H.

SN: 23891-23984

1шт.

|$2

177-63-83101

CYLINDER ASS'Y,L.H.

SN: 12128-23890

1шт.

|$3

177-63-83203

CYLINDER ASS'Y

SN: 23985-UP

1шт.

|$4

0

CYLINDER ASS'Y,R.H.

SN: 23891-23984

1шт.

|$5

177-63-83201

CYLINDER ASS'Y,R.H.

SN: 12128-23890

1шт.

1

177-63-83141

CYLINDER,TUBE

SN: 12128-UP

1шт.

2

177-63-83131

HEAD

SN: 23985-UP

1шт.

2

177-63-83130

HEAD,CYLINDER

SN: 12128-23984

1шт.

3

07000-12105

O-RING (KIT)

SN: 12128-UP

1шт.

4

101-63-81230

RING,BACK-UP (KIT)

SN: 12128-UP

1шт.

5

422-63-22260

LOCK

SN: 12128-UP

1шт.

6

177-63-83230

SPACER

SN: 12128-UP

1шт.

7

707-51-65110

PACKING,ROD (KIT)

SN: 23891-UP

1шт.

7

154-63-12173

PACKING,ROD

SN: 12128-23890

1шт.

8

07177-06530

BUSHING

SN: 12128-UP

1шт.

9

177-63-83170

SEAL,DUST (KIT)

SN: 12128-UP

1шт.

10

707-54-65010

STOPPER

SN: 23985-UP

1шт.

10

177-63-83160

RING,SNAP

SN: 12128-23984

1шт.

10A

01010-50616

BOLT

SN: 23985-UP

4шт.

10B

01643-30623

WASHER

SN: 23985-UP

4шт.

11

177-63-83120

ROD,PISTON

SN: 12128-UP

1шт.

12

175-63-82190

BUSHING

SN: 12128-UP

2шт.

13

175-63-82290

RING,SNAP

SN: 12128-UP

4шт.

14

07000-03030

O-RING (KIT)

SN: 12128-UP

4шт.

15

232-63-12471

PISTON

SN: 12128-UP

1шт.

16

707-40-90010

RETAINER

SN: 23891-UP

1шт.

16

232-63-12480

RETAINER

SN: 12128-23890

1шт.

17

707-42-90012

PACKING,PISTON (KIT)

SN: 23891-UP

2шт.

17

232-63-12451

PACKING,PISTON

SN: 12128-23890

2шт.

18

07155-00925

RING,WEAR (KIT)

SN: 12128-UP

1шт.

19

07165-12729

NUT,NYLON

SN: 12128-UP

1шт.

20

707-40-90510

RETAINER

SN: 23891-UP

1шт.

20

232-63-12490

RETAINER

SN: 12128-23890

1шт.

21

112-63-79550

RING,SNAP

SN: 12128-UP

1шт.

22

177-63-83180

TUBE,L.H.

SN: 12128-UP

1шт.

22

177-63-83280

TUBE,R.H.

SN: 12128-UP

1шт.

23

01010-50850

BOLT

SN: 12128-UP

4шт.

24

01643-50823

WASHER

SN: 23985-UP

4шт.

24

0

WASHER

SN: 12128-23984

4шт.

25

07000-13025

O-RING (KIT)

SN: 12128-UP

1шт.

26

07282-02288

CLAMP

SN: 12128-UP

1шт.

27

01010-51020

BOLT

SN: 12128-UP

2шт.

28

01643-51032

WASHER

SN: 23985-UP

2шт.

28

0

WASHER

SN: 12128-23984

2шт.

29

177-63-83190

TUBE,L.H.

SN: 12128-UP

1шт.

29

177-63-83290

TUBE,R.H.

SN: 12128-UP

1шт.

30

01010-50850

BOLT

SN: 12128-UP

4шт.

31

01643-50823

WASHER

SN: 23985-UP

4шт.

31

0

WASHER

SN: 12128-23984

4шт.

32

07000-13025

O-RING (KIT)

SN: 12128-UP

1шт.

33

177-63-83270

PLATE

SN: 12128-UP

1шт.

34

07283-12738

CLIP

SN: 12128-UP

2шт.

35

01599-01011

NUT

SN: 12128-UP

4шт.

36

01643-31032

WASHER

SN: 12128-UP

4шт.

|$55

707-99-27850

SERVICE KIT

SN: 23891-UP

2шт.

Выбрано товаров: 56