Запчасти Komatsu D155W-1 ПРИЕМН. И СОЛЕНОИД КОРПУС (/)(№89-) КОМПОНЕНТЫ ДВИГАТЕЛЯ И ЭЛЕКТРИКА

Схема запчастей Komatsu D155W-1 - ПРИЕМН. И СОЛЕНОИД КОРПУС (/)(№89-) КОМПОНЕНТЫ ДВИГАТЕЛЯ И ЭЛЕКТРИКА
FIT
1:1
100%

Артикул

Название

Примечание

Количество

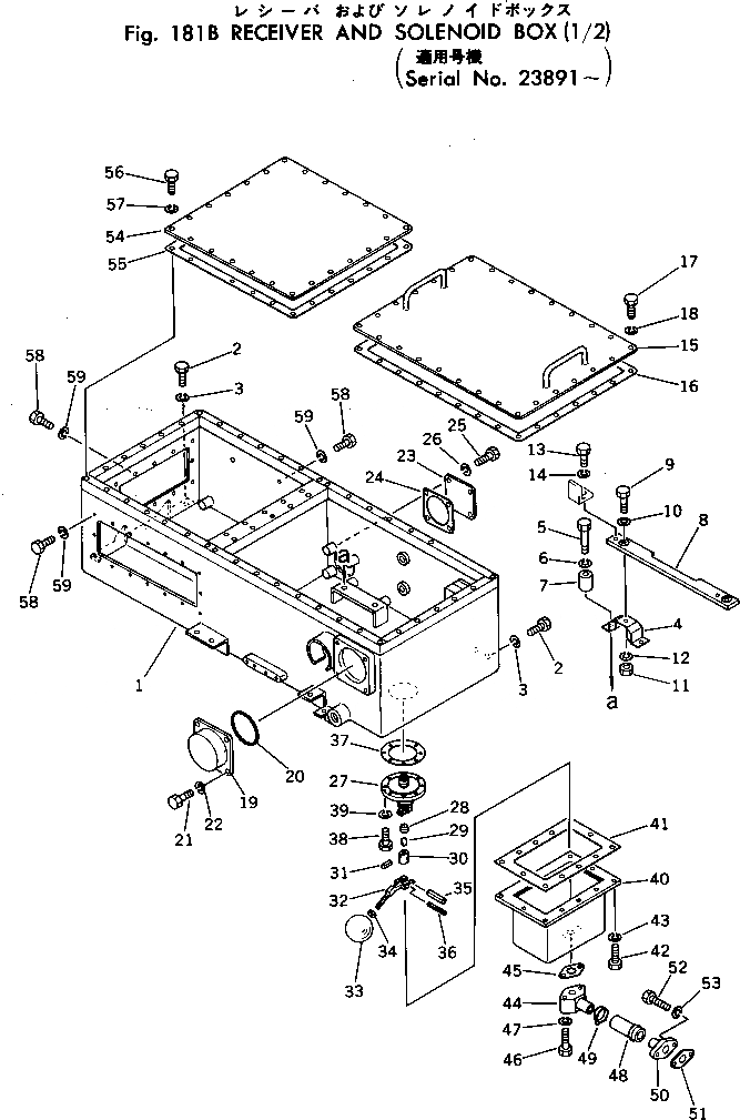
1

177-44-11214

CASE

SN: 23948-UP

1шт.

1

177-44-11213

CASE

SN: 23891-23947

1шт.

2

01010-51230

BOLT

SN: 23891-UP

7шт.

3

01602-21236

WASHER

SN: 23891-UP

7шт.

4

381-975-2651

CUSHION

SN: 23891-UP

4шт.

5

01010-50840

BOLT

SN: 23891-UP

8шт.

6

01602-20825

WASHER

SN: 23891-UP

8шт.

7

20D-62-17620

COLLAR

SN: 23891-UP

8шт.

8

177-44-11140

PLATE

SN: 23891-UP

2шт.

9

01010-50825

BOLT

SN: 23891-UP

4шт.

10

01643-30823

WASHER

SN: 23891-UP

4шт.

11

01580-10806

NUT

SN: 23891-UP

4шт.

12

01602-20825

WASHER

SN: 23891-UP

4шт.

13

01010-50820

BOLT

SN: 23891-UP

4шт.

14

01602-20825

WASHER

SN: 23891-UP

4шт.

15

177-44-11831

COVER

SN: 23891-UP

1шт.

16

177-44-11841

GASKET

SN: 23980-UP

1шт.

16

0

GASKET

SN: 12128-23979

1шт.

17

01020-01025

BOLT

SN: 13395-UP

28шт.

18

01602-21030

WASHER

SN: 12128-UP

28шт.

19

177-44-11852

COVER

SN: 23891-UP

1шт.

20

07000-02100

O-RING

SN: 23891-UP

1шт.

21

01020-01025

BOLT

SN: 23891-UP

4шт.

22

01602-21030

WASHER

SN: 23891-UP

4шт.

23

177-44-11870

FLANGE

SN: 12128-UP

1шт.

24

177-44-11881

GASKET

SN: 23980-UP

1шт.

24

0

GASKET

SN: 12128-23979

1шт.

25

01010-51020

BOLT

SN: 12128-UP

4шт.

26

01602-21030

WASHER

SN: 12128-UP

4шт.

|$29

6610-71-8704

VALVE ASS'Y,FLOAT

SN: 12128-UP

1шт.

27

6610-71-8710

BODY

SN: 12128-UP

1шт.

28

6610-71-8720

INSERT

SN: 12128-UP

1шт.

29

6600-01-1111

BALL

SN: 12128-UP

1шт.

30

6610-71-8751

GUIDE

SN: 12128-UP

1шт.

31

04025-00312

PIN

SN: 12128-UP

1шт.

32

6610-71-8742

YOKE

SN: 12128-UP

1шт.

33

6610-71-8732

BALL

SN: 12128-UP

1шт.

34

02206-10404

NUT

SN: 12128-UP

1шт.

35

6610-71-8771

PIN

SN: 12128-UP

1шт.

36

6610-71-8761

PIN

SN: 12128-UP

1шт.

37

177-44-11891

GASKET

SN: 23980-UP

1шт.

37

0

GASKET

SN: 12128-23979

1шт.

38

01010-50620

BOLT

SN: 12128-UP

8шт.

39

01602-20619

WASHER

SN: 12128-UP

8шт.

40

177-44-11910

COVER

SN: 12128-UP

1шт.

41

177-44-11921

GASKET

SN: 23980-UP

1шт.

41

0

GASKET

SN: 12128-23979

1шт.

42

01010-51025

BOLT

SN: 12128-UP

12шт.

43

01602-21030

WASHER

SN: 12128-UP

12шт.

44

177-44-11930

TUBE

SN: 12128-UP

1шт.

45

07343-02108

GASKET

SN: 12128-UP

1шт.

46

01010-51055

BOLT

SN: 12128-UP

2шт.

47

01602-21030

WASHER

SN: 12128-UP

2шт.

48

07260-22008

HOSE

SN: 12128-UP

1шт.

49

07281-10359

CLAMP

SN: 12128-UP

2шт.

50

177-44-11940

TUBE

SN: 12128-UP

1шт.

51

07343-02108

GASKET

SN: 12128-UP

1шт.

52

01010-51030

BOLT

SN: 12128-UP

2шт.

53

01602-21030

WASHER

SN: 12128-UP

2шт.

54

177-44-11231

COVER

SN: 12128-UP

1шт.

55

177-44-11791

GASKET

SN: 23980-UP

1шт.

55

0

GASKET

SN: 12128-23979

1шт.

56

01020-01025

BOLT

SN: 12128-UP

24шт.

57

01602-21030

WASHER

SN: 12128-UP

24шт.

58

01010-50820

BOLT

SN: 12128-UP

36шт.

59

01602-20825

WASHER

SN: 12128-UP

36шт.

Выбрано товаров: 66