Запчасти Komatsu D155W-1 РАДИО КОНТРОЛЛЕР(№89-979) КОМПОНЕНТЫ ДВИГАТЕЛЯ И ЭЛЕКТРИКА

Схема запчастей Komatsu D155W-1 - РАДИО КОНТРОЛЛЕР(№89-979) КОМПОНЕНТЫ ДВИГАТЕЛЯ И ЭЛЕКТРИКА
FIT
1:1
100%

Артикул

Название

Примечание

Количество

|$0

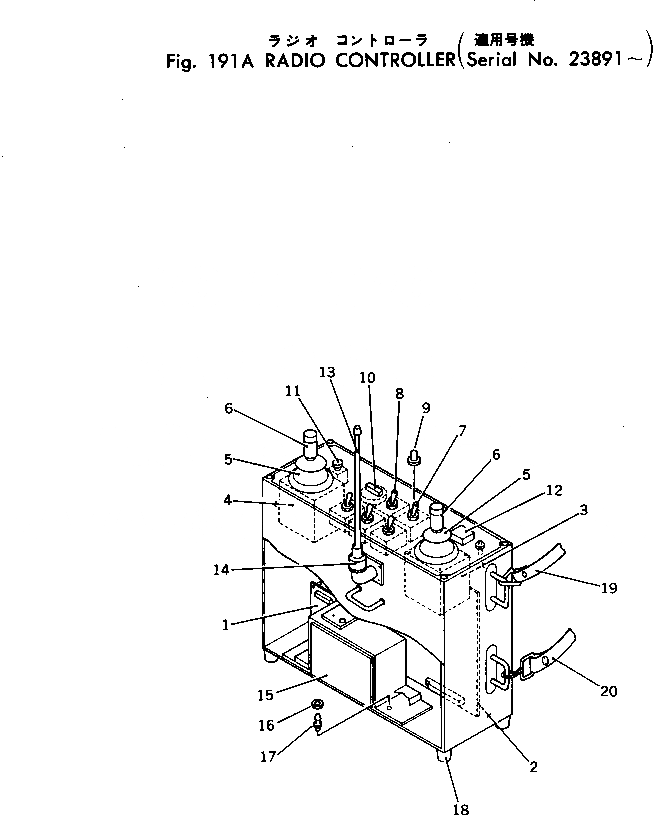
7808-31-1180

RADIO CONTROLLER A.,(141.56 MHZ)

SN: 23891-23979

1шт.

|$1

7808-30-6180

RADIO CONTROLLER A.,(141.72 MHZ)

SN: 23891-23979

1шт.

|$2

7808-12-4080

RADIO CONTROLLER A.,(141.04 MHZ)

SN: 23891-23979

1шт.

1

7808-11-1801

FM TX UNIT,(141.56 MHZ)

SN: 23891-23979

1шт.

1

7808-10-6801

FM TX UNIT,(141.72 MHZ)

SN: 23891-23979

1шт.

1

7808-12-4081

FM TX UNIT,(141.04 MHZ)

SN: 23891-23979

1шт.

2

7808-19-1412

PRINT CARD ASS'Y

SN: 23891-23979

1шт.

3

7808-19-1901

SWITCH ASS'Y,TRAVEL LEVER

SN: 23891-23979

1шт.

4

7808-19-1801

SWITCH ASS'Y,WORK EQUIPMENT LEVER

SN: 23891-23979

1шт.

5

7808-19-1962

BOOT

SN: 23891-@

2шт.

6

7808-19-1770

CAP

SN: 23891-@

2шт.

7

7808-19-1980

SWITCH

SN: 23891-23979

4шт.

8

7808-19-1990

SWITCH

SN: 23891-23979

1шт.

9

7808-19-1930

CAP

SN: 23891-@

6шт.

10

7808-19-1360

SWITCH,DUCT

SN: 23891-23979

1шт.

11

7808-19-1870

SWITCH,ENGINE CONTROL

SN: 23891-23979

1шт.

12

7808-10-1211

METER

SN: 23891-23979

1шт.

13

7808-19-1810

ANTENNA

SN: 23891-23979

1шт.

14

7808-19-1970

COVER

SN: 23891-23979

1шт.

15

7808-19-1601

BATTERY

SN: 23891-23979

1шт.

16

7808-19-1660

GROMMET

SN: 23891-23979

2шт.

17

7808-19-1670

PLUNGER

SN: 23891-23979

2шт.

18

7808-19-1210

CUSHION

SN: 23891-23979

4шт.

19

7808-19-1313

BELT

SN: 23891-23979

1шт.

20

7808-19-1320

BELT

SN: 23891-@

1шт.

Выбрано товаров: 0