Запчасти Komatsu D155W-1 РЫЧАГ СБРОСА ДАВЛЕНИЯ КОМПОНЕНТЫ ДВИГАТЕЛЯ И ЭЛЕКТРИКА

Схема запчастей Komatsu D155W-1 - РЫЧАГ СБРОСА ДАВЛЕНИЯ КОМПОНЕНТЫ ДВИГАТЕЛЯ И ЭЛЕКТРИКА
FIT
1:1
100%

Артикул

Название

Примечание

Количество

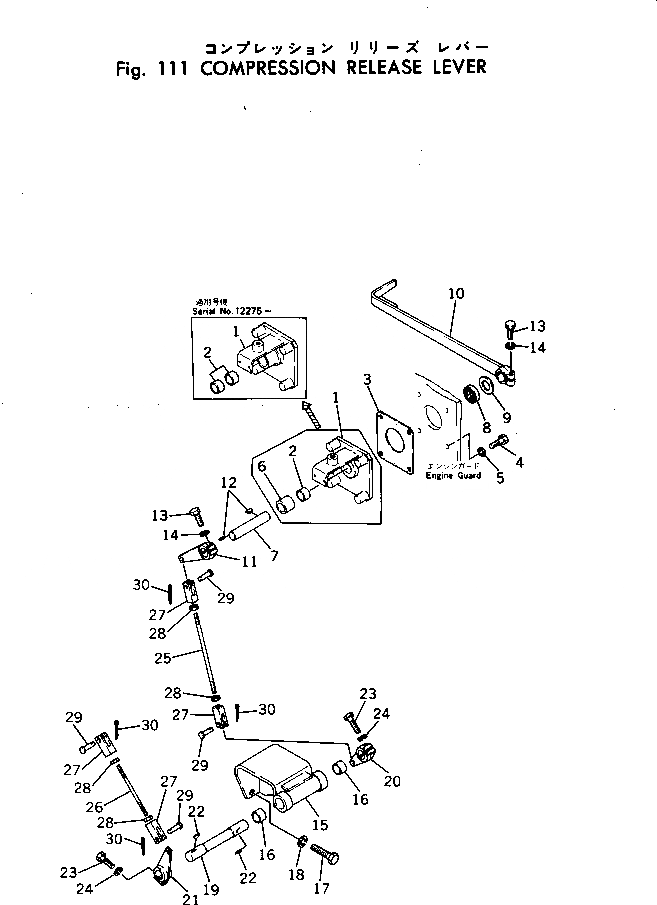
1

177-43-12390

BRACKET

SN: 12128-UP

1шт.

2

177-43-11790

BUSHING

SN: 12275-UP

2шт.

2

177-43-11790

BUSHING

SN: 12128-12274

1шт.

3

177-43-12411

GASKET

SN: 23980-UP

1шт.

3

0

GASKET

SN: 12128-23979

1шт.

4

01010-51025

BOLT

SN: 12128-UP

4шт.

5

01602-21030

WASHER

SN: 12128-UP

4шт.

6

177-43-12460

COLLAR

SN: 12128-UP

1шт.

7

177-43-11772

SHAFT

SN: 12128-UP

1шт.

8

177-60-12120

SEAL

SN: 12128-UP

1шт.

9

01640-02440

WASHER

SN: 12128-UP

1шт.

10

177-43-11811

LEVER

SN: 12128-UP

1шт.

11

177-43-12420

LEVER

SN: 12128-UP

1шт.

12

04010-00519

KEY

SN: 12128-UP

2шт.

13

01010-51035

BOLT

SN: 12128-UP

2шт.

14

01602-21030

WASHER

SN: 12128-UP

2шт.

15

177-43-11762

BRACKET

SN: 12128-UP

1шт.

16

177-43-11790

BUSHING

SN: 12128-UP

2шт.

17

01010-51230

BOLT

SN: 12128-UP

2шт.

18

01602-21236

WASHER

SN: 12128-UP

2шт.

19

177-43-12440

SHAFT

SN: 12128-UP

1шт.

20

177-43-12430

LEVER

SN: 12128-UP

1шт.

21

177-43-12450

LEVER

SN: 12128-UP

1шт.

22

04010-00519

KEY

SN: 12128-UP

2шт.

23

01010-51035

BOLT

SN: 12128-UP

2шт.

24

01602-21030

WASHER

SN: 12128-UP

2шт.

25

04245-40822

ROD

SN: 23891-UP

1шт.

25

04245-40824

ROD

SN: 12128-23890

1шт.

26

04245-40810

ROD

SN: 12128-UP

1шт.

27

04211-20844

YOKE

SN: 12128-UP

4шт.

28

01580-10806

NUT

SN: 12128-UP

4шт.

29

04205-10822

PIN

SN: 12128-UP

4шт.

30

04050-12012

PIN

SN: 12128-UP

4шт.

Выбрано товаров: 33