Запчасти Komatsu S6D155-4J МАСЛЯНЫЙ ФИЛЬТР И ТРУБЫ СИСТЕМА СМАЗКИ МАСЛ. СИСТЕМА

Схема запчастей Komatsu S6D155-4J - МАСЛЯНЫЙ ФИЛЬТР И ТРУБЫ СИСТЕМА СМАЗКИ МАСЛ. СИСТЕМА
FIT
1:1
100%

Артикул

Название

Примечание

Количество

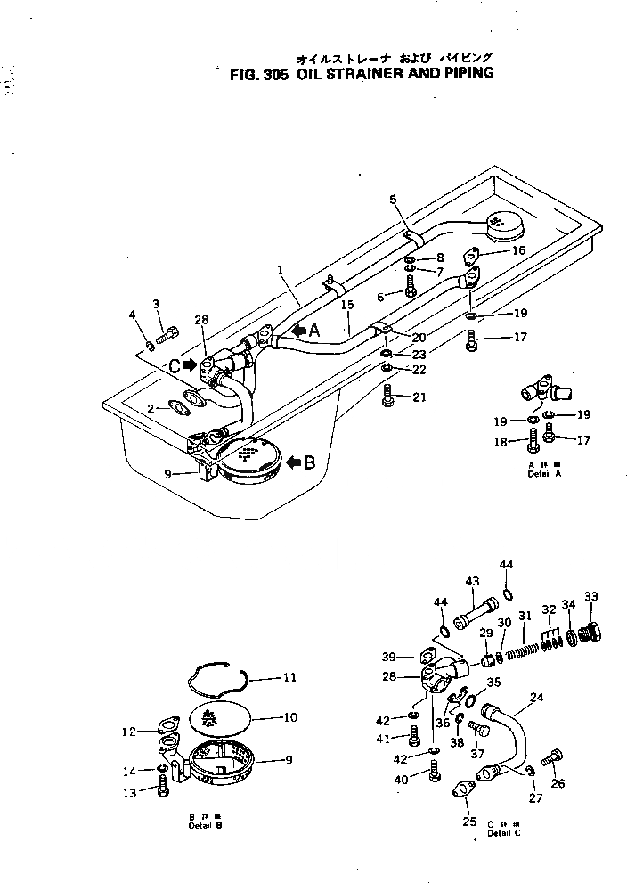
1

6127-51-6212

PIPE

SN: 22144-UP

1шт.

2

6120-61-6850

GASKET (K2)

SN: 22144-UP

1шт.

3

01010-31025

BOLT

SN: 22144-UP

2шт.

4

01602-01030

WASHER

SN: 22144-UP

2шт.

5

6127-51-6251

CLIP

SN: 22144-UP

2шт.

6

01010-31022

BOLT

SN: 22144-UP

2шт.

7

01602-01030

WASHER

SN: 22144-UP

2шт.

8

01641-21016

WASHER

SN: 22144-UP

2шт.

9

6128-51-6310

STRAINER

SN: 22144-UP

1шт.

10

6127-51-6360

PLATE

SN: 22144-UP

1шт.

11

6110-51-6340

RING

SN: 22144-UP

1шт.

12

6128-51-6830

GASKET (K2)

SN: 22144-UP

1шт.

13

01010-31035

BOLT

SN: 22144-UP

2шт.

14

01602-01030

WASHER

SN: 22144-UP

2шт.

15

6127-51-6510

PIPE

SN: 22144-UP

1шт.

16

6127-51-1660

GASKET (K2)

SN: 22144-UP

2шт.

17

01010-31025

BOLT

SN: 22144-UP

3шт.

18

01010-31045

BOLT

SN: 22144-UP

1шт.

19

01602-01030

WASHER

SN: 22144-UP

4шт.

20

6127-51-6631

CLIP

SN: 22144-UP

1шт.

21

01010-31022

BOLT

SN: 22144-UP

1шт.

22

01602-01030

WASHER

SN: 22144-UP

1шт.

23

01641-21016

WASHER

SN: 22144-UP

1шт.

24

6127-51-6521

PIPE

SN: 49998-UP

1шт.

24

0

PIPE

SN: 26858-49997

1шт.

24

6127-51-6413

PIPE

SN: 22144-26857

1шт.

25

6127-51-1660

GASKET (K2)

SN: 22144-UP

1шт.

26

01010-31035

BOLT

SN: 26858-UP

2шт.

26

01010-31030

BOLT

SN: 22144-26857

2шт.

27

01602-01030

WASHER

SN: 22144-UP

2шт.

|$30

6127-51-6801

BYPASS VALVE ASS'Y

SN: 49998-UP

1шт.

|$31

0

BYPASS VALVE ASS'Y

SN: 24974-49997

1шт.

|$32

0

BYPASS VALVE ASS'Y

SN: 22144-24973

1шт.

28

6127-51-6811

BODY

SN: 49998-UP

1шт.

28

0

BODY

SN: 24974-49997

1шт.

28

6127-51-6711

BODY

SN: 22144-24973

1шт.

29

6127-51-6840

VALVE

SN: 24974-UP

1шт.

29

6127-51-6771

VALVE

SN: 22144-24973

1шт.

30

6127-51-6760

SEAT

SN: 22144-24973

1шт.

31

6127-51-6750

SPRING

SN: 22144-UP

1шт.

32

6110-51-5550

SPACER

SN: 22144-UP

4шт.

33

6110-53-5230

PLUG

SN: 22144-UP

1шт.

34

07003-02733

GASKET (K2)

SN: 22144-UP

1шт.

35

07000-63030

O-RING (K2)

SN: 22144-UP

1шт.

36

6127-51-6781

STOPPER

SN: 22809-UP

1шт.

36

0

STOPPER

SN: 22144-22808

1шт.

37

01010-30614

BOLT

SN: 22809-UP

2шт.

37

01010-30612

BOLT

SN: 22144-22808

2шт.

38

01602-00619

WASHER

SN: 22144-UP

2шт.

39

6127-51-1660

GASKET (K2)

SN: 22144-UP

1шт.

40

01010-31035

BOLT

SN: 22144-UP

1шт.

41

01010-31060

BOLT

SN: 22144-UP

1шт.

42

01602-01030

WASHER

SN: 22144-UP

2шт.

43

6127-51-6741

PIPE

SN: 46463-UP

1шт.

43

6127-51-6740

PIPE

SN: 22144-46462

1шт.

44

07000-03022

O-RING (K2)

SN: 22144-UP

2шт.

1

6127-51-6212

PIPE

SN: 22144-UP

1шт.

2

6120-61-6850

GASKET (K2)

SN: 22144-UP

1шт.

3

01010-31025

BOLT

SN: 22144-UP

2шт.

4

01602-01030

WASHER

SN: 22144-UP

2шт.

5

6127-51-6251

CLIP

SN: 22144-UP

2шт.

6

01010-31022

BOLT

SN: 22144-UP

2шт.

7

01602-01030

WASHER

SN: 22144-UP

2шт.

8

01641-21016

WASHER

SN: 22144-UP

2шт.

9

6128-51-6310

STRAINER

SN: 22144-UP

1шт.

10

6127-51-6360

PLATE

SN: 22144-UP

1шт.

11

6110-51-6340

RING

SN: 22144-UP

1шт.

12

6128-51-6830

GASKET (K2)

SN: 22144-UP

1шт.

13

01010-31035

BOLT

SN: 22144-UP

2шт.

14

01602-01030

WASHER

SN: 22144-UP

2шт.

15

6127-51-6510

PIPE

SN: 22144-UP

1шт.

16

6127-51-1660

GASKET (K2)

SN: 22144-UP

2шт.

17

01010-31025

BOLT

SN: 22144-UP

3шт.

18

01010-31045

BOLT

SN: 22144-UP

1шт.

19

01602-01030

WASHER

SN: 22144-UP

4шт.

20

6127-51-6631

CLIP

SN: 22144-UP

1шт.

21

01010-31022

BOLT

SN: 22144-UP

1шт.

22

01602-01030

WASHER

SN: 22144-UP

1шт.

23

01641-21016

WASHER

SN: 22144-UP

1шт.

24

6127-51-6521

PIPE

SN: 49998-UP

1шт.

24

0

PIPE

SN: 26858-49997

1шт.

24

6127-51-6413

PIPE

SN: 22144-26857

1шт.

25

6127-51-1660

GASKET (K2)

SN: 22144-UP

1шт.

26

01010-31035

BOLT

SN: 26858-UP

2шт.

26

01010-31030

BOLT

SN: 22144-26857

2шт.

27

01602-01030

WASHER

SN: 22144-UP

2шт.

|$30

6127-51-6801

BYPASS VALVE ASS'Y

SN: 49998-UP

1шт.

|$31

0

BYPASS VALVE ASS'Y

SN: 24974-49997

1шт.

|$32

0

BYPASS VALVE ASS'Y

SN: 22144-24973

1шт.

28

6127-51-6811

BODY

SN: 49998-UP

1шт.

28

0

BODY

SN: 24974-49997

1шт.

28

6127-51-6711

BODY

SN: 22144-24973

1шт.

29

6127-51-6840

VALVE

SN: 24974-UP

1шт.

29

6127-51-6771

VALVE

SN: 22144-24973

1шт.

30

6127-51-6760

SEAT

SN: 22144-24973

1шт.

31

6127-51-6750

SPRING

SN: 22144-UP

1шт.

32

6110-51-5550

SPACER

SN: 22144-UP

4шт.

33

6110-53-5230

PLUG

SN: 22144-UP

1шт.

34

07003-02733

GASKET (K2)

SN: 22144-UP

1шт.

35

07000-63030

O-RING (K2)

SN: 22144-UP

1шт.

36

6127-51-6781

STOPPER

SN: 22809-UP

1шт.

36

0

STOPPER

SN: 22144-22808

1шт.

37

01010-30614

BOLT

SN: 22809-UP

2шт.

37

01010-30612

BOLT

SN: 22144-22808

2шт.

38

01602-00619

WASHER

SN: 22144-UP

2шт.

39

6127-51-1660

GASKET (K2)

SN: 22144-UP

1шт.

40

01010-31035

BOLT

SN: 22144-UP

1шт.

41

01010-31060

BOLT

SN: 22144-UP

1шт.

42

01602-01030

WASHER

SN: 22144-UP

2шт.

43

6127-51-6741

PIPE

SN: 46463-UP

1шт.

43

6127-51-6740

PIPE

SN: 22144-46462

1шт.

44

07000-03022

O-RING (K2)

SN: 22144-UP

2шт.

Выбрано товаров: 0