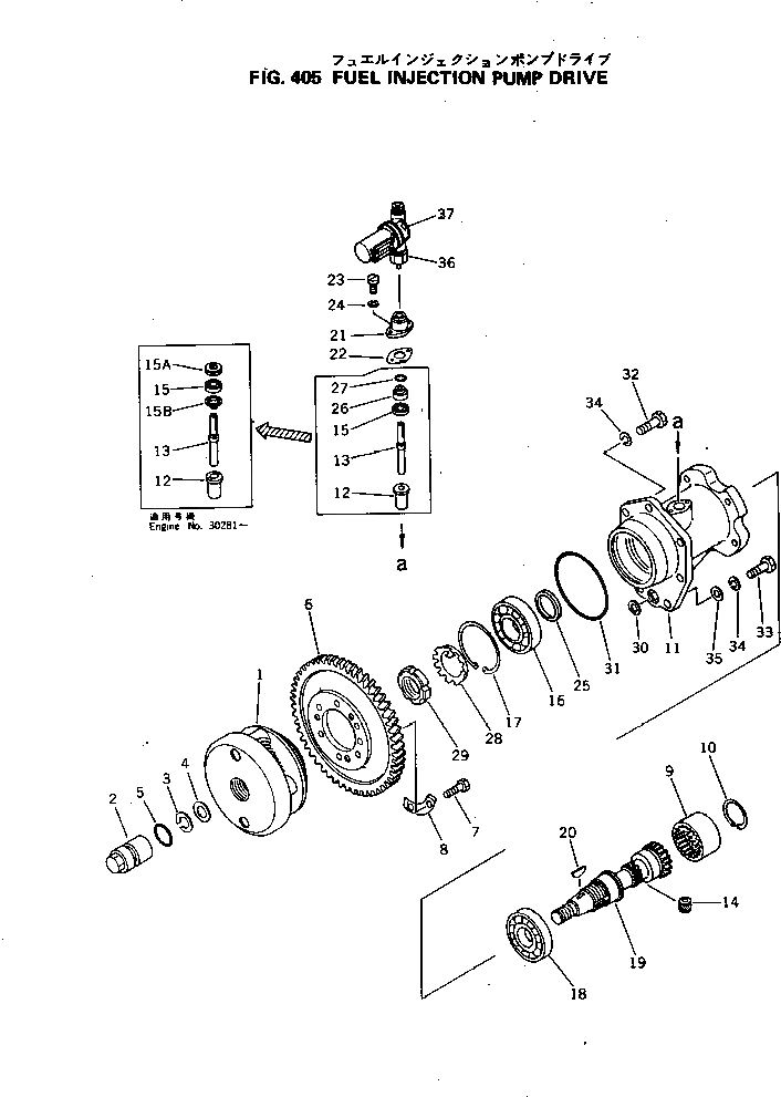
Запчасти Komatsu S6D155-4J ПРИВОД ТОПЛ. НАСОСА ТОПЛИВН. СИСТЕМА

Схема запчастей Komatsu S6D155-4J - ПРИВОД ТОПЛ. НАСОСА ТОПЛИВН. СИСТЕМА
FIT
1:1
100%

Артикул

Название

Примечание

Количество

1

6127-71-1132

AUTOMATIC TIMER A.,(SEE FIG.457)

SN: 22144-UP

1шт.

2

6127-71-2212

NUT

SN: 22144-UP

1шт.

3

01602-02060

WASHER

SN: 22144-UP

1шт.

4

01643-32060

WASHER

SN: 22144-UP

1шт.

5

07000-03032

O-RING (K2)

SN: 22144-UP

1шт.

6

6127-71-3123

GEAR

SN: 22144-UP

1шт.

7

01050-31030

BOLT

SN: 22144-UP

6шт.

8

6127-71-3170

LOCK (K2)

SN: 22144-UP

3шт.

9

6127-71-3131

COUPLING

SN: 22144-UP

1шт.

10

04067-00050

RING

SN: 22144-UP

1шт.

|$10

6127-71-3004

DRIVE ASS'Y

SN: 30281-UP

1шт.

|$11

0

DRIVE ASS'Y

SN: 22144-30280

1шт.

11

6127-71-3312

HOUSING

SN: 30281-UP

1шт.

11

6127-71-3311

HOUSING

SN: 22144-30280

1шт.

|$14

6127-71-3202

DRIVE ASS'Y

SN: 30281-UP

1шт.

|$15

0

DRIVE ASS'Y

SN: 22144-30280

1шт.

12

6127-71-3231

BUSHING

SN: 30281-UP

1шт.

12

0

BUSHING

SN: 22144-30280

1шт.

13

6162-73-1910

SHAFT

SN: 30281-UP

1шт.

13

0

SHAFT

SN: 22144-30280

1шт.

14

6110-73-3220

GEAR

SN: 22144-UP

1шт.

15

6127-71-3250

SEAL (K2)

SN: 30281-UP

1шт.

15

6610-71-1911

SEAL

SN: 22144-30280

1шт.

15A

6162-73-1960

WASHER (K2)

SN: 30281-UP

1шт.

15B

6162-73-1970

SPACER

SN: 30281-UP

1шт.

16

06030-06308

BEARING

SN: 22144-UP

1шт.

17

04065-09030

RING

SN: 22144-UP

1шт.

18

06030-06209

BEARING

SN: 22144-UP

1шт.

19

6127-71-3115

SHAFT

SN: 22144-UP

1шт.

20

04010-00516

KEY

SN: 22144-UP

1шт.

21

6162-73-1920

HOUSING

SN: 30281-UP

1шт.

21

0

HOUSING

SN: 22144-30280

1шт.

22

6162-73-1930

GASKET (K2)

SN: 30281-UP

1шт.

22

0

GASKET

SN: 30281-30280

1шт.

23

6110-73-3511

SCREW

SN: 22144-UP

2шт.

24

6110-73-3520

WASHER

SN: 22144-UP

2шт.

25

6127-71-3160

WASHER

SN: 22144-UP

1шт.

26

6127-71-3240

SPACER

SN: 22144-30280

1шт.

27

07000-02018

O-RING

SN: 22144-30280

1шт.

28

01658-23923

WASHER (K2)

SN: 22144-UP

1шт.

29

01530-03912

NUT

SN: 22144-UP

1шт.

30

6127-71-3380

GROMMET (K2)

SN: 22144-UP

1шт.

31

07000-03115

O-RING (K2)

SN: 22144-UP

1шт.

32

01010-31230

BOLT

SN: 22144-UP

6шт.

33

01010-31235

BOLT

SN: 22144-UP

1шт.

34

01602-01236

WASHER

SN: 22144-UP

7шт.

35

01641-21223

WASHER

SN: 22144-UP

1шт.

36

08684-20448

METER

SN: 40561-UP

1шт.

36

08684-00148

METER

SN: 22144-40560

1шт.

37

6127-81-5560

PLATE, CAUTION,(CZECH)

SN: 22144-UP

1шт.

1

6127-71-1132

AUTOMATIC TIMER A.,(SEE FIG.457)

SN: 22144-UP

1шт.

2

6127-71-2212

NUT

SN: 22144-UP

1шт.

3

01602-02060

WASHER

SN: 22144-UP

1шт.

4

01643-32060

WASHER

SN: 22144-UP

1шт.

5

07000-03032

O-RING (K2)

SN: 22144-UP

1шт.

6

6127-71-3123

GEAR

SN: 22144-UP

1шт.

7

01050-31030

BOLT

SN: 22144-UP

6шт.

8

6127-71-3170

LOCK (K2)

SN: 22144-UP

3шт.

9

6127-71-3131

COUPLING

SN: 22144-UP

1шт.

10

04067-00050

RING

SN: 22144-UP

1шт.

|$10

6127-71-3004

DRIVE ASS'Y

SN: 30281-UP

1шт.

|$11

0

DRIVE ASS'Y

SN: 22144-30280

1шт.

11

6127-71-3312

HOUSING

SN: 30281-UP

1шт.

11

6127-71-3311

HOUSING

SN: 22144-30280

1шт.

|$14

6127-71-3202

DRIVE ASS'Y

SN: 30281-UP

1шт.

|$15

0

DRIVE ASS'Y

SN: 22144-30280

1шт.

12

6127-71-3231

BUSHING

SN: 30281-UP

1шт.

12

0

BUSHING

SN: 22144-30280

1шт.

13

6162-73-1910

SHAFT

SN: 30281-UP

1шт.

13

0

SHAFT

SN: 22144-30280

1шт.

14

6110-73-3220

GEAR

SN: 22144-UP

1шт.

15

6127-71-3250

SEAL (K2)

SN: 30281-UP

1шт.

15

6610-71-1911

SEAL

SN: 22144-30280

1шт.

15A

6162-73-1960

WASHER (K2)

SN: 30281-UP

1шт.

15B

6162-73-1970

SPACER

SN: 30281-UP

1шт.

16

06030-06308

BEARING

SN: 22144-UP

1шт.

17

04065-09030

RING

SN: 22144-UP

1шт.

18

06030-06209

BEARING

SN: 22144-UP

1шт.

19

6127-71-3115

SHAFT

SN: 22144-UP

1шт.

20

04010-00516

KEY

SN: 22144-UP

1шт.

21

6162-73-1920

HOUSING

SN: 30281-UP

1шт.

21

0

HOUSING

SN: 22144-30280

1шт.

22

6162-73-1930

GASKET (K2)

SN: 30281-UP

1шт.

22

0

GASKET

SN: 30281-30280

1шт.

23

6110-73-3511

SCREW

SN: 22144-UP

2шт.

24

6110-73-3520

WASHER

SN: 22144-UP

2шт.

25

6127-71-3160

WASHER

SN: 22144-UP

1шт.

26

6127-71-3240

SPACER

SN: 22144-30280

1шт.

27

07000-02018

O-RING

SN: 22144-30280

1шт.

28

01658-23923

WASHER (K2)

SN: 22144-UP

1шт.

29

01530-03912

NUT

SN: 22144-UP

1шт.

30

6127-71-3380

GROMMET (K2)

SN: 22144-UP

1шт.

31

07000-03115

O-RING (K2)

SN: 22144-UP

1шт.

32

01010-31230

BOLT

SN: 22144-UP

6шт.

33

01010-31235

BOLT

SN: 22144-UP

1шт.

34

01602-01236

WASHER

SN: 22144-UP

7шт.

35

01641-21223

WASHER

SN: 22144-UP

1шт.

36

08684-20448

METER

SN: 40561-UP

1шт.

36

08684-00148

METER

SN: 22144-40560

1шт.

37

6127-81-5560

PLATE, CAUTION,(CZECH)

SN: 22144-UP

1шт.

Выбрано товаров: 100