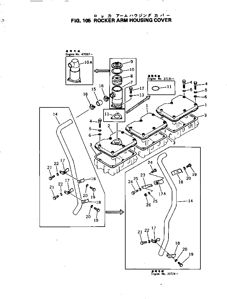
Запчасти Komatsu S6D155-4J КРЫШКА КОРОМЫСЛА ГОЛОВКА ЦИЛИНДРОВ

Схема запчастей Komatsu S6D155-4J - КРЫШКА КОРОМЫСЛА ГОЛОВКА ЦИЛИНДРОВ
FIT
1:1
100%

Артикул

Название

Примечание

Количество

1

6127-11-8112

COVER

SN: 27131-UP

2шт.

1

0

COVER

SN: 22144-27130

2шт.

2

6127-11-8122

COVER

SN: 27131-UP

1шт.

2

0

COVER

SN: 22144-27130

1шт.

|$$5

(6127-11-8122,07000-62070)

-1шт.

3

6127-11-8812

GASKET (K1)

SN: 22144-UP

3шт.

4

01010-31080

BOLT

SN: 22144-UP

18шт.

5

01602-01030

WASHER

SN: 22144-UP

18шт.

6

01640-21016

WASHER

SN: 22144-UP

16шт.

|$9

6127-11-8201

BREATHER ASS'Y

SN: 22144-47066

1шт.

7

6127-11-8210

BODY ASS'Y

SN: 22144-47066

1шт.

8

6127-11-8230

ELEMENT

SN: 22144-47066

1шт.

9

6127-11-8220

COVER ASS'Y

SN: 22144-47066

1шт.

10

6127-11-8240

GASKET

SN: 22144-47066

1шт.

10A

6127-11-8211

BREATHER ASS'Y

SN: 47067-UP

1шт.

11

07000-62070

O-RING (K1)

SN: 27131-UP

1шт.

11

6127-11-8850

GASKET

SN: 22144-27130

1шт.

12

01010-30822

BOLT

SN: 22144-UP

3шт.

13

01602-00825

WASHER

SN: 22144-UP

3шт.

14

6128-11-8262

PIPE

SN: 29843-UP

1шт.

14

0

PIPE

SN: 22724-29842

1шт.

14

6127-11-8270

PIPE

SN: 22144-22723

1шт.

15

6127-11-8290

HOSE

SN: 22144-UP

1шт.

16

07281-00489

CLAMP

SN: 22724-UP

2шт.

16

07281-00549

CLAMP

SN: 22144-22723

2шт.

17

6124-61-6430

CLAMP

SN: 22724-UP

1шт.

17

6124-61-6430

CLAMP

SN: 22144-22723

2шт.

17A

6127-11-8380

CLAMP

SN: 22724-UP

1шт.

18

6127-61-6440

CLAMP

SN: 22144-UP

2шт.

19

01010-30840

BOLT

SN: 22144-UP

2шт.

20

01602-00825

WASHER

SN: 22144-UP

2шт.

21

01010-31480

BOLT,(SEE FIG.211)

SN: 22724-UP

1шт.

21

01010-31480

BOLT,(SEE FIG.211)

SN: 22144-22723

2шт.

22

01602-01442

WASHER,(SEE FIG.211)

SN: 22724-UP

1шт.

22

01602-01442

WASHER,(SEE FIG.211)

SN: 22144-22723

2шт.

23

6128-11-8360

BRACKET

SN: 22724-UP

1шт.

24

01010-31025

BOLT

SN: 22724-UP

2шт.

25

01602-01030

WASHER

SN: 22724-UP

2шт.

26

01580-01008

NUT

SN: 22724-UP

1шт.

1

6127-11-8112

COVER

SN: 27131-UP

2шт.

1

0

COVER

SN: 22144-27130

2шт.

2

6127-11-8122

COVER

SN: 27131-UP

1шт.

2

0

COVER

SN: 22144-27130

1шт.

|$$5

(6127-11-8122,07000-62070)

-1шт.

3

6127-11-8812

GASKET (K1)

SN: 22144-UP

3шт.

4

01010-31080

BOLT

SN: 22144-UP

18шт.

5

01602-01030

WASHER

SN: 22144-UP

18шт.

6

01640-21016

WASHER

SN: 22144-UP

16шт.

|$9

6127-11-8201

BREATHER ASS'Y

SN: 22144-47066

1шт.

7

6127-11-8210

BODY ASS'Y

SN: 22144-47066

1шт.

8

6127-11-8230

ELEMENT

SN: 22144-47066

1шт.

9

6127-11-8220

COVER ASS'Y

SN: 22144-47066

1шт.

10

6127-11-8240

GASKET

SN: 22144-47066

1шт.

10A

6127-11-8211

BREATHER ASS'Y

SN: 47067-UP

1шт.

11

07000-62070

O-RING (K1)

SN: 27131-UP

1шт.

11

6127-11-8850

GASKET

SN: 22144-27130

1шт.

12

01010-30822

BOLT

SN: 22144-UP

3шт.

13

01602-00825

WASHER

SN: 22144-UP

3шт.

14

6128-11-8262

PIPE

SN: 29843-UP

1шт.

14

0

PIPE

SN: 22724-29842

1шт.

14

6127-11-8270

PIPE

SN: 22144-22723

1шт.

15

6127-11-8290

HOSE

SN: 22144-UP

1шт.

16

07281-00489

CLAMP

SN: 22724-UP

2шт.

16

07281-00549

CLAMP

SN: 22144-22723

2шт.

17

6124-61-6430

CLAMP

SN: 22724-UP

1шт.

17

6124-61-6430

CLAMP

SN: 22144-22723

2шт.

17A

6127-11-8380

CLAMP

SN: 22724-UP

1шт.

18

6127-61-6440

CLAMP

SN: 22144-UP

2шт.

19

01010-30840

BOLT

SN: 22144-UP

2шт.

20

01602-00825

WASHER

SN: 22144-UP

2шт.

21

01010-31480

BOLT,(SEE FIG.211)

SN: 22724-UP

1шт.

21

01010-31480

BOLT,(SEE FIG.211)

SN: 22144-22723

2шт.

22

01602-01442

WASHER,(SEE FIG.211)

SN: 22724-UP

1шт.

22

01602-01442

WASHER,(SEE FIG.211)

SN: 22144-22723

2шт.

23

6128-11-8360

BRACKET

SN: 22724-UP

1шт.

24

01010-31025

BOLT

SN: 22724-UP

2шт.

25

01602-01030

WASHER

SN: 22724-UP

2шт.

26

01580-01008

NUT

SN: 22724-UP

1шт.

Выбрано товаров: 78