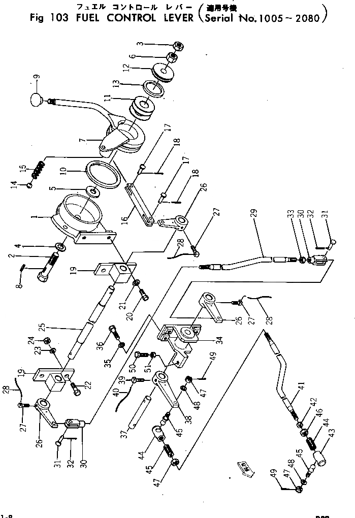
Запчасти Komatsu D20A-2 РЫЧАГ УПРАВЛ-Я ПОДАЧЕЙ ТОПЛИВА(№-8) КОМПОНЕНТЫ ДВИГАТЕЛЯ И ЭЛЕКТРИКА

Схема запчастей Komatsu D20A-2 - РЫЧАГ УПРАВЛ-Я ПОДАЧЕЙ ТОПЛИВА(№-8) КОМПОНЕНТЫ ДВИГАТЕЛЯ И ЭЛЕКТРИКА
FIT
1:1
100%

Артикул

Название

Примечание

Количество

|$0

101-43-00012

FUEL LEVER ASS'Y

SN: .-2080

1шт.

|$1

0

FUEL LEVER ASS'Y

SN: 1925-.

1шт.

|$2

0

FUEL LEVER ASS'Y

SN: 1005-1924

1шт.

1

102-43-11112

BRACKET

SN: 1005-2080

1шт.

2

101-43-11121

BOLT

SN: 1005-2080

1шт.

2

0

BOLT

SN: (1005-.)

1шт.

3

01501-31408

NUT

SN: 1005-2080

1шт.

4

101-43-11130

GASKET

SN: 1005-2080

1шт.

5

101-43-11280

LINING

SN: 1005-2080

1шт.

6

01500-31411

NUT

SN: 1005-2080

1шт.

7

102-43-11152

LEVER

SN: 1005-2080

1шт.

8

04010-00516

KEY

SN: 1005-2080

1шт.

8

0

KEY

SN: (1005-.)

1шт.

9

09304-01250

KNOB

SN: 1005-@

1шт.

10

101-43-11180

RING

SN: 1005-1924

1шт.

11

101-43-11190

SPRING

SN: 1005-2080

3шт.

12

101-43-11200

PLATE

SN: 1005-2080

1шт.

13

101-43-11210

RING

SN: 1005-1924

1шт.

14

120-14-12150

BALL

SN: 1005-2080

1шт.

15

120-43-16130

SPRING

SN: 1005-2080

1шт.

16

102-43-11222

JOINT

SN: 1005-2080

1шт.

17

04205-00618

PIN

SN: 1005-2080

2шт.

18

04050-01610

PIN

SN: 1005-2080

2шт.

19

102-43-11232

BRACKET

SN: 1005-@

2шт.

20

01000-30820

BOLT

SN: 1005-@

2шт.

21

01601-00820

WASHER

SN: 1005-2080

2шт.

22

01000-30820

BOLT

SN: 1005-@

2шт.

23

01601-00820

WASHER

SN: 1005-2080

2шт.

24

01500-30807

NUT

SN: 1005-@

2шт.

25

102-43-11340

SHAFT

SN: 1005-2080

1шт.

26

102-43-11321

LEVER

SN: 1005-@

3шт.

27

01306-00616

SCREW

SN: 1005-@

3шт.

28

04059-01010

WIRE

SN: 1005-@

3шт.

29

102-43-11252

ROD

SN: 1005-2080

1шт.

30

04211-00634

YOKE

SN: 1005-2080

2шт.

31

04205-00618

PIN

SN: 1005-2080

2шт.

32

04050-01610

PIN

SN: 1005-@

2шт.

33

01501-30604

NUT

SN: 1005-@

1шт.

34

102-43-11262

BRACKET

SN: 1005-2080

1шт.

35

01000-30816

BOLT

SN: 1005-2080

4шт.

36

01601-00820

WASHER

SN: 1005-2080

4шт.

37

102-43-11282

PIN

SN: 1005-@

1шт.

38

102-43-11331

LEVER

SN: 1005-@

1шт.

39

01306-00616

SCREW

SN: 1005-@

1шт.

40

04059-01010

WIRE

SN: 1005-@

1шт.

41

102-43-11291

ROD

SN: 1005-@

1шт.

42

01501-30604

NUT

SN: 1005-@

1шт.

43

110-43-15390

JOINT

SN: 1005-@

2шт.

44

110-43-15410

SCREW

SN: 1005-@

2шт.

45

110-43-15430

STUD

SN: 1005-@

2шт.

46

01501-31207

NUT

SN: 1005-@

2шт.

47

01511-30607

NUT

SN: 1005-@

2шт.

48

01641-00608

WASHER

SN: 1005-@

2шт.

49

04050-01210

PIN

SN: 1005-@

2шт.

50

01046-00830

BOLT

SN: 1005-2080

1шт.

51

01501-00805

NUT

SN: 1005-2080

1шт.

Выбрано товаров: 56