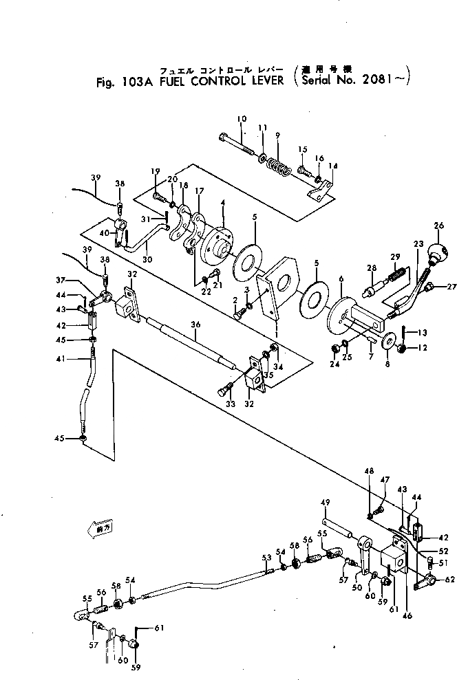
Запчасти Komatsu D20A-2 РЫЧАГ УПРАВЛ-Я ПОДАЧЕЙ ТОПЛИВА(№8-) КОМПОНЕНТЫ ДВИГАТЕЛЯ И ЭЛЕКТРИКА

Схема запчастей Komatsu D20A-2 - РЫЧАГ УПРАВЛ-Я ПОДАЧЕЙ ТОПЛИВА(№8-) КОМПОНЕНТЫ ДВИГАТЕЛЯ И ЭЛЕКТРИКА
FIT
1:1
100%

Артикул

Название

Примечание

Количество

|$0

101-43-00013

FUEL LEVER ASS'Y

SN: 2081-UP

1шт.

1

102-43-11113

BRACKET

SN: 2081-UP

1шт.

2

01000-30816

BOLT

SN: 2081-UP

2шт.

3

01602-00825

WASHER

SN: 2081-UP

2шт.

4

101-43-11310

DISC

SN: 2081-UP

1шт.

5

101-43-11281

FACING

SN: 2081-UP

2шт.

6

101-43-11320

DISC

SN: 2081-UP

1шт.

7

04020-00616

PIN

SN: 4365-UP

2шт.

7

04025-00616

PIN

SN: 2081-4364

2шт.

8

101-43-11380

COVER

SN: 2081-UP

1шт.

9

130-43-18134

SPRING

SN: 2081-UP

1шт.

10

101-43-11390

BOLT

SN: 2081-UP

1шт.

11

01641-01223

WASHER

SN: 2081-UP

1шт.

12

01511-31210

NUT

SN: 2081-UP

1шт.

13

04050-03020

PIN

SN: 2081-UP

1шт.

14

101-43-11330

PLATE

SN: 2081-UP

1шт.

15

01000-30825

BOLT

SN: 2081-UP

2шт.

16

01602-00825

WASHER

SN: 2081-UP

2шт.

17

101-43-11340

PLATE

SN: 2081-UP

1шт.

18

101-43-11350

PLATE

SN: 2081-UP

1шт.

19

01000-30830

BOLT

SN: 2081-UP

2шт.

20

01602-00825

WASHER

SN: 2081-UP

2шт.

21

01046-00830

BOLT

SN: 2081-UP

1шт.

22

01501-30805

NUT

SN: 2081-UP

1шт.

23

102-43-11153

LEVER

SN: 2081-UP

1шт.

24

01503-31210

NUT

SN: 2081-UP

1шт.

25

01602-01236

WASHER

SN: 2081-UP

1шт.

26

09304-01250

KNOB

SN: 1005-UP

1шт.

27

130-43-18310

KNOB

SN: 2081-UP

1шт.

28

130-43-18231

STOPPER

SN: 2081-UP

1шт.

29

150-43-14650

SPRING

SN: 2081-UP

1шт.

30

101-43-11360

ROD

SN: 2081-UP

1шт.

31

04050-02012

PIN

SN: 2081-UP

2шт.

32

102-43-11232

BRACKET

SN: 1005-UP

2шт.

33

01000-30820

BOLT

SN: 1005-UP

4шт.

34

01500-30807

NUT

SN: 1005-UP

4шт.

35

01602-00825

WASHER

SN: 2081-UP

4шт.

36

102-43-11341

SHAFT

SN: 2081-UP

1шт.

37

102-43-11321

LEVER

SN: 2081-UP

1шт.

38

01306-00616

SCREW

SN: 1005-UP

3шт.

39

04059-01010

WIRE

SN: 1005-UP

3шт.

40

101-43-11370

LEVER

SN: 2081-UP

1шт.

41

102-43-11253

ROD

SN: 2081-UP

1шт.

42

04211-00634

YOKE

SN: 1005-UP

2шт.

43

04205-00620

PIN

SN: 2081-UP

2шт.

44

04050-01610

PIN

SN: 1005-UP

2шт.

45

01501-30604

NUT

SN: 2081-UP

2шт.

46

102-43-11263

BRACKET

SN: 2081-UP

1шт.

47

01000-30816

BOLT

SN: 2081-UP

4шт.

48

01602-00825

WASHER

SN: 2081-UP

4шт.

49

102-43-11282

PIN

SN: 1005-UP

1шт.

50

102-43-11331

LEVER

SN: 1005-UP

1шт.

51

01306-00616

SCREW

SN: 1005-UP

1шт.

52

04059-01010

WIRE

SN: 1005-UP

1шт.

53

102-43-11292

ROD

SN: 4365-UP

1шт.

53

102-43-11291

ROD

SN: 1005-4364

1шт.

54

01501-30805

NUT

SN: 4365-UP

2шт.

54

01501-30604

NUT

SN: 2081-4364

2шт.

55

110-43-15391

JOINT

SN: 4365-UP

2шт.

55

110-43-15390

JOINT

SN: 1005-4364

2шт.

56

110-43-15411

SCREW

SN: 4365-UP

2шт.

56

110-43-15410

SCREW

SN: 1005-4364

2шт.

57

110-43-15430

STUD

SN: 1005-UP

2шт.

58

01501-31408

NUT

SN: 4365-UP

2шт.

58

01501-31207

NUT

SN: 1005-4364

2шт.

59

01511-30607

NUT

SN: 1005-UP

2шт.

60

01641-00608

WASHER

SN: 1005-UP

2шт.

61

04050-01210

PIN

SN: 1005-UP

2шт.

62

102-43-11370

LEVER

SN: 2081-UP

1шт.

Выбрано товаров: 69