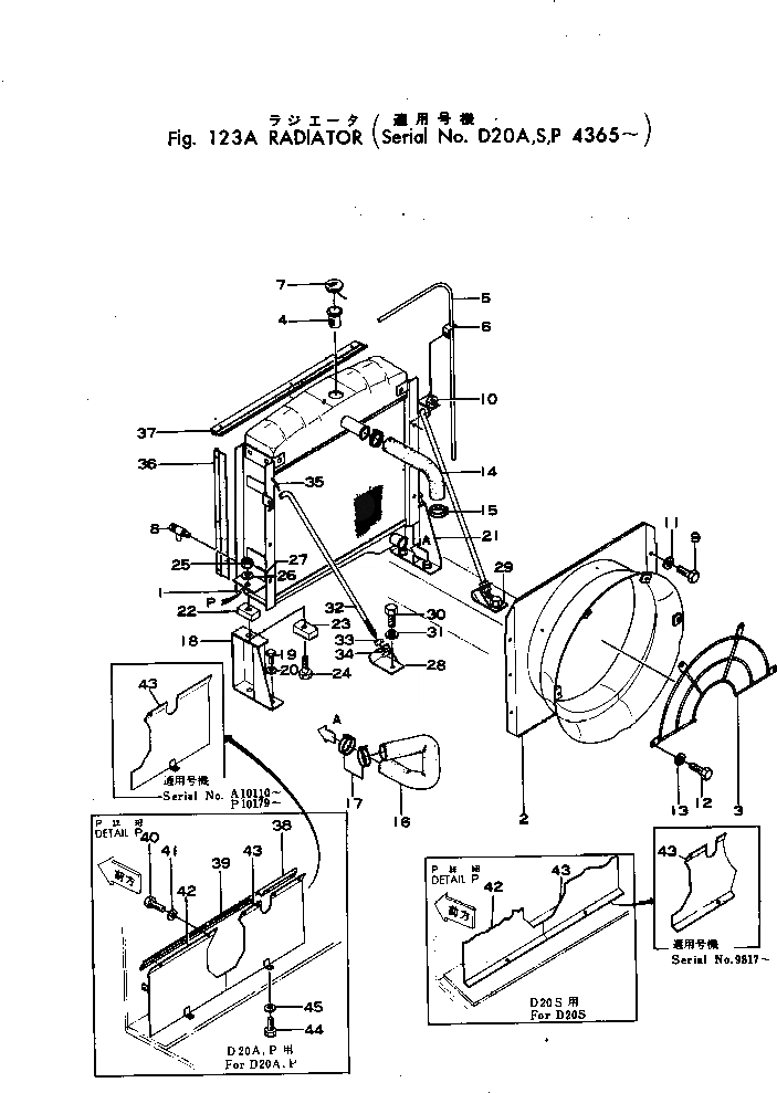
Запчасти Komatsu D20A-2 РАДИАТОР(№-) КОМПОНЕНТЫ ДВИГАТЕЛЯ И ЭЛЕКТРИКА

Схема запчастей Komatsu D20A-2 - РАДИАТОР(№-) КОМПОНЕНТЫ ДВИГАТЕЛЯ И ЭЛЕКТРИКА
FIT
1:1
100%

Артикул

Название

Примечание

Количество

|$0

101-03-00026

RADIATOR ASS'Y

SN: 9817-UP

1шт.

|$1

0

RADIATOR ASS'Y

SN: 4365-9816

1шт.

|$2

101-03-00014

RADIATOR ASS'Y

SN: 4365-UP

1шт.

1

101-03-13112

CORE ASS'Y

SN: 4365-UP

1шт.

2

101-03-13123

SHROUD

SN: 4365-UP

1шт.

3

101-03-13132

NET

SN: 4365-UP

1шт.

4

101-03-13160

STRAINER

SN: 1117-UP

1шт.

5

101-03-13170

PIPE

SN: 1117-UP

1шт.

6

101-03-13180

CLIP

SN: 1117-UP

2шт.

7

101-03-13141

CAP

SN: 2344-UP

1шт.

8

101-03-13151

VALVE

SN: 2081-UP

1шт.

9

01000-30814

BOLT

SN: 4365-UP

6шт.

10

01500-30807

NUT

SN: 4365-UP

6шт.

11

01602-00825

WASHER

SN: 4365-UP

6шт.

12

01000-30610

BOLT

SN: 4365-UP

4шт.

13

01602-00619

WASHER

SN: 4365-UP

4шт.

14

101-03-12112

HOSE

SN: 4365-UP

1шт.

15

07280-04426

CLAMP

SN: 1005-UP

2шт.

16

101-03-12180

HOSE

SN: 4365-UP

1шт.

17

07280-04726

CLAMP

SN: 1005-UP

2шт.

18

101-03-12122

BRACKET

SN: 4365-UP

1шт.

19

01040-31225

BOLT

SN: 1005-UP

4шт.

20

01602-01236

WASHER

SN: 2081-UP

4шт.

21

101-03-12132

BRACKET

SN: 4365-UP

1шт.

22

100-03-12140

SEAT

SN: 1005-UP

4шт.

23

100-03-12150

WASHER

SN: 1005-UP

2шт.

24

01002-31260

BOLT

SN: 1005-UP

2шт.

25

01511-31210

NUT

SN: 1005-UP

2шт.

26

01640-01223

WASHER

SN: 1005-UP

2шт.

27

04050-03025

PIN

SN: 1005-UP

2шт.

28

101-03-12150

BRACKET

SN: 4365-UP

1шт.

29

101-03-12160

BRACKET

SN: 4365-UP

1шт.

30

01040-31020

BOLT

SN: 4365-UP

2шт.

31

01602-01030

WASHER

SN: 4365-UP

2шт.

32

101-03-12170

ROD

SN: 4365-UP

2шт.

33

01503-31008

NUT

SN: 1005-UP

4шт.

34

01641-01223

WASHER

SN: 1005-UP

2шт.

35

04050-03015

PIN

SN: 1005-UP

2шт.

36

101-03-14151

PLATE

SN: 4365-UP

2шт.

37

101-03-14161

PLATE

SN: 4365-UP

1шт.

38

101-03-14171

PLATE

SN: 4365-9816

1шт.

39

101-03-14182

PLATE

SN: 9817-UP

1шт.

39

101-03-14181

PLATE

SN: 4365-9816

1шт.

40

01000-30614

BOLT

SN: 9817-UP

12шт.

40

01000-30614

BOLT

SN: 4365-9816

15шт.

41

01602-00619

WASHER

SN: 9817-UP

12шт.

41

01602-00619

WASHER

SN: 4365-9816

15шт.

42

101-03-14232

PLATE

SN: 4365-UP

1шт.

43

101-03-14251

PLATE

SN: 10110-UP

1шт.

43

101-03-14250

PLATE

SN: 4365-10109

1шт.

44

01000-30616

BOLT

SN: 4365-UP

4шт.

45

01602-00619

WASHER

SN: 4365-UP

4шт.

Выбрано товаров: 52