Запчасти Komatsu D20A-3 ВЕРХН. ЗАЩИТА ОПЦИОННЫЕ КОМПОНЕНТЫ

Схема запчастей Komatsu D20A-3 - ВЕРХН. ЗАЩИТА ОПЦИОННЫЕ КОМПОНЕНТЫ
FIT
1:1
100%

Артикул

Название

Примечание

Количество

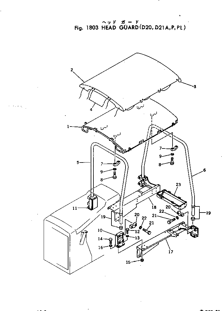
1

101-973-1140

ROOF

SN: 20007-UP

1шт.

2

101-91-31140

SHEET

SN: 20007-UP

1шт.

3

131-906-1220

ROPE, 8.5M

SN: 20007-UP

1шт.

4

131-906-1230

ROPE, 0.7M

SN: 20007-UP

2шт.

5

101-973-1112

POLE,FRONT

SN: 20007-UP

1шт.

6

101-973-1150

POLE,REAR

SN: 20007-UP

1шт.

7

141-973-1120

CLIP

SN: 20007-UP

4шт.

8

01010-51475

BOLT

SN: 20007-UP

8шт.

9

01602-21442

WASHER,SPRING

SN: 20007-UP

8шт.

10

101-973-1121

BRACKET,L.H.

SN: 20007-UP

1шт.

11

101-973-1131

BRACKET,R.H.

SN: 20007-UP

1шт.

12

01010-51030

BOLT

SN: 20007-UP

8шт.

13

01602-21030

WASHER,SPRING

SN: 20007-UP

8шт.

14

01010-51235

BOLT

SN: 20007-UP

2шт.

15

01580-11210

NUT

SN: 20007-UP

2шт.

16

01602-21236

WASHER,SPRING

SN: 20007-UP

2шт.

17

101-54-35380

FENDER,L.H. (MODIFIED PARTS)

SN: 20007-UP

1шт.

17

104-54-11220

FENDER,L.H. (MODIFIED PARTS)

SN: 20000-20000

1шт.

18

101-54-35390

FENDER,R.H. (MODIFIED PARTS)

SN: 20007-UP

1шт.

18

104-54-11230

FENDER,R.H. (MODIFIED PARTS)

SN: 20000-20000

1шт.

19

141-973-1250

CUSHION

SN: 20007-UP

8шт.

20

141-973-1151

CAP

SN: 20007-UP

8шт.

21

01010-51475

BOLT

SN: 20007-UP

16шт.

22

01602-21442

WASHER,SPRING

SN: 20007-UP

16шт.

23

101-06-25210

CASE,(MODIFIED PARTS)

SN: 20007-UP

1шт.

Выбрано товаров: 25