Запчасти Komatsu D20A-5 РУЛЕВ. УПРАВЛЕНИЕ КОРПУС COVER СИСТЕМАУПРАВЛЕНИЯ ПОВОРОТОМ И КОНЕЧНАЯ ПЕРЕДАЧА

Схема запчастей Komatsu D20A-5 - РУЛЕВ. УПРАВЛЕНИЕ КОРПУС COVER СИСТЕМАУПРАВЛЕНИЯ ПОВОРОТОМ И КОНЕЧНАЯ ПЕРЕДАЧА
FIT
1:1
100%

Артикул

Название

Примечание

Количество

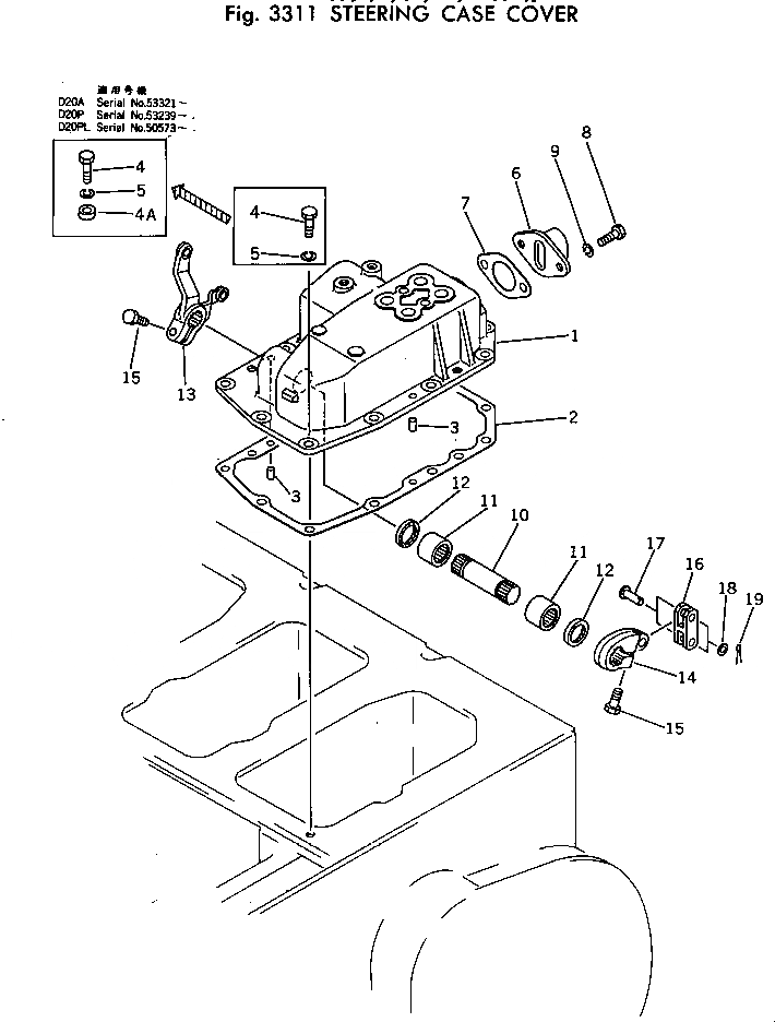
1

103-33-22112

COVER,L.H.

SN: 45001-UP

1шт.

1

103-33-22122

COVER,R.H.

SN: 45001-UP

1шт.

2

103-33-22132

GASKET

SN: 45001-UP

2шт.

3

04020-00616

PIN,DOWEL

SN: 45001-UP

4шт.

4

01010-51035

BOLT

SN: 53321-UP

20шт.

4

01010-51025

BOLT

SN: 45001-53320

20шт.

4A

103-21-21260

BOSS

SN: 53321-UP

20шт.

5

01602-01030

WASHER,SPRING

SN: 45001-UP

20шт.

6

113-33-32290

CAP

SN: 54040-UP

2шт.

6

0

CAP

SN: 45001-54039

2шт.

7

113-33-22170

GASKET

SN: 45001-UP

2шт.

8

01010-31025

BOLT

SN: 45001-UP

4шт.

9

01602-01030

WASHER,SPRING

SN: 45001-UP

4шт.

10

103-33-26510

SHAFT

SN: 45001-UP

2шт.

11

06120-02520

BEARING,NEEDLE

SN: 45001-UP

4шт.

12

06122-02504

SEAL,BEARING

SN: 45001-UP

4шт.

13

103-33-22322

LEVER,L.H.

SN: 45001-UP

1шт.

13

103-33-22332

LEVER,R.H.

SN: 45001-UP

1шт.

14

103-33-22251

LEVER

SN: 45001-UP

2шт.

15

01010-31030

BOLT

SN: 45001-UP

4шт.

16

113-33-22240

YOKE

SN: 45001-UP

2шт.

17

04205-01032

PIN

SN: 45001-UP

4шт.

18

01641-21016

WASHER

SN: 45001-UP

4шт.

19

04050-03015

PIN,COTTER

SN: 45001-UP

4шт.

Выбрано товаров: 24