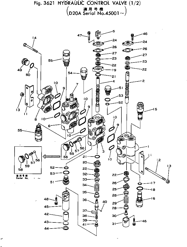
Запчасти Komatsu D20A-5 ГИДРАВЛ УПРАВЛЯЮЩ. КЛАПАН (/) УПРАВЛ-Е РАБОЧИМ ОБОРУДОВАНИЕМ

Схема запчастей Komatsu D20A-5 - ГИДРАВЛ УПРАВЛЯЮЩ. КЛАПАН (/) УПРАВЛ-Е РАБОЧИМ ОБОРУДОВАНИЕМ
FIT
1:1
100%

Артикул

Название

Примечание

Количество

|$0

700-23-11001

VALVE ASS'Y

SN: 50001-UP

1шт.

|$1

700-23-11000

VALVE ASS'Y

SN: 45001-50000

1шт.

1

0

BODY

SN: 45001-UP

1шт.

2

0

SPOOL

SN: 45001-UP

1шт.

3

0

BLOCK

SN: 45001-UP

1шт.

4

0

SPOOL

SN: 45001-UP

1шт.

5

700-22-11741

PLUG

SN: 45001-UP

1шт.

6

0

BLOCK

SN: 45001-UP

1шт.

7

0

SPOOL

SN: 45001-UP

1шт.

8

0

COVER

SN: 45001-UP

1шт.

9

07000-13040

O-RING

SN: 45001-UP

3шт.

10

700-22-11450

O-RING

SN: 45001-UP

6шт.

11

700-22-11220

ANGLE

SN: 45001-UP

2шт.

12

700-23-12110

STUD

SN: 45001-UP

2шт.

13

01580-00806

NUT

SN: 45001-UP

4шт.

14

700-23-12120

BOLT

SN: 45001-UP

1шт.

15

700-22-58000

VALVE ASS'Y,(SEE FIG.3622)

SN: 45001-UP

1шт.

16

700-22-11380

PLUG

SN: 45001-UP

1шт.

17

07000-12014

O-RING

SN: 45001-UP

1шт.

18

07002-02434

O-RING

SN: 45001-UP

1шт.

19

700-22-11630

PLATE

SN: 45001-UP

1шт.

20

700-22-12290

PLATE

SN: 45001-UP

1шт.

21

07000-02018

O-RING

SN: 45001-UP

2шт.

22

700-22-11251

U-PACKING

SN: 45001-UP

6шт.

23

700-22-11430

COLLAR

SN: 45001-UP

3шт.

24

700-22-11270

PLATE

SN: 45001-UP

3шт.

25

700-22-11281

PLATE

SN: 45001-UP

2шт.

26

700-22-11420

GASKET

SN: 45001-UP

5шт.

27

700-22-11261

SEAL,DUST

SN: 45001-UP

3шт.

28

700-22-11290

RETAINER

SN: 45001-UP

4шт.

29

700-23-13130

SPRING

SN: 50001-UP

2шт.

29

700-22-11311

SPRING

SN: 45001-50000

2шт.

30

700-22-11320

PLUG

SN: 45001-UP

2шт.

31

700-22-11331

COVER

SN: .-UP

2шт.

31

0

COVER

SN: 45001-.

2шт.

32

700-21-11150

PLATE

SN: 45001-UP

1шт.

33

700-22-11290

RETAINER

SN: 45001-UP

1шт.

34

700-22-11510

SPRING

SN: 45001-UP

1шт.

35

700-22-11520

RETAINER

SN: 45001-UP

1шт.

36

700-21-11181

PLUG

SN: 45001-UP

1шт.

37

700-21-11250

SHIM

SN: 45001-UP

3шт.

38

700-21-11190

SPRING

SN: 45001-UP

1шт.

39

700-82-11340

BALL

SN: 45001-UP

1шт.

40

700-84-11730

BALL

SN: 45001-UP

3шт.

41

700-21-11210

PLUG

SN: 45001-UP

1шт.

42

700-21-12121

DETENT

SN: 45001-UP

1шт.

43

700-22-11590

PLATE

SN: 45001-UP

1шт.

44

700-22-11610

RING,SNAP

SN: 45001-UP

1шт.

45

700-22-12310

CASE

SN: 45001-UP

1шт.

46

01252-30616

BOLT

SN: 45001-UP

8шт.

47

01252-30630

BOLT

SN: 45001-UP

2шт.

48

01252-30625

BOLT

SN: 45001-UP

2шт.

49

700-22-11370

PLUG

SN: 45001-UP

1шт.

50

07002-02434

O-RING

SN: 45001-UP

1шт.

51

700-22-11360

PLUG

SN: 45001-UP

3шт.

52

07000-12014

O-RING

SN: 45001-UP

3шт.

53

07002-02434

O-RING

SN: 45001-UP

3шт.

54

700-20-81000

VALVE ASS'Y,(SEE FIG.3622)

SN: .-UP

1шт.

54

0

VALVE ASS'Y,(SEE FIG.3622)

SN: 45001-.

1шт.

55

700-20-72000

VALVE ASS'Y,(SEE FIG.3622)

SN: 45001-UP

2шт.

56

700-22-12340

BALL,CHECK

SN: .-UP

3шт.

56

0

VALVE

SN: 45001-.

3шт.

|$$63

(700-22-12340,700-22-12350,

-1шт.

|$$64

700-22-11351)

-1шт.

57

700-22-12350

SPRING

SN: .-UP

3шт.

57

700-72-31210

SPRING

SN: 45001-.

3шт.

58

700-22-11351

PLUG

SN: .-UP

3шт.

58

700-22-11350

PLUG

SN: 45001-.

3шт.

59

07002-12434

O-RING

SN: 45001-UP

3шт.

Выбрано товаров: 69