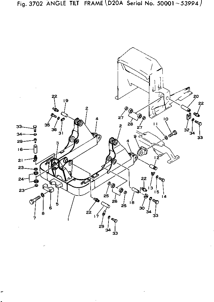
Запчасти Komatsu D20A-5 ANGLE НАКЛОН. РАМА(№-99) РАБОЧЕЕ ОБОРУДОВАНИЕ

Схема запчастей Komatsu D20A-5 - ANGLE НАКЛОН. РАМА(№-99) РАБОЧЕЕ ОБОРУДОВАНИЕ
FIT
1:1
100%

Артикул

Название

Примечание

Количество

|$0

0

FRAME ASS'Y

SN: 45001-53994

1шт.

|$$2

(104-72-00021,104-72-22570)

-1шт.

1

0

FRAME ASS'Y

SN: 45001-53994

1шт.

2

104-72-23211

BRACKET,L.H.

SN: 45001-53994

1шт.

2

104-72-23221

BRACKET,R.H.

SN: 45001-53994

1шт.

3

104-72-22340

BRACKET

SN: 45001-@

1шт.

4

104-72-21340

BRACKET

SN: 45001-53994

2шт.

4

104-72-00010

PIVOT ASS'Y

SN: 45001-@

1шт.

5

0

BEARING,(WELDED)

SN: 45001-@

1шт.

6

130-70-13231

CAP

SN: 45001-@

1шт.

7

01010-52490

BOLT

SN: 45001-@

2шт.

8

01643-32460

WASHER

SN: 45001-@

2шт.

9

0

BRACKET

SN: 45001-53994

2шт.

|$$14

(104-72-22371,07020-00000)

-1шт.

10

01010-32060

BOLT

SN: 45001-@

6шт.

11

01643-32060

WASHER

SN: 45001-@

6шт.

12

104-72-21820

PIN

SN: 45001-@

2шт.

13

104-72-21880

LOCK

SN: 45001-@

2шт.

14

01010-31025

BOLT

SN: 45001-@

2шт.

15

01602-01030

WASHER,SPRING

SN: 45001-@

2шт.

16

104-72-21841

PIN

SN: 45001-@

1шт.

17

104-72-22521

PIN

SN: 45001-@

1шт.

18

104-72-21780

PIN

SN: 45001-53994

2шт.

19

104-72-21831

PIN

SN: 45001-@

2шт.

20

104-72-21890

PIN

SN: 45001-@

2шт.

21

07020-00900

FITTING,GREASE

SN: 45001-@

1шт.

22

07020-00000

FITTING,GREASE

SN: 45001-@

7шт.

23

104-72-21940

COLLAR

SN: 45001-@

2шт.

24

104-72-21970

BUSHING

SN: 45001-@

2шт.

25

104-72-21960

COLLAR

SN: 45001-@

4шт.

26

104-72-21990

BUSHING

SN: 45001-@

4шт.

27

114-72-21940

COLLAR

SN: 45001-@

4шт.

28

114-72-21960

BUSHING

SN: 45001-@

4шт.

29

114-72-21970

PIN

SN: 45001-@

2шт.

30

104-72-21790

PLATE

SN: 45001-@

2шт.

31

04082-00212

LOCK

SN: 45001-@

2шт.

32

114-72-21860

LOCK

SN: 45001-@

2шт.

33

01010-31025

BOLT

SN: 45001-@

6шт.

34

01602-01030

WASHER,SPRING

SN: 45001-@

6шт.

35

01010-31225

BOLT

SN: 45001-@

4шт.

36

01602-01236

WASHER,SPRING

SN: 45001-@

4шт.

Выбрано товаров: 41