Запчасти Komatsu D20A-6 ПОГРУЗ. РАМА И ПОЛ КАБИНЫ (ДЛЯ РЫЧАГ РУЛЕВ. УПРАВЛЕНИЕ)(ДЛЯ ПОВОРОТН. ОТВАЛА С ИЗМ. УГЛОМ DOZER) ЧАСТИ КОРПУСА

Схема запчастей Komatsu D20A-6 - ПОГРУЗ. РАМА И ПОЛ КАБИНЫ (ДЛЯ РЫЧАГ РУЛЕВ. УПРАВЛЕНИЕ)        (ДЛЯ ПОВОРОТН. ОТВАЛА С ИЗМ. УГЛОМ DOZER) ЧАСТИ КОРПУСА
FIT
1:1
100%

Артикул

Название

Примечание

Количество

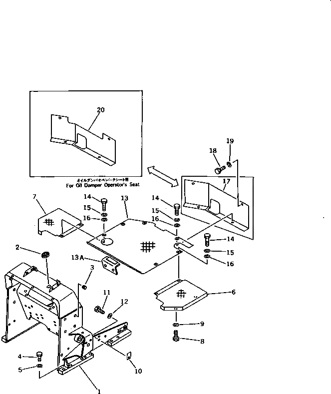
1

104-54-39111

FRAME,LOADER

SN: 63637-UP

1шт.

1

104-54-39110

FRAME,LOADER

SN: 60001-63636

1шт.

2

144-06-12150

GROMMET

SN: 60001-UP

1шт.

3

07049-01418

PLUG

SN: 60001-UP

8шт.

4

01010-51655

BOLT

SN: 60001-UP

12шт.

5

01643-31645

WASHER

SN: 60001-UP

12шт.

6

103-54-33120

FENDER,L.H.

SN: 60001-UP

1шт.

7

103-54-33130

FENDER,R.H.

SN: 60001-UP

1шт.

8

01010-51025

BOLT

SN: 60001-UP

4шт.

9

01602-21030

WASHER,SPRING

SN: 60001-UP

4шт.

10

103-54-23160

PLATE

SN: 60001-UP

2шт.

11

01010-51030

BOLT

SN: 60001-UP

2шт.

12

01643-31032

WASHER

SN: 60001-UP

2шт.

13

102-54-53110

PLATE,FLOOR

SN: 60001-UP

1шт.

13A

103-54-33210

BRACKET

SN: 61022-UP

1шт.

14

01010-51025

BOLT

SN: 60001-UP

6шт.

15

01602-21030

WASHER,SPRING

SN: 60001-UP

6шт.

16

01643-31032

WASHER

SN: 60001-UP

6шт.

17

103-54-34130

COVER

SN: 60001-UP

1шт.

18

01010-51025

BOLT

SN: 60001-UP

2шт.

19

01602-21030

WASHER,SPRING

SN: 60001-UP

2шт.

20

103-54-34210

COVER,(FOR OIL DAMPER SEAT)

SN: 60001-UP

1шт.

Выбрано товаров: 22