Запчасти Komatsu D20A-7-M БЛОК РУЛЕВ. УПРАВЛЕНИЯ (ДЛЯ ПОВОРОТНОГО ОТВАЛА) (ДЛЯ MONO РЫЧАГ РУЛЕВ. УПРАВЛЕНИЕ) ОСНОВН. РАМА И КОМПОНЕНТЫ

Схема запчастей Komatsu D20A-7-M - БЛОК РУЛЕВ. УПРАВЛЕНИЯ (ДЛЯ ПОВОРОТНОГО ОТВАЛА) (ДЛЯ MONO РЫЧАГ РУЛЕВ. УПРАВЛЕНИЕ) ОСНОВН. РАМА И КОМПОНЕНТЫ
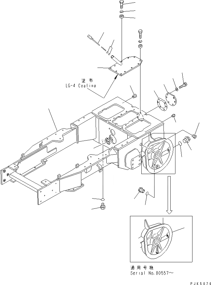
1
1
2
3
4
5
6
7
8
8
9
10
11
12
13
14
15
16
17
18
19
20
FIT
1:1
100%

Артикул

Название

Примечание

Количество

1

10G-21-41102

CASE FRAME ASS'Y

SN: 81468-UP

1шт.

|1

0

CASE FRAME ASS'Y

SN: 80557-81467

1шт.

|1

0

FRAME

SN: 78604-80556

1шт.

2

103-21-21181

BOSS (WELDED)

SN: 78604-UP

2шт.

3

104-21-31140

PLUG

SN: 78604-UP

16шт.

4

07049-01012

PLUG

SN: 78604-UP

4шт.

5

07043-01019

PLUG

SN: 78604-UP

2шт.

6

07044-12412

PLUG

SN: 78604-UP

3шт.

7

07040-12414

PLUG

SN: 78604-UP

2шт.

8

07002-02434

O-RING

SN: 78604-UP

5шт.

9

07040-13016

PLUG

SN: 78604-UP

2шт.

10

07002-03034

O-RING

SN: 78604-UP

2шт.

11

101-21-11170

PLATE

SN: 78604-UP

1шт.

12

101-21-11161

GASKET

SN: 78604-UP

1шт.

13

01010-81020

BOLT

SN: 78604-UP

6шт.

14

01643-31032

WASHER

SN: 78604-UP

6шт.

15

103-21-31211

COVER

SN: 78604-UP

1шт.

16

103-21-21231

GAUGE

SN: 78604-UP

1шт.

17

07002-02434

O-RING

SN: 78604-UP

2шт.

18

01010-81045

BOLT

SN: 78604-UP

7шт.

19

01602-21030

WASHER,SPRING

SN: 78604-UP

7шт.

20

103-21-31260

BOSS

SN: 78604-UP

7шт.

Выбрано товаров: 22