Запчасти Komatsu D20AG-7 ОБОГРЕВАТЕЛЬ. (/) ЧАСТИ КОРПУСА

Схема запчастей Komatsu D20AG-7 - ОБОГРЕВАТЕЛЬ. (/) ЧАСТИ КОРПУСА
FIT
1:1
100%

Артикул

Название

Примечание

Количество

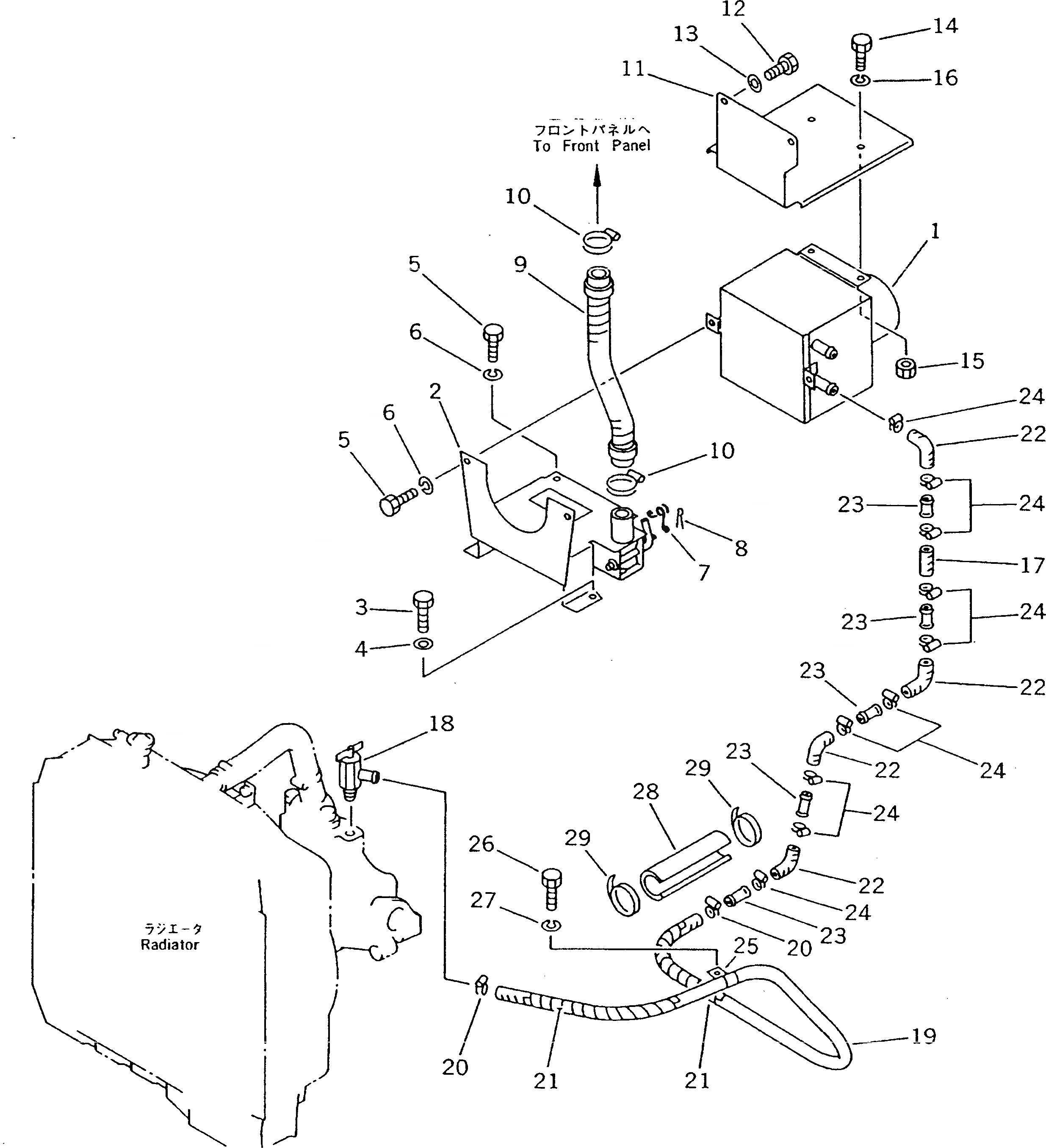
1

113-X79-3150

CAR HEATER ASS'Y

SN: 75001-UP

1шт.

2

103-Y79-3110

BRACKET

SN: 75001-UP

1шт.

3

01010-51020

BOLT

SN: 75001-UP

3шт.

4

01643-31032

WASHER

SN: 75001-UP

3шт.

5

01010-50616

BOLT

SN: 75001-UP

4шт.

6

01602-20619

WASHER,SPRING

SN: 75001-UP

4шт.

7

144-999-9810

SPRING

SN: 75001-UP

1шт.

8

04050-11610

PIN,COTTER

SN: 75001-UP

2шт.

9

09485-03704

HOSE

SN: 75001-UP

1шт.

10

07281-00419

CLAMP

SN: 75001-UP

2шт.

11

103-Y79-3120

STEP

SN: 75001-UP

1шт.

12

01010-51020

BOLT

SN: 75001-UP

2шт.

13

01643-31032

WASHER

SN: 75001-UP

2шт.

14

01010-50616

BOLT

SN: 75001-UP

2шт.

15

01580-10605

NUT

SN: 75001-UP

2шт.

16

01602-20619

WASHER,SPRING

SN: 75001-UP

2шт.

17

09483-00401

HOSE

SN: 75001-UP

1шт.

18

09482-50000

VALVE

SN: 75001-UP

1шт.

19

09483-00412

HOSE

SN: 75001-UP

1шт.

20

09480-10100

CLAMP

SN: 75001-UP

2шт.

21

203-62-32440

COVER

SN: 75001-UP

2шт.

22

09483-20450

HOSE

SN: 75001-UP

4шт.

23

09484-00450

CONNECTOR

SN: 75001-UP

5шт.

24

09480-10100

CLAMP

SN: 75001-UP

10шт.

25

175-06-36150

CLIP

SN: 75001-UP

1шт.

26

01010-51020

BOLT

SN: 75001-UP

1шт.

27

01602-21030

WASHER,SPRING

SN: 75001-UP

1шт.

28

203-04-31230

COVER

SN: 75001-UP

1шт.

29

08034-00414

BAND

SN: 75001-UP

2шт.

Выбрано товаров: 29