Запчасти Komatsu D20AG-7 ГИДР. БАК. AND ФИЛЬТР. (ROBAN SEISEI СПЕЦ-Я.) УПРАВЛ-Е РАБОЧИМ ОБОРУДОВАНИЕМ

Схема запчастей Komatsu D20AG-7 - ГИДР. БАК. AND ФИЛЬТР. (ROBAN SEISEI СПЕЦ-Я.) УПРАВЛ-Е РАБОЧИМ ОБОРУДОВАНИЕМ
FIT
1:1
100%

Артикул

Название

Примечание

Количество

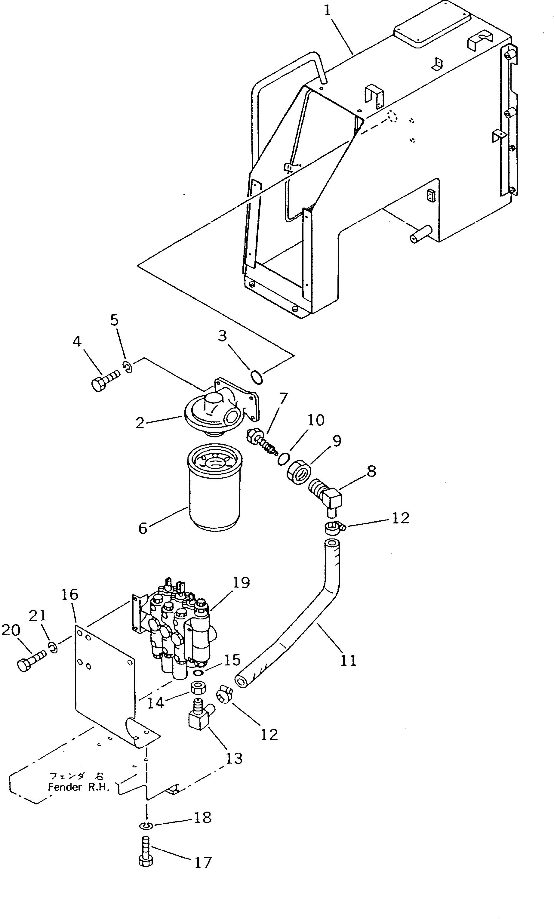
1

104-54-39420

CASE,HYDRAULIC

SN: 75001-78603

1шт.

2

113-60-43310

BASE

SN: 75001-@

1шт.

3

07000-03032

O-RING

SN: 75001-@

1шт.

4

01010-51025

BOLT

SN: 75001-@

3шт.

5

01602-21030

WASHER,SPRING

SN: 75001-@

3шт.

6

113-60-43321

CARTRIDGE

SN: 75001-@

1шт.

7

113-60-43330

VALVE

SN: 75001-@

1шт.

8

103-60-23151

ELBOW

SN: 75001-@

1шт.

9

113-60-23120

NUT

SN: 75001-@

1шт.

10

07002-03334

O-RING

SN: 75001-@

1шт.

11

103-60-33141

HOSE

SN: 75001-78603

1шт.

12

07281-00359

CLAMP

SN: 75001-@

2шт.

13

104-60-33110

NIPPLE

SN: 78604-@

1шт.

13

103-60-23121

NIPPLE

SN: 75001-78603

1шт.

14

103-60-23170

NUT

SN: 75001-@

1шт.

15

07002-02034

O-RING

SN: 75001-@

1шт.

16

103-60-32111

BRACKET

SN: 75001-78603

1шт.

17

01010-50825

BOLT

SN: 75001-@

4шт.

18

01602-20825

WASHER,SPRING

SN: 75001-@

4шт.

19

709-23-12801

VALVE ASS'Y

SN: 76441-78603

1шт.

|19

709-23-12800

VALVE ASS'Y

SN: 75001-76440

1шт.

20

01010-50825

BOLT

SN: 75001-@

3шт.

21

01602-20825

WASHER,SPRING

SN: 75001-@

3шт.

Выбрано товаров: 23