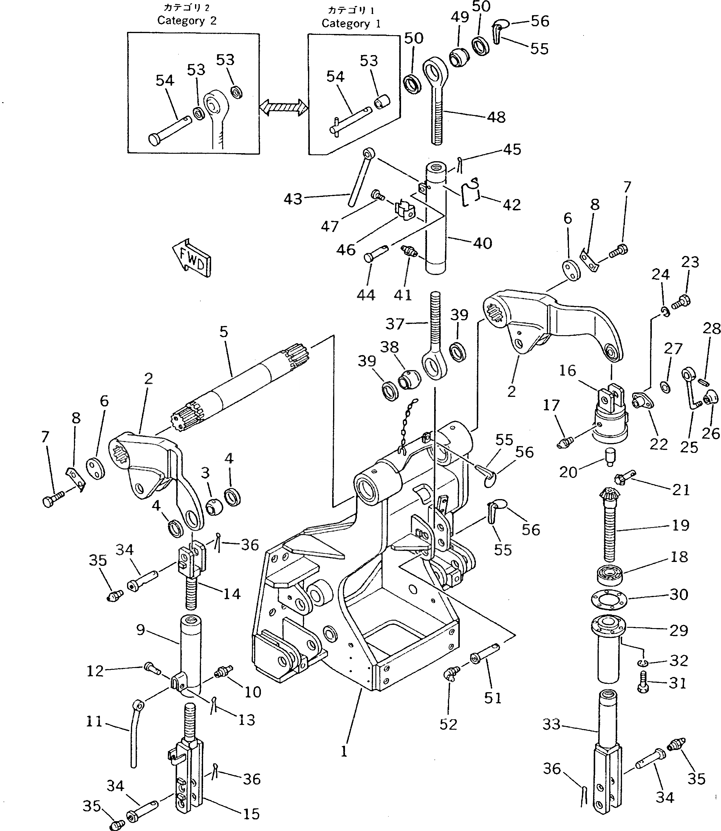
Запчасти Komatsu D20AG-7 -POINT СЦЕПКА (/) РАБОЧЕЕ ОБОРУДОВАНИЕ

Схема запчастей Komatsu D20AG-7 - -POINT СЦЕПКА (/) РАБОЧЕЕ ОБОРУДОВАНИЕ
FIT
1:1
100%

Артикул

Название

Примечание

Количество

1

101-Z54-0010

BRACKET ASS'Y

SN: 75001-UP

1шт.

2

101-Z54-1131

ARM,L.H.

SN: 75001-UP

1шт.

|2

101-Z54-1141

ARM,R.H.

SN: 75001-UP

1шт.

|3

101-Z54-0210

SEAT ASS'Y

SN: 75001-UP

1шт.

3

0

BUSHING

SN: 75001-UP

1шт.

4

0

SEAT (WELDED)

SN: 75001-UP

2шт.

5

101-Z54-1120

SHAFT

SN: 75001-UP

1шт.

6

04080-05010

HOLDER

SN: 75001-UP

2шт.

7

01010-51025

BOLT

SN: 75001-UP

4шт.

8

04081-05012

LOCK

SN: 75001-UP

2шт.

9

101-Z54-1311

BACKLE,TURN

SN: 75001-UP

1шт.

10

07020-00000

FITTING,GREASE

SN: 75001-UP

2шт.

11

101-Z54-1340

LEVER

SN: 75001-UP

1шт.

12

04205-11250

PIN

SN: 75001-UP

1шт.

13

04050-13020

PIN,COTTER

SN: 75001-UP

1шт.

14

101-Z54-1350

YOKE

SN: 75001-UP

1шт.

15

101-Z54-1331

YOKE

SN: 75001-UP

1шт.

16

101-Z54-7110

CASE

SN: 75001-UP

1шт.

17

07020-00000

FITTING,GREASE

SN: 75001-UP

1шт.

18

06000-51307

BEARING,BALL

SN: 75001-UP

1шт.

19

101-Z54-7120

SHAFT

SN: 75001-UP

1шт.

20

101-Z54-7160

PIN

SN: 75001-UP

1шт.

21

101-Z54-7150

PINION

SN: 75001-UP

1шт.

22

101-Z54-7170

BUSHING

SN: 75001-UP

1шт.

23

01010-50616

BOLT

SN: 75001-UP

2шт.

24

01602-20616

WASHER,SPRING

SN: 75001-UP

2шт.

25

101-Z54-7180

HANDLE

SN: 75001-UP

1шт.

26

09304-00835

KNOB

SN: 75001-UP

1шт.

27

01640-21826

WASHER

SN: 75001-UP

1шт.

28

04025-00532

PIN,SPRING

SN: 75001-UP

1шт.

29

101-Z54-7140

SLEEVE

SN: 75001-UP

1шт.

30

101-Z54-7210

GASKET

SN: 75001-UP

1шт.

31

01010-50825

BOLT

SN: 75001-UP

6шт.

32

01602-20825

WASHER,SPRING

SN: 75001-UP

6шт.

33

101-Z54-7130

YOKE

SN: 75001-UP

1шт.

34

101-Z54-1250

PIN

SN: 75001-UP

4шт.

35

07020-00000

FITTING,GREASE

SN: 75001-UP

4шт.

36

04050-16035

PIN,COTTER

SN: 75001-UP

4шт.

37

101-Z54-1421

ROD

SN: 75001-UP

1шт.

|38

101-Z54-0230

SEAT ASS'Y

SN: 75001-UP

1шт.

38

0

BUSHING

SN: 75001-UP

1шт.

39

0

SEAT (WELDED)

SN: 75001-UP

2шт.

40

101-Z54-1411

BACKLE,TURN

SN: 75001-UP

1шт.

41

07020-00000

FITTING,GREASE

SN: 75001-UP

2шт.

42

101-Z54-1450

CLIP

SN: 75001-UP

1шт.

43

10E-954-1230

LEVER

SN: 75001-UP

1шт.

44

04205-11250

PIN

SN: 75001-UP

1шт.

45

04050-13020

PIN,COTTER

SN: 75001-UP

1шт.

46

10E-954-1240

SPRING

SN: 75001-UP

1шт.

47

01220-40608

SCREW

SN: 75001-UP

1шт.

48

101-Z54-1462

ROD

SN: 75001-UP

1шт.

|49

101-Z54-0240

SEAT ASS'Y

SN: 75001-UP

1шт.

49

0

BUSHING

SN: 75001-UP

1шт.

50

0

SEAT (WELDED)

SN: 75001-UP

2шт.

51

101-Z54-1240

PIN

SN: 75001-UP

1шт.

52

07020-00900

FITTING,GREASE

SN: 75001-UP

1шт.

53

101-Z54-1680

BUSHING,(CATEGORY 1)

SN: 75001-UP

1шт.

|53

101-Z54-1690

SPACER,(CATEGORY 2)

SN: 75001-UP

2шт.

54

408-70-12750

PIN,(CATEGORY 1)

SN: 75001-UP

1шт.

|54

112-901-1190

PIN,(CATEGORY 2)

SN: 75001-UP

1шт.

55

409-70-11410

PIN

SN: 75001-UP

5шт.

56

409-70-11420

RING

SN: 75001-UP

5шт.

Выбрано товаров: 62