Запчасти Komatsu D20P-3 КОНЕЧНАЯ ПЕРЕДАЧА И ЗВЕЗДОЧКА(№-9) КОНЕЧНАЯ ПЕРЕДАЧА И СИСТЕМАУПРАВЛЕНИЯ ПОВОРОТОМ

Схема запчастей Komatsu D20P-3 - КОНЕЧНАЯ ПЕРЕДАЧА И ЗВЕЗДОЧКА(№-9) КОНЕЧНАЯ ПЕРЕДАЧА И СИСТЕМАУПРАВЛЕНИЯ ПОВОРОТОМ
FIT
1:1
100%

Артикул

Название

Примечание

Количество

|$0

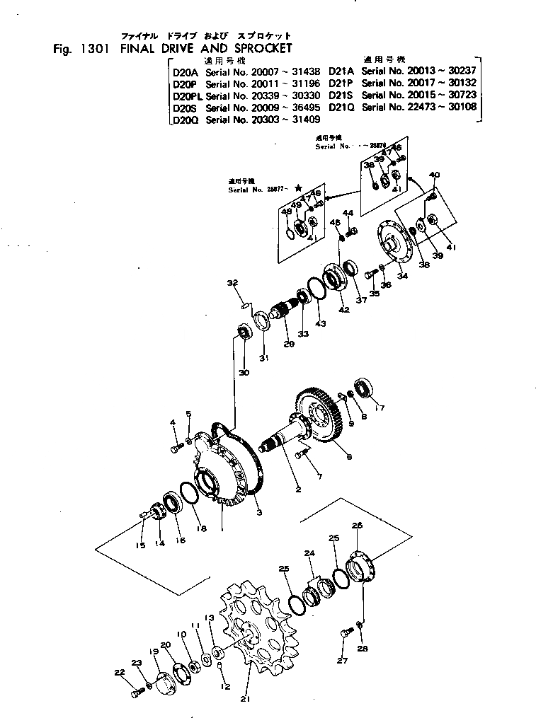
101-810-0012

FINAL DRIVE ASS'Y

SN: 20011-31196

2шт.

1

101-810-1130

CASE,FINAL DRIVE

SN: 20011-31196

1шт.

2

101-810-1120

SHAFT,SPROCKET

SN: 20011-31196

1шт.

3

101-27-11131

GASKET (KIT)

SN: 20007-31196

1шт.

4

01010-31230

BOLT

SN: 20007-@

13шт.

5

01602-01236

WASHER,SPRING

SN: 20007-@

13шт.

6

101-27-11140

GEAR, 54 TEETH,FINAL DRIVE

SN: 20007-@

1шт.

7

100-27-11220

BOLT,REAMER

SN: 20007-@

12шт.

8

01582-01411

NUT

SN: 20007-@

12шт.

9

101-28-11351

LOCK

SN: 20007-@

6шт.

10

101-27-11160

NUT

SN: 20007-31196

1шт.

11

101-27-11171

WASHER

SN: 20007-31196

1шт.

12

04020-00514

PIN,DOWEL

SN: 20007-31196

1шт.

13

101-27-11211

WASHER

SN: 20007-31196

1шт.

14

101-27-11181

NUT

SN: 20007-31196

1шт.

15

04020-00514

PIN,DOWEL

SN: 20007-@

1шт.

16

06030-22214

BEARING

SN: 20007-31196

1шт.

17

06044-00310

BEARING

SN: 20007-@

1шт.

18

07000-03145

O-RING (KIT)

SN: 20007-31196

1шт.

19

101-27-11220

COVER,SPROCKET SHAFT

SN: 20007-31196

1шт.

20

101-27-11230

PACKING (KIT)

SN: 20007-@

1шт.

21

101-27-11245

SPROCKET

SN: 20007-31196

1шт.

21

101-98-00050

RIM,(SERVICE PARTS)

SN: 20007-31196

1шт.

22

01010-31025

BOLT

SN: 20007-@

4шт.

23

01602-01030

WASHER,SPRING

SN: 20007-@

4шт.

|$25

101-27-00010

FLOATING SEAL ASS'Y

SN: 20007-@

1шт.

24

0

RING,SEAL

SN: 20007-@

2шт.

25

0

O-RING (KIT)

SN: 20007-@

2шт.

26

101-27-11250

RING

SN: 20007-31196

1шт.

27

01010-31025

BOLT

SN: 20007-@

8шт.

28

01602-01030

WASHER,SPRING

SN: 20007-@

8шт.

29

101-27-21120

PINION,FINAL DRIVE

SN: 28877-@

1шт.

29

101-27-11282

PINION,FINAL DRIVE

SN: 20007-28876

1шт.

30

06043-00308

BEARING

SN: 20007-@

1шт.

31

101-27-11291

RING,LOCK

SN: 20007-@

1шт.

32

04020-00514

PIN,DOWEL

SN: 20007-@

1шт.

33

06044-00309

BEARING

SN: 20007-@

1шт.

34

101-27-21130

FLANGE

SN: 28877-@

1шт.

34

101-27-11410

FLANGE

SN: 20007-28876

1шт.

35

01010-30822

BOLT

SN: 20007-@

12шт.

36

01602-00825

WASHER,SPRING

SN: 20007-@

12шт.

37

07012-11065

SEAL,OIL (KIT)

SN: 20007-@

1шт.

38

101-27-11440

GASKET (KIT)

SN: 20007-28876

1шт.

39

101-27-21110

LOCK

SN: .-28876

1шт.

39

0

WASHER

SN: 20007-.

1шт.

|$$46

(101-27-21110,01010-31220(2),

-1шт.

|$$47

01602-01236(2))

-1шт.

40

101-27-11460

BOLT

SN: 20007-.

1шт.

41

101-27-21140

NUT

SN: 28877-@

1шт.

41

101-27-11430

NUT

SN: 20007-28876

1шт.

42

101-27-11480

CAGE

SN: 20007-@

1шт.

43

07000-03110

O-RING (KIT)

SN: 20007-@

1шт.

44

01010-31030

BOLT

SN: 20007-@

4шт.

45

01602-01030

WASHER,SPRING

SN: 20007-@

4шт.

46

01010-31220

BOLT

SN: 28877-@

4шт.

46

01010-31220

BOLT

SN: .-28876

2шт.

47

01602-01236

WASHER,SPRING

SN: 28877-@

4шт.

47

01602-01236

WASHER,SPRING

SN: .-28876

2шт.

48

07000-02070

O-RING

SN: 28877-@

1шт.

49

101-27-21150

LOCK

SN: 28877-@

1шт.

Выбрано товаров: 60