Запчасти Komatsu D20P-3 ПЕДАЛЬ ТОРМОЗА КОНЕЧНАЯ ПЕРЕДАЧА И СИСТЕМАУПРАВЛЕНИЯ ПОВОРОТОМ

Схема запчастей Komatsu D20P-3 - ПЕДАЛЬ ТОРМОЗА КОНЕЧНАЯ ПЕРЕДАЧА И СИСТЕМАУПРАВЛЕНИЯ ПОВОРОТОМ
FIT
1:1
100%

Артикул

Название

Примечание

Количество

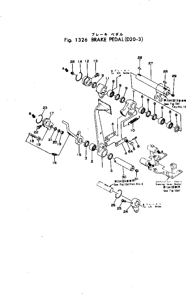
1

101-33-21151

PEDAL,BRAKE

SN: 20019-UP

1шт.

1

0

PEDAL,BRAKE

SN: 20007-20018

1шт.

|$$3

(101-33-21151,101-43-21291,

-1шт.

|$$4

101-11-16121,101-11-16160)

-1шт.

2

06120-02820

BEARING,NEEDLE

SN: 20007-UP

1шт.

3

06122-02804

SEAL,BEARING

SN: 20007-UP

2шт.

4

102-33-15290

LINK

SN: 20007-UP

2шт.

5

04205-11028

PIN

SN: 25999-UP

2шт.

5

04205-01026

PIN

SN: 20007-25998

2шт.

6

04050-03015

PIN,COTTER

SN: 20007-UP

2шт.

6A

01641-21016

WASHER

SN: 25999-UP

2шт.

7

102-33-11130

LEVER

SN: 20007-UP

1шт.

8

06120-02820

BEARING,NEEDLE

SN: 20007-UP

4шт.

9

06122-02804

SEAL,BEARING

SN: 20007-UP

6шт.

10

100-33-15250

SPRING

SN: 20007-UP

1шт.

11

102-33-11190

LEVER

SN: 20007-UP

1шт.

12

102-33-11210

COLLAR

SN: 20007-UP

1шт.

13

01306-00820

SCREW

SN: 20007-UP

1шт.

14

04059-01016

WIRE

SN: 20007-UP

1шт.

15

101-33-21120

LEVER,BRAKE LOCK

SN: 20007-UP

1шт.

16

130-33-12230

SPRING

SN: 20007-UP

1шт.

17

101-33-21130

LEVER

SN: 20007-UP

1шт.

18

101-33-21140

BOLT

SN: 20007-UP

1шт.

19

01580-01008

NUT

SN: 20007-UP

2шт.

20

01602-01030

WASHER,SPRING

SN: 20007-UP

1шт.

21

01640-01016

WASHER

SN: 20007-UP

1шт.

22

01306-00820

SCREW

SN: 20007-UP

1шт.

23

04059-01016

WIRE,LOCK

SN: 20007-UP

1шт.

24

102-33-11221

LEVER

SN: 20007-UP

1шт.

25

01306-00820

SCREW

SN: 20007-UP

1шт.

26

04059-01016

WIRE,LOCK

SN: 20007-UP

1шт.

27

102-33-11150

SHAFT

SN: 20007-UP

1шт.

28

04000-00725

KEY

SN: 20007-UP

2шт.

29

07020-00900

FITTING,GREASE

SN: 20007-UP

2шт.

30

102-33-11160

SHAFT,BRAKE PEDAL

SN: 20007-UP

1шт.

31

07020-00900

FITTING,GREASE

SN: 20007-UP

1шт.

Выбрано товаров: 36