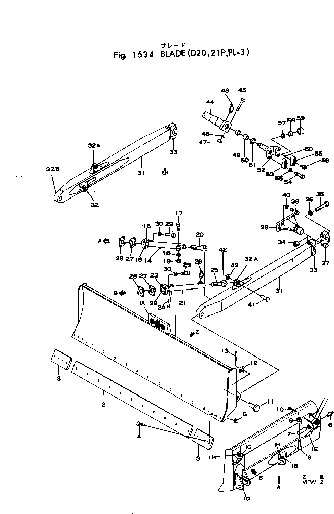
Запчасти Komatsu D20P-3 ОТВАЛ РАБОЧЕЕ ОБОРУДОВАНИЕ И ITS СИСТЕМА УПРАВЛЕНИЯ

Схема запчастей Komatsu D20P-3 - ОТВАЛ РАБОЧЕЕ ОБОРУДОВАНИЕ И ITS СИСТЕМА УПРАВЛЕНИЯ
FIT
1:1
100%

Артикул

Название

Примечание

Количество

|$0

101-817-0011

BLADE ASS'Y

SN: 20011-UP

1шт.

1

101-872-6110

BLADE

SN: 20011-UP

1шт.

1A

101-71-31130

PLATE, MARK (WELDED)

SN: 20011-UP

1шт.

1B

101-817-7170

BRACKET,L.H. (WELDED)

SN: 20011-UP

1шт.

1B

101-817-7180

BRACKET,R.H. (WELDED)

SN: 20011-UP

1шт.

1C

101-817-7160

BRACKET (WELDED)

SN: 20011-UP

2шт.

1D

101-817-7190

BRACKET (WELDED)

SN: 20011-UP

2шт.

1E

101-817-7210

BRACKET,L.H. (WELDED)

SN: 20011-UP

1шт.

1E

101-817-7220

BRACKET,R.H. (WELDED)

SN: 20011-UP

1шт.

1F

101-817-7140

SEAT (WELDED)

SN: 20011-UP

2шт.

1G

101-817-7130

SEAT (WELDED)

SN: 20011-UP

2шт.

1H

01099-03417

PROTECTOR (WELDED)

SN: 20011-UP

4шт.

2

101-71-12370

EDGE

SN: 20011-UP

1шт.

3

101-817-1120

BIT,END

SN: 20011-UP

2шт.

4

02090-00840

BOLT

SN: 20011-UP

19шт.

5

02290-10813

NUT

SN: 20011-UP

19шт.

6

07020-00000

FITTING

SN: 20011-UP

6шт.

7

101-71-12350

SHAFT

SN: 20011-UP

2шт.

8

01012-30855

BOLT

SN: 20011-UP

2шт.

9

01590-00809

NUT

SN: 20011-UP

2шт.

10

04050-02015

PIN

SN: 20011-UP

2шт.

11

101-817-1130

PIN

SN: 20011-UP

2шт.

12

01640-03950

WASHER

SN: 20011-UP

2шт.

13

04050-00060

PIN

SN: 20011-UP

2шт.

|$24

101-817-0051

BRACE ASS'Y

SN: 28877-UP

2шт.

|$25

0

BRACE ASS'Y

SN: 20011-28876

2шт.

14

0

BRACE

SN: 28877-UP

1шт.

14

0

BRACE

SN: 20011-28876

1шт.

15

101-817-2140

JOINT

SN: 20011-UP

1шт.

16

101-817-2130

CAP

SN: 20011-UP

1шт.

17

01050-31265

BOLT

SN: 20011-UP

1шт.

18

01602-01236

WASHER

SN: 20011-UP

1шт.

19

01582-01210

NUT

SN: 20011-UP

1шт.

20

101-71-31150

SCREW

SN: 28877-UP

1шт.

20

101-71-12320

SCREW

SN: 20011-28876

1шт.

|$35

101-817-0041

TILT BRACE ASS'Y

SN: 28877-UP

2шт.

|$36

0

TILT BRACE ASS'Y

SN: 20011-28876

2шт.

21

0

BRACE

SN: 28877-UP

1шт.

21

0

BRACE

SN: 20011-28876

1шт.

22

101-817-2140

JOINT

SN: 20011-UP

1шт.

23

101-817-2130

CAP

SN: 20011-UP

1шт.

24

101-71-12250

LEVER

SN: 20011-UP

1шт.

24

101-71-12380

ROUND (WELDED)

SN: 20011-UP

2шт.

25

101-71-31150

SCREW

SN: 28877-UP

1шт.

25

101-71-12320

SCREW

SN: 20011-28876

1шт.

26

07020-00000

FITTING

SN: 20011-UP

1шт.

|$46

101-817-0110

SHIM KIT

SN: 20011-UP

4шт.

27

0

SHIM, 0.5MM

SN: 20011-UP

2шт.

28

0

SHIM, 1.0MM

SN: 20011-UP

2шт.

29

01010-31245

BOLT

SN: 20011-UP

16шт.

30

01602-01236

WASHER

SN: 20011-UP

16шт.

|$51

101-817-0021

FRAME ASS'Y,L.H.

SN: 20011-UP

1шт.

|$52

101-817-0031

FRAME ASS'Y,R.H.

SN: 20011-UP

1шт.

31

101-817-3120

FRAME,L.H.

SN: 20011-UP

1шт.

31

101-817-3110

FRAME,R.H.

SN: 20011-UP

1шт.

32

101-817-7270

BRACKET,L.H. (WELDED)

SN: 20011-UP

1шт.

32

101-817-7280

BRACKET,R.H. (WELDED)

SN: 20011-UP

1шт.

32A

101-817-7250

BRACKET,L.H. (WELDED)

SN: 20011-UP

1шт.

32A

101-817-7260

BRACKET,R.H. (WELDED)

SN: 20011-UP

1шт.

32B

101-817-7240

BRACKET (WELDED)

SN: 20011-UP

1шт.

|$60

101-71-00072

PIVOT ASS'Y

SN: .-UP

2шт.

|$61

0

PIVOT ASS'Y

SN: 20011-.

2шт.

33

101-71-12441

BEARING

SN: .-UP

1шт.

33

101-71-12430

PIVOT

SN: 20011-.

1шт.

34

101-904-1240

NUT

SN: 20011-UP

2шт.

35

01011-32015

BOLT

SN: 20011-UP

2шт.

36

01602-02060

WASHER

SN: 20011-UP

2шт.

37

100-93-21170

CAP

SN: 20011-UP

1шт.

38

101-817-3130

TRUNNION

SN: 20011-UP

2шт.

39

01010-31445

BOLT

SN: 20011-UP

12шт.

40

01602-01442

WASHER

SN: 20011-UP

12шт.

41

101-817-3140

PIN

SN: 20011-UP

4шт.

42

04050-06045

PIN

SN: 20011-UP

4шт.

43

01640-03045

WASHER

SN: 20011-UP

4шт.

44

101-71-12510

STAY

SN: 20011-UP

1шт.

44

101-71-12520

BOSS (WELDED)

SN: 20011-UP

1шт.

44

101-71-12530

BOSS (WELDED)

SN: 20011-UP

1шт.

45

01011-31405

BOLT

SN: 20011-UP

4шт.

46

01602-01442

WASHER

SN: 20011-UP

4шт.

47

01580-01411

NUT

SN: 20011-UP

4шт.

48

07020-00000

FITTING

SN: 20011-UP

2шт.

49

101-71-12540

BUSHING

SN: 20011-UP

2шт.

50

101-71-12550

BUSHING

SN: 20011-UP

2шт.

51

06122-04504

SEAL

SN: 20011-UP

2шт.

52

101-71-12561

YOKE

SN: 20011-UP

2шт.

53

101-71-31120

CAP

SN: 20011-UP

4шт.

54

01010-31240

BOLT

SN: 20011-UP

8шт.

55

01602-01236

WASHER

SN: 20011-UP

8шт.

56

07020-00000

FITTING

SN: 20011-UP

4шт.

57

100-09-12310

SEAL

SN: 20011-UP

4шт.

58

101-61-16410

BUSHING

SN: 20011-UP

4шт.

59

101-61-16381

HOUSING

SN: 20011-UP

4шт.

60

144-70-15251

PIN

SN: 20011-UP

4шт.

Выбрано товаров: 93