Запчасти Komatsu D20P-3 ПРУЖИНА(№-) ГУСЕНИЦЫ И ЧАСТИ КОРПУСА

Схема запчастей Komatsu D20P-3 - ПРУЖИНА(№-) ГУСЕНИЦЫ И ЧАСТИ КОРПУСА
FIT
1:1
100%

Артикул

Название

Примечание

Количество

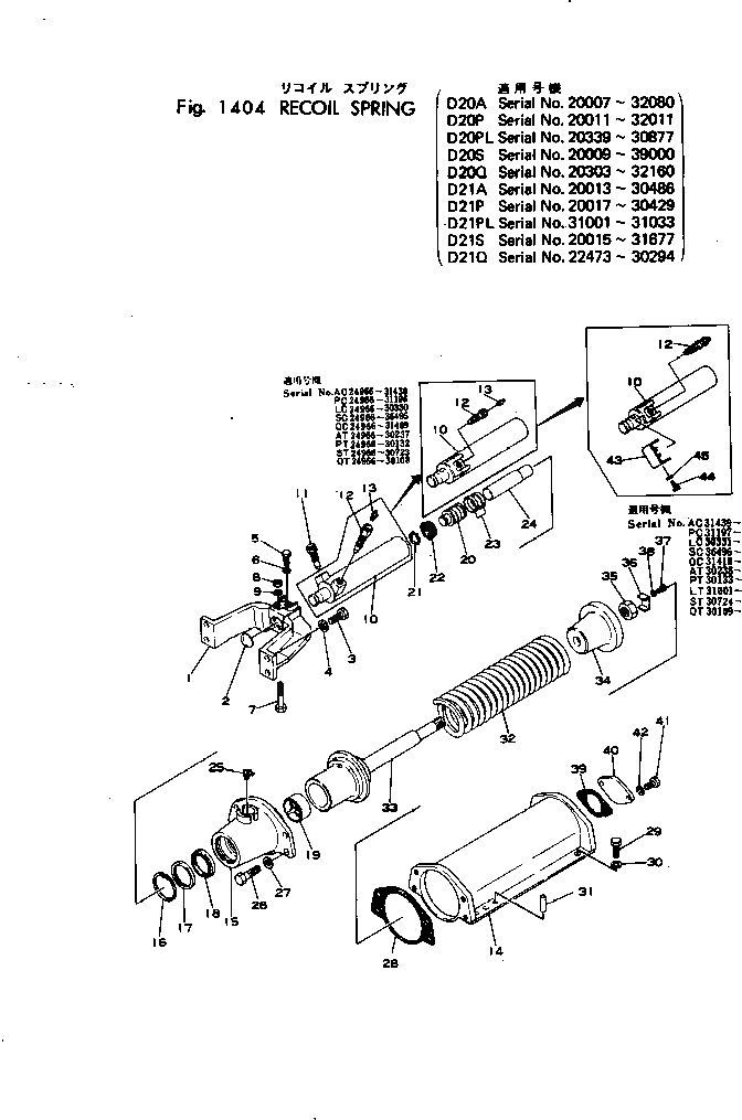
1

101-30-21132

ARM

SN: 20007-@

2шт.

2

07046-03520

PLUG,EXPANSION

SN: 20007-@

2шт.

3

01010-31230

BOLT

SN: 20007-@

8шт.

4

01602-01236

WASHER,SPRING

SN: 20007-@

8шт.

5

101-30-21351

BOLT

SN: 20007-@

2шт.

6

01602-01236

WASHER,SPRING

SN: 20007-@

2шт.

7

101-30-34380

BOLT

SN: .-32011

2шт.

|7

01090-31275

BOLT

SN: 20007-.

2шт.

8

01582-01210

NUT

SN: 20007-@

2шт.

9

01602-01236

WASHER,SPRING

SN: 20007-@

2шт.

10

101-30-34331

CYLINDER

SN: 31197-@

2шт.

|10

101-30-34330

CYLINDER

SN: 24966-31196

2шт.

|10

0

CYLINDER

SN: 20007-24965

2шт.

|$$14

(101-30-34330{195-30-13190)}

-1шт.

11

150-30-13521

CAP

SN: 20007-24965

2шт.

12

101-30-34360

LUBRICATOR

SN: 31197-@

2шт.

|12

195-30-13190

LUBRICATOR

SN: 24966-31196

2шт.

|12

101-30-34260

LUBRICATOR

SN: 20007-24965

2шт.

13

07020-00000

FITTING,GREASE

SN: 20007-31196

2шт.

14

101-30-21231

BOX

SN: 20007-32011

2шт.

15

101-30-34170

COVER

SN: 20007-32011

2шт.

16

04065-07025

RING,SNAP

SN: 20007-@

2шт.

17

101-30-34140

SPACER

SN: 20007-@

2шт.

18

07016-00558

SEAL,DUST (KIT)

SN: 20007-@

2шт.

19

101-30-34150

BUSHING

SN: 20007-32011

2шт.

20

101-30-34160

PISTON

SN: 20007-@

2шт.

21

04064-02512

RING,SNAP

SN: 20007-@

2шт.

22

101-30-34210

PACKING

SN: 20007-@

2шт.

23

101-30-34220

RING,PISTON

SN: 20007-@

4шт.

24

101-30-34130

SHAFT

SN: 20007-32011

2шт.

25

07020-00675

FITTING,GREASE

SN: 20007-32011

2шт.

26

01010-31435

BOLT

SN: 20007-32011

8шт.

27

01602-01442

WASHER,SPRING

SN: 20007-32011

8шт.

28

101-30-21151

GASKET (KIT)

SN: 20007-32011

2шт.

29

01010-31430

BOLT

SN: 20007-@

12шт.

30

01602-01442

WASHER,SPRING

SN: 20007-@

12шт.

31

04020-01228

PIN

SN: 20007-@

4шт.

32

101-30-21191

SPRING

SN: 20007-32011

2шт.

33

101-30-34350

SHAFT

SN: 29721-32011

2шт.

|33

0

SHAFT

SN: 20007-29720

2шт.

34

101-30-11221

SEAT,SPRING

SN: 20007-32011

2шт.

35

01580-02218

NUT

SN: 20007-32011

2шт.

36

101-30-11421

LOCK

SN: 20007-32011

2шт.

37

01010-30816

BOLT

SN: 20007-32011

2шт.

38

01602-00825

WASHER,SPRING

SN: 20007-32011

2шт.

39

101-30-21250

GASKET

SN: 20007-32011

2шт.

40

101-30-21240

COVER

SN: 20007-32011

2шт.

41

01010-31020

BOLT

SN: 20007-32011

4шт.

42

01602-01030

WASHER,SPRING

SN: 20007-32011

4шт.

43

101-30-34370

COVER

SN: 31197-@

2шт.

44

01010-50816

BOLT

SN: 31197-@

4шт.

45

01602-20825

WASHER,SPRING

SN: 31197-@

4шт.

Выбрано товаров: 52