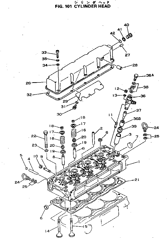
Запчасти Komatsu 4D92-1A ГОЛОВКА ЦИЛИНДРОВ ГОЛОВКА ЦИЛИНДРОВ

Схема запчастей Komatsu 4D92-1A - ГОЛОВКА ЦИЛИНДРОВ ГОЛОВКА ЦИЛИНДРОВ
FIT
1:1
100%

Артикул

Название

Примечание

Количество

|$0

6141-11-1010

CYLINDER HEAD ASS'Y

SN: 11008-UP

1шт.

|$1

6141-11-1103

CYLINDER HEAD ASS'Y

SN: 19925-UP

1шт.

|$2

0

CYLINDER HEAD ASS'Y

SN: 13899-19924

1шт.

|$3

0

CYLINDER HEAD ASS'Y

SN: 11008-13898

1шт.

1

0

HEAD

SN: 19925-UP

1шт.

1

0

HEAD

SN: 11008-19924

1шт.

2

6140-11-1123

TUBE

SN: 13943-UP

1шт.

2

0

TUBE

SN: (13943-23742)

1шт.

2

0

TUBE

SN: 11008-13942

1шт.

3

6140-11-1132

SLEEVE

SN: 19281-UP

4шт.

3

0

SLEEVE

SN: 11008-19280

4шт.

4

6140-11-1140

PIPE

SN: 11008-UP

4шт.

5

6140-11-1150

PLUG

SN: 11008-UP

4шт.

6

6140-11-1160

PLUG

SN: 11008-UP

15шт.

7

6140-11-1170

PLUG

SN: 11008-UP

1шт.

8

6140-19-1310

GUIDE

SN: 11008-UP

8шт.

9

01140-61045

STUD

SN: 11008-UP

8шт.

10

6110-11-1190

NUT

SN: 11008-UP

8шт.

11

01100-30845

STUD

SN: 11008-UP

8шт.

12

01580-00806

NUT

SN: 11008-UP

8шт.

13

01602-00825

WASHER

SN: 11008-UP

8шт.

14

6140-41-4111

VALVE,INTAKE

SN: 19925-UP

4шт.

14

0

VALVE,INTAKE

SN: 11008-19924

4шт.

15

6140-41-4211

VALVE,EXHAUST

SN: 19925-UP

4шт.

15

0

VALVE,EXHAUST

SN: 11008-19924

4шт.

16

6140-41-4410

SPRING

SN: 11008-UP

8шт.

17

6140-41-4511

SEAT

SN: 11008-UP

8шт.

18

6140-41-4520

COTTER

SN: 11008-UP

16шт.

19

6140-41-4530

ROTATOR

SN: 11008-UP

8шт.

20

6140-41-4540

SEAL (K1)

SN: 11008-UP

8шт.

21

6141-11-1813

GASKET (K1)

SN: .-UP

1шт.

21

0

GASKET

SN: 11008-.

1шт.

22

6142-11-1610

BOLT

SN: 55593-UP

17шт.

22

0

BOLT

SN: 13943-55592

17шт.

22

0

BOLT

SN: 11008-13942

17шт.

23

6140-11-1620

WASHER

SN: 11008-55592

17шт.

24

04530-01222

BOLT

SN: 11008-UP

2шт.

25

6140-11-1510

SHIM

SN: 11008-UP

4шт.

|$38

6141-11-8107

COVER ASS'Y

SN: .-UP

1шт.

|$39

0

COVER ASS'Y

SN: 38497-.

1шт.

|$40

0

COVER ASS'Y

SN: 16352-38496

1шт.

|$41

0

HEAD COVER ASS'Y

SN: 14168-16351

1шт.

|$42

0

HEAD COVER ASS'Y

SN: 11008-14167

1шт.

26

0

COVER

SN: 16352-UP

1шт.

26

0

COVER

SN: 11008-16351

1шт.

27

04020-00820

PIN

SN: 11008-UP

1шт.

28

6141-11-8213

TUBE

SN: .-UP

1шт.

28

0

TUBE

SN: 38497-.

1шт.

28

0

TUBE

SN: 16352-38496

1шт.

28

6141-11-8210

TUBE

SN: 14168-16351

1шт.

28

0

TUBE

SN: 11008-14167

1шт.

29

6141-11-8221

PLATE

SN: 16352-UP

1шт.

29

6141-11-8220

PLATE

SN: 11008-16351

1шт.

30

01010-30614

BOLT

SN: 11008-UP

2шт.

31

01602-00619

WASHER

SN: 11008-UP

2шт.

32

6141-11-8811

GASKET (K1)

SN: 11008-UP

1шт.

33

01252-30835

BOLT

SN: 11008-UP

10шт.

34

01641-20812

WASHER

SN: 11008-UP

10шт.

35

01602-00825

WASHER

SN: 11008-UP

10шт.

|$59

6140-11-3103

NOZZLE HOLDER ASS'Y,(SEE FIG.421)

SN: 11008-UP

4шт.

36

6140-11-3112

HOLDER

SN: 11008-UP

1шт.

36A

6140-11-3150

BOLT

SN: 11008-UP

1шт.

36B

DK150639-4200

NUT

SN: 11008-UP

1шт.

37

6140-11-3132

NOZZLE

SN: 11008-UP

1шт.

38

6127-11-3160

GASKET (K1)

SN: 11008-UP

2шт.

39

6140-11-3240

PACKING (K1)

SN: 11008-UP

4шт.

|$0

6141-11-1010

CYLINDER HEAD ASS'Y

SN: 11008-UP

1шт.

|$1

6141-11-1103

CYLINDER HEAD ASS'Y

SN: 19925-UP

1шт.

|$2

0

CYLINDER HEAD ASS'Y

SN: 13899-19924

1шт.

|$3

0

CYLINDER HEAD ASS'Y

SN: 11008-13898

1шт.

1

0

HEAD

SN: 19925-UP

1шт.

1

0

HEAD

SN: 11008-19924

1шт.

2

6140-11-1123

TUBE

SN: 13943-UP

1шт.

2

0

TUBE

SN: (13943-23742)

1шт.

2

0

TUBE

SN: 11008-13942

1шт.

3

6140-11-1132

SLEEVE

SN: 19281-UP

4шт.

3

0

SLEEVE

SN: 11008-19280

4шт.

4

6140-11-1140

PIPE

SN: 11008-UP

4шт.

5

6140-11-1150

PLUG

SN: 11008-UP

4шт.

6

6140-11-1160

PLUG

SN: 11008-UP

15шт.

7

6140-11-1170

PLUG

SN: 11008-UP

1шт.

8

6140-19-1310

GUIDE

SN: 11008-UP

8шт.

9

01140-61045

STUD

SN: 11008-UP

8шт.

10

6110-11-1190

NUT

SN: 11008-UP

8шт.

11

01100-30845

STUD

SN: 11008-UP

8шт.

12

01580-00806

NUT

SN: 11008-UP

8шт.

13

01602-00825

WASHER

SN: 11008-UP

8шт.

14

6140-41-4111

VALVE,INTAKE

SN: 19925-UP

4шт.

14

0

VALVE,INTAKE

SN: 11008-19924

4шт.

15

6140-41-4211

VALVE,EXHAUST

SN: 19925-UP

4шт.

15

0

VALVE,EXHAUST

SN: 11008-19924

4шт.

16

6140-41-4410

SPRING

SN: 11008-UP

8шт.

17

6140-41-4511

SEAT

SN: 11008-UP

8шт.

18

6140-41-4520

COTTER

SN: 11008-UP

16шт.

19

6140-41-4530

ROTATOR

SN: 11008-UP

8шт.

20

6140-41-4540

SEAL (K1)

SN: 11008-UP

8шт.

21

6141-11-1813

GASKET (K1)

SN: .-UP

1шт.

21

0

GASKET

SN: 11008-.

1шт.

22

6142-11-1610

BOLT

SN: 55593-UP

17шт.

22

0

BOLT

SN: 13943-55592

17шт.

22

0

BOLT

SN: 11008-13942

17шт.

23

6140-11-1620

WASHER

SN: 11008-55592

17шт.

24

04530-01222

BOLT

SN: 11008-UP

2шт.

25

6140-11-1510

SHIM

SN: 11008-UP

4шт.

|$38

6141-11-8107

COVER ASS'Y

SN: .-UP

1шт.

|$39

0

COVER ASS'Y

SN: 38497-.

1шт.

|$40

0

COVER ASS'Y

SN: 16352-38496

1шт.

|$41

0

HEAD COVER ASS'Y

SN: 14168-16351

1шт.

|$42

0

HEAD COVER ASS'Y

SN: 11008-14167

1шт.

26

0

COVER

SN: 16352-UP

1шт.

26

0

COVER

SN: 11008-16351

1шт.

27

04020-00820

PIN

SN: 11008-UP

1шт.

28

6141-11-8213

TUBE

SN: .-UP

1шт.

28

0

TUBE

SN: 38497-.

1шт.

28

0

TUBE

SN: 16352-38496

1шт.

28

6141-11-8210

TUBE

SN: 14168-16351

1шт.

28

0

TUBE

SN: 11008-14167

1шт.

29

6141-11-8221

PLATE

SN: 16352-UP

1шт.

29

6141-11-8220

PLATE

SN: 11008-16351

1шт.

30

01010-30614

BOLT

SN: 11008-UP

2шт.

31

01602-00619

WASHER

SN: 11008-UP

2шт.

32

6141-11-8811

GASKET (K1)

SN: 11008-UP

1шт.

33

01252-30835

BOLT

SN: 11008-UP

10шт.

34

01641-20812

WASHER

SN: 11008-UP

10шт.

35

01602-00825

WASHER

SN: 11008-UP

10шт.

|$59

6140-11-3103

NOZZLE HOLDER ASS'Y,(SEE FIG.421)

SN: 11008-UP

4шт.

36

6140-11-3112

HOLDER

SN: 11008-UP

1шт.

36A

6140-11-3150

BOLT

SN: 11008-UP

1шт.

36B

DK150639-4200

NUT

SN: 11008-UP

1шт.

37

6140-11-3132

NOZZLE

SN: 11008-UP

1шт.

38

6127-11-3160

GASKET (K1)

SN: 11008-UP

2шт.

39

6140-11-3240

PACKING (K1)

SN: 11008-UP

4шт.

Выбрано товаров: 132