Запчасти Komatsu D20P-5 ТОПЛИВН. БАК.¤ ДОПОЛН. ФИЛЬТР И ТРУБЫ(№7-) КОМПОНЕНТЫ ДВИГАТЕЛЯ И ЭЛЕКТРИКА

Схема запчастей Komatsu D20P-5 - ТОПЛИВН. БАК.¤ ДОПОЛН. ФИЛЬТР И ТРУБЫ(№7-) КОМПОНЕНТЫ ДВИГАТЕЛЯ И ЭЛЕКТРИКА
FIT
1:1
100%

Артикул

Название

Примечание

Количество

|$0

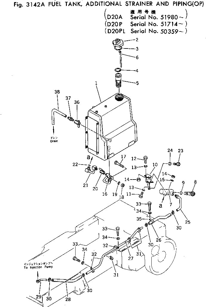
103-04-00020

FUEL TANK ASS'Y

SN: 45001-UP

1шт.

1

0

TANK

SN: 45001-UP

1шт.

2

07050-20920

CAP ASS'Y

SN: 45001-UP

1шт.

2

07091-00920

CAP ASS'Y,(FOR VANDALISM PROTECTION)

SN: 45001-UP

1шт.

3

07050-20922

GASKET

SN: 45001-UP

1шт.

4

07057-03266

RING,SNAP

SN: 45001-UP

1шт.

5

07056-16415

STRAINER

SN: 45001-UP

1шт.

6

103-04-21122

GAUGE,LEVEL

SN: 45001-UP

1шт.

7

141-04-33120

CASE

SN: 45001-UP

1шт.

8

154-04-12531

STRAINER

SN: 45001-UP

1шт.

9

07000-03038

O-RING

SN: 45001-UP

1шт.

10

103-04-22261

BRACKET

SN: 51714-UP

1шт.

11

01010-31030

BOLT

SN: 45001-UP

2шт.

12

01010-31025

BOLT

SN: 51714-UP

2шт.

13

01602-01030

WASHER,SPRING

SN: 51714-UP

4шт.

14

01580-01008

NUT

SN: 51714-UP

4шт.

15

01643-31032

WASHER

SN: 51714-UP

2шт.

16

103-04-22210

TUBE

SN: 45001-UP

1шт.

17

01010-31025

BOLT

SN: 45001-UP

1шт.

18

01580-01008

NUT

SN: 45001-UP

1шт.

19

01602-01030

WASHER,SPRING

SN: 45001-UP

1шт.

20

113-04-22120

VALVE

SN: 45001-UP

1шт.

21

103-04-22231

TUBE

SN: 51714-UP

1шт.

22

07000-02015

O-RING

SN: 45001-UP

1шт.

23

01010-31020

BOLT

SN: 45001-UP

1шт.

24

01602-01030

WASHER,SPRING

SN: 45001-UP

1шт.

25

103-04-22251

TUBE

SN: 51714-UP

1шт.

26

07260-20910

HOSE

SN: 45001-UP

1шт.

27

103-04-22120

TUBE

SN: 45001-UP

1шт.

28

07260-20940

HOSE

SN: 45001-UP

1шт.

29

103-04-22130

TUBE

SN: 45001-UP

1шт.

30

07281-00197

CLAMP

SN: 45001-UP

4шт.

31

130-04-11270

CLIP

SN: 45001-UP

4шт.

32

113-04-22160

CLIP

SN: 45001-UP

2шт.

33

01010-31016

BOLT

SN: 45001-UP

3шт.

35

08036-01814

CLIP

SN: 45001-UP

1шт.

36

113-06-22120

LAMP

SN: 45001-UP

1шт.

37

103-04-22150

NIPPLE

SN: 45001-UP

1шт.

38

07270-01230

TUBE

SN: 50001-UP

1шт.

39

07260-20932

HOSE

SN: 51714-UP

1шт.

Выбрано товаров: 40