Запчасти Komatsu D20P-5 ТОРМОЗНАЯ ЛЕНТА СИСТЕМАУПРАВЛЕНИЯ ПОВОРОТОМ И КОНЕЧНАЯ ПЕРЕДАЧА

Схема запчастей Komatsu D20P-5 - ТОРМОЗНАЯ ЛЕНТА СИСТЕМАУПРАВЛЕНИЯ ПОВОРОТОМ И КОНЕЧНАЯ ПЕРЕДАЧА
FIT
1:1
100%

Артикул

Название

Примечание

Количество

|$0

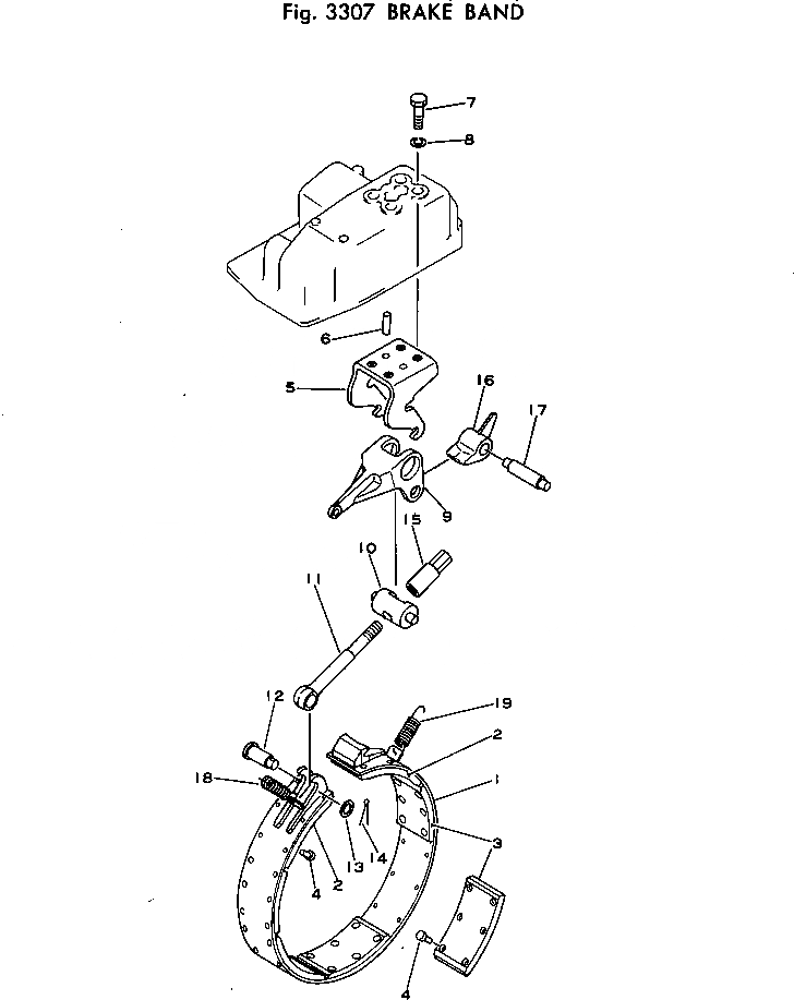
103-33-21213

BRAKE BAND ASS'Y

SN: 53248-UP

2шт.

|$1

0

BRAKE BAND ASS'Y

SN: 45001-53247

2шт.

1

0

BAND

SN: 45001-UP

1шт.

2

103-33-21250

LINING

SN: 45001-UP

2шт.

3

103-33-21231

LINING

SN: 45001-UP

5шт.

4

103-33-21260

RIVET

SN: 53248-UP

42шт.

4

0

RIVET

SN: 45001-53247

42шт.

5

103-33-22191

ANCHOR

SN: 45001-UP

2шт.

6

113-33-22180

PIN,DOWEL

SN: 45001-UP

4шт.

7

01010-31435

BOLT

SN: 45001-UP

8шт.

8

01602-01442

WASHER,SPRING

SN: 45001-UP

8шт.

9

103-33-22211

LEVER

SN: 45001-UP

2шт.

10

103-33-22220

PIN

SN: 45001-UP

2шт.

11

103-33-22270

SHAFT

SN: 45001-UP

2шт.

12

103-33-22360

PIN

SN: 45001-UP

2шт.

13

01641-21423

WASHER

SN: 45001-UP

2шт.

14

04050-04025

PIN,COTTER

SN: 45001-UP

2шт.

15

113-33-22280

NUT

SN: 45001-UP

2шт.

16

103-33-22292

END

SN: 45001-UP

2шт.

17

103-33-22230

SHAFT

SN: 45001-UP

2шт.

18

103-33-21310

SPRING

SN: 45001-UP

2шт.

19

144-33-11260

SPRING

SN: 45001-UP

2шт.

Выбрано товаров: 22