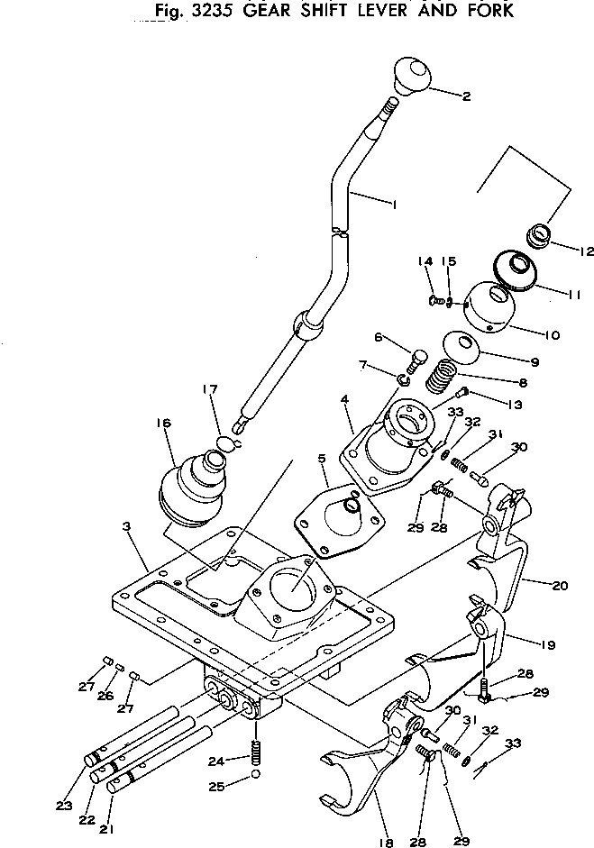
Запчасти Komatsu D20P-5 РЫЧАГ ПЕРЕКЛЮЧЕНИЯ ПЕРЕДАЧ И ВИЛЫ ОСНОВН. МУФТА И ТРАНСМИССИЯ

Схема запчастей Komatsu D20P-5 - РЫЧАГ ПЕРЕКЛЮЧЕНИЯ ПЕРЕДАЧ И ВИЛЫ ОСНОВН. МУФТА И ТРАНСМИССИЯ
FIT
1:1
100%

Артикул

Название

Примечание

Количество

|1

102-14-00020

TRANSMISSION ASS'Y

SN: 45001-UP

1шт.

1

102-14-42141

LEVER

SN: 45001-UP

1шт.

2

09304-01250

KNOB

SN: 45001-UP

1шт.

3

102-14-42111

COVER

SN: 45001-UP

1шт.

4

101-14-11250

SEAT

SN: 45001-UP

1шт.

5

101-14-11260

COVER

SN: 45001-UP

1шт.

6

01010-31025

BOLT

SN: 45001-UP

4шт.

7

01602-01030

WASHER,SPRING

SN: 45001-UP

4шт.

8

100-14-15160

SPRING

SN: 45001-UP

1шт.

9

100-14-15220

COVER

SN: 45001-UP

1шт.

10

100-14-15150

COVER

SN: 45001-UP

1шт.

11

100-14-15140

COVER

SN: 45001-UP

1шт.

12

102-14-18190

STOPPER

SN: 45001-UP

1шт.

13

100-14-15191

PIN

SN: 45001-UP

2шт.

14

01220-40612

SCREW

SN: 45001-UP

4шт.

15

01602-00619

WASHER,SPRING

SN: 45001-UP

4шт.

16

101-14-11240

BELLOWS

SN: 45001-UP

1шт.

17

110-14-13250

CLAMP

SN: 45001-UP

1шт.

18

102-14-18113

FORK,1ST

SN: 45001-UP

1шт.

19

102-14-18133

FORK,2ND

SN: 45001-UP

1шт.

20

102-14-18122

FORK,3RD

SN: 45001-UP

1шт.

21

102-14-16131

SHAFT,1ST

SN: 45001-UP

1шт.

22

100-14-16170

SHAFT,2ND

SN: 45001-UP

1шт.

23

102-14-16220

SHAFT,3RD

SN: 45001-UP

1шт.

24

102-14-18210

SPRING

SN: 45001-UP

3шт.

25

04260-00952

BALL

SN: 45001-UP

3шт.

26

100-14-16210

PIN

SN: 45001-UP

1шт.

27

100-14-16190

PIN

SN: 45001-UP

2шт.

28

01306-00820

SCREW

SN: 45001-UP

3шт.

29

04059-01010

WIRE

SN: 45001-UP

3шт.

30

102-14-16151

BOLT

SN: 45001-UP

2шт.

31

102-14-16160

SPRING

SN: 45001-UP

2шт.

32

01640-00816

WASHER

SN: 45001-UP

2шт.

33

04050-02012

PIN,COTTER

SN: 45001-UP

2шт.

Выбрано товаров: 34